LEMON Manuals: Even more car manuals for everyone: 1960-2025
Home >> Ford >> 2003 >> Explorer 4.6 W, AWD >> Repair and Diagnosis >> Steering >> Power Steering >> Steering System >> Disassembly And Assembly >> Steering Column >> Disassembly and Assembly >> Item 2: Retainer Clip Assembly Note
April 5, 2026: LEMON Manuals is launched! Read the announcement.

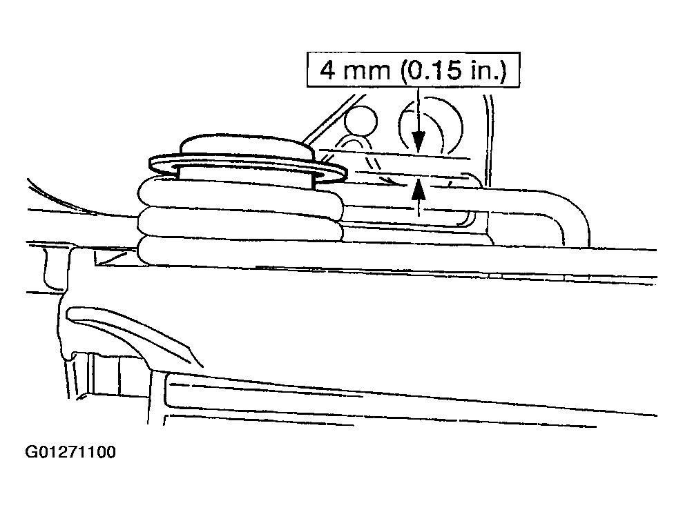
Item 2: Retainer Clip Assembly Note

    CAUTION: Make sure that the retainer is 4 mm (0.16 in) from the top of the post or damage can result.
    Fig 1: Identifying Retainer Dimensions
    G01271100Courtesy of FORD MOTOR CO.
  1. Install the spring retainer.