LEMON Manuals: Even more car manuals for everyone: 1960-2025
Home >> Ford >> 2003 >> Windstar Base >> Repair and Diagnosis >> External Pages >> Different car >> Section 1029 (Engine System-General Information) >> General Procedures >> Cylinder Block Core Plug Replacement
April 5, 2026: LEMON Manuals is launched! Read the announcement.

Cylinder Block Core Plug Replacement

WARNING: This page is about a different car, the 2005 Mercury Mountaineer and 2005 Ford Explorer. However, it is still accessible from the selected car via links, so may be relevant.
SPECIAL TOOL CHART

G03885061
Impact Slide Hammer 100-001 (T50T-100-A)
MATERIAL SPECIFICATION

Item Specification
Threadlock 262 TA-26 WSK-M2G351-A6
  1. Use a slide hammer or tools suitable to remove the cylinder block core plug.
    Fig 1: Removing Cylinder Block Core Plug Using Slide Hammer
    G03885062Courtesy of FORD MOTOR CO.
  2. Inspect the cylinder block plug bore for any damage that would interfere with the correct sealing of the plug. If the cylinder block plug bore is damaged, bore for the next oversize plug.
  3. NOTE: Oversize plugs are identified by the OS stamped in the flat located on the cup side of the plug.
  4. Coat the cylinder block core plug and bore lightly with Threadlock 262 and install the cylinder block core plug.

    Cup-Type 

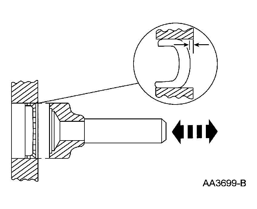
    CAUTION: Use care during this procedure so as not to disturb or distort the cup sealing surface.
    CAUTION: When installed, the flanged edge must be below the chamfered edge of the bore to effectively seal the bore.
    Fig 2: Seating Cup-Type Cylinder Block Core Plug
    G03885063Courtesy of FORD MOTOR CO.
  1. Use a tool suitable to seat the cup-type cylinder block core plug.

    Expansion-Type 

    CAUTION: Do not contact the crown when installing an expansion-type cylinder block core plug. This could expand the plug before seating and result in leakage.
    Fig 3: Seating Expansion-Type Cylinder Block Core Plug
    G03885064Courtesy of FORD MOTOR CO.
  1. Use tool suitable to seat the expansion-type cylinder block core plug.