LEMON Manuals: Even more car manuals for everyone: 1960-2025
Home >> Ford >> 2004 >> Freestar Base >> Repair and Diagnosis >> External Pages >> Different car >> Section 1329 (Anti-Lock Brake System) >> Diagnosis And Testing >> Anti-Lock Control >> Pinpoint Tests >> Pinpoint Test K: The Traction Control System Cannot Be Disabled >> Pinpoint Test K: The Traction Control System Cannot Be Disabled
April 5, 2026: LEMON Manuals is launched! Read the announcement.

Pinpoint Test K: The Traction Control System Cannot Be Disabled

WARNING: This page is about a different car, the 2006 Mercury Montego, 2006 Ford Freestyle, and 2006 Ford Five Hundred. However, it is still accessible from the selected car via links, so may be relevant.
  1. K1 MONITOR THE INSTRUMENT CLUSTER PID 
    • Connect the scan tool.
    • Key in ON position.
    • Enter the following diagnostic mode on the scan tool: Instrument Cluster Traction Control Status PID.
    • Monitor the instrument cluster traction control switch status PID and the traction control disable indicator while pressing the traction control disable switch repeatedly.
    • Does the PID agree with the switch position and does the traction control disable indicator match? 

    Yes:  The system is operating correctly at this time.

    No:  GO to  K2.

  2. K2 CHECK CIRCUIT 1412 (WH/PK) FOR A SHORT TO GROUND 
    • Key in OFF position.
    • Disconnect: Traction Control Switch C2114.
    • Disconnect: Instrument Cluster C220.
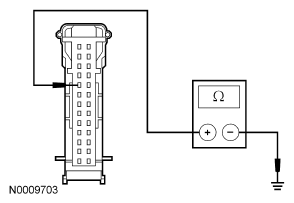
    • Measure the resistance between traction control switch C2114-2, circuit 1412 (WH/PK), harness side and ground.
      Fig 1: Measuring Resistance Between Traction Control Switch C2114-2, Circuit 1412 (WH/PK), Harness Side & Ground
      G04655499Courtesy of FORD MOTOR CO.
    • Is the resistance greater than 10,000 ohms? 

    Yes:  GO to  K3.

    No:  REPAIR the circuit. CLEAR the DTCs. REPEAT the self-test.

  3. K3 CHECK THE TRACTION CONTROL SWITCH INPUT 
    • Connect: Traction Control Switch C2114.
    • Make sure the traction control switch is not pressed (traction control not disabled).
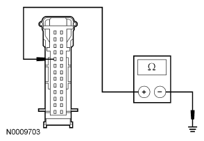
    • Measure the resistance between instrument cluster C220-9, circuit 1412 (WH/PK), harness side and ground.
      Fig 2: Measuring Resistance Between Instrument Cluster C220-9, Circuit 1412 (WH/PK), Harness Side & Ground
      G04655500Courtesy of FORD MOTOR CO.
    • Is the resistance greater than 10,000 ohms? 

    Yes:  GO to  K4.

    No:  INSTALL a new traction control switch. CLEAR the DTCs. REPEAT the self-test.

  4. K4 CHECK THE TRACTION CONTROL SWITCH OPERATION 
    • Key in OFF position.
    • Disconnect: Instrument Cluster C220.
    • Measure the resistance between instrument cluster C220-9, circuit 1412 (WH/PK), harness side and ground while pressing traction control switch C2114.
      Fig 3: Measuring Resistance Between Instrument Cluster C220-9, Circuit 1412 (WH/PK), Harness Side & Ground
      G04655501Courtesy of FORD MOTOR CO.
    • Is the resistance less than 5 ohms? 

    Yes:  GO to  K7.

    No:  GO to  K5.

  5. K5 CHECK CIRCUIT 1412 (WH/PK) FOR AN OPEN 
    • Disconnect: Traction Control Switch C2114.
    • Measure the resistance between instrument cluster C220-9, circuit 1412 (WH/PK), harness side and traction control switch C2114-2, circuit 1412 (WH/PK), harness side.
      Fig 4: Measuring Resistance Between Instrument Cluster C220-9, Circuit 1412 (WH/PK), Harness Side & Traction Control Switch C2114-2, Circuit 1412 (WH/PK), Harness Side
      G04655502Courtesy of FORD MOTOR CO.
    • Is the resistance less than 5 ohms? 

    Yes:  GO to  K6.

    No:  REPAIR the circuit. CLEAR the DTCs. REPEAT the self-test.

  6. K6 CHECK CIRCUIT 1205 (BK) FOR AN OPEN 
    • Measure the resistance between traction control switch C2114-4, circuit 1205 (BK), harness side and ground.
      Fig 5: Measuring Resistance Between Traction Control Switch C2114-4, Circuit 1205 (BK), Harness Side & Ground
      G04655503Courtesy of FORD MOTOR CO.
    • Is the resistance less than 5 ohms? 

    Yes:  INSTALL a new traction control switch. CLEAR the DTCs. REPEAT the self-test.

    No:  REPAIR the circuit. CLEAR the DTCs. REPEAT the self-test.

  7. K7 CHECK FOR CORRECT INSTRUMENT CLUSTER OPERATION 
    • Disconnect: Instrument Cluster C220.
    • Check for:
      • corrosion.
      • pushed-out pins.
    • Connect the instrument cluster connector and make sure it seats correctly.
    • Operate the system and verify the concern is still present.
    • Is the concern still present? 

    Yes:  INSTALL a new instrument cluster. REFER to REMOVAL AND INSTALLATION . CLEAR the DTCs. REPEAT the self-test.

    No:  The system is operating correctly at this time. The concern may have been caused by a loose or corroded connector. CLEAR the DTCs. REPEAT the self-test.