LEMON Manuals: Even more car manuals for everyone: 1960-2025
Home >> Ford >> 2004 >> Freestar Base >> Repair and Diagnosis >> Transmission >> Automatic Transmission >> Assembly >> Transaxle
April 5, 2026: LEMON Manuals is launched! Read the announcement.

Automatic Transmission: Assembly: Transaxle

Special Tool(s) 

Fig 1: Identifying Special Tool (1 Of 3)
G03244998Courtesy of FORD MOTOR CO.
Fig 2: Identifying Special Tool (2 Of 3)
G03244999Courtesy of FORD MOTOR CO.
Fig 3: Identifying Special Tool (3 Of 3)
G03245000Courtesy of FORD MOTOR CO.
MATERIAL

Item Specification
MERCON® V Automatic Transmission Fluid XT-5-QM MERCON® V
  1. Install the parking pawl assembly.
    1. Install the parking pawl and return spring.
    2. Install the parking pawl shaft.
    Fig 4: Installing Parking Pawl Assembly
    G03245001Courtesy of FORD MOTOR CO.
  2. Install the park pawl roll pin.
    Fig 5: Installing Park Pawl Roll Pin
    G03245002Courtesy of FORD MOTOR CO.
  3. Using the special tool, install the cup plug.
    Fig 6: Installing Cup Plug Using Special Tool
    G03245003Courtesy of FORD MOTOR CO.
  4. NOTE: The bolt holes are offset and the drive sprocket can only be aligned one way.
    Fig 7: Installing Stator Support
    G03245004Courtesy of FORD MOTOR CO.
  5. Install the stator support.
  6. Install the stator support bolts.
    Fig 8: Installing Stator Support Bolts
    G03245005Courtesy of FORD MOTOR CO.
  7. Using the special tool, install the converter impeller hub seal.
    Fig 9: Installing Converter Impeller Hub Seal
    G03245006Courtesy of FORD MOTOR CO.
  8. Install the differential carrier thrust bearing.
    1. Install the differential carrier thrust washer.
    2. Install the differential carrier thrust bearing and race (tabs down).
      Fig 10: Installing Differential Carrier Thrust Bearing
      G03245007Courtesy of FORD MOTOR CO.
  9. Install the final drive ring gear.
    Fig 11: Installing Final Drive Ring Gear
    G03245008Courtesy of FORD MOTOR CO.
  10. Install the rear planet support spacer.
    Fig 12: Installing Rear Planet Support Spacer
    G03245009Courtesy of FORD MOTOR CO.
  11. Install the final drive differential assembly.
    Fig 13: Installing Final Drive Differential Assembly
    G03245010Courtesy of FORD MOTOR CO.
  12. Align the rear lube tube holes in the case window.
    Fig 14: Aligning Rear Lube Tube Holes In Case Window
    G03245011Courtesy of FORD MOTOR CO.
  13. NOTE: The retaining ring must be correctly installed.
    Fig 15: Installing Beveled Retaining Ring (1 Of 2)
    G03245012Courtesy of FORD MOTOR CO.
    Fig 16: Identifying Beveled Retaining Ring (2 Of 2)
    G03245013Courtesy of FORD MOTOR CO.
  14. Using the special tool install the beveled retaining ring.
  15. CAUTION: If support is not visible on inside diameter of the retaining ring, the low/intermediate piston could be damaged.
    Fig 17: Ensuring Beveled Retaining Ring Seats Correctly In Case Groove
    G03245014Courtesy of FORD MOTOR CO.
  16. Make sure that the beveled retaining ring seats correctly in the case groove with the bevel down. The final drive support must be visible on the inside diameter of the retaining ring but must not seat against the case wall.
  17. Place a screwdriver into the differential case and pry up to make sure that the retaining ring is fully seated in the top of the case groove.
    Fig 18: Ensuring Retaining Ring Is Fully Seated In Top Of The Case Groove
    G03245015Courtesy of FORD MOTOR CO.
  18. Install the special tools.
    Fig 19: Installing Special Tools
    G03245016Courtesy of FORD MOTOR CO.
  19. Remove the No. 15 needle bearing.
    Fig 20: Removing No. 15 Needle Bearing
    G03245017Courtesy of FORD MOTOR CO.
  20. NOTE: The dial indicator extension rod must set on the No. 15 bearing surface.
    Fig 21: Installing Special Tools
    G03245018Courtesy of FORD MOTOR CO.
  21. Install the special tools.
  22. Install the special tools and zero the dial indicator.
    Fig 22: Install & Zero Dial Indicator
    G03245019Courtesy of FORD MOTOR CO.
  23. Tighten the bolt.
    Fig 23: Tightening Bolt
    G03245020Courtesy of FORD MOTOR CO.
  24. Read and record the dial indicator reading. If the dial indicator reading indicates movement greater than specification, the next larger beveled ring retainer will need to be used.
    Fig 24: Recording Dial Indicator Reading
    G03245021Courtesy of FORD MOTOR CO.
  25. Select the correct beveled retaining ring.
    BEVELED RETAINING RING SPECIFICATIONS

    G03245022
    Item Part Number Thickness Style
    1 F5DZ-7D483-E 1.48-1.63 mm (0.058-0.064 in) 5
    2 F5DZ-7D483-D 1.54-1.68 mm (0.061-0.067 in) 4
    3 F5DZ-7D483-C 1.60-1.75 mm (0.063-0.069 in) 3
    4 F5DZ-7D483-B 1.66-1.81 mm (0.065-0.071 in) 2
    5 F5DZ-7D483-A 1.72-1.87 mm (0.068-0.074 in) 1
  26. NOTE: Make sure the No. 15 needle bearing is on the rear planet support hub and the black plastic No. 15 thrust washer is in place on top of the low/intermediate clutch spring retainer.
    Fig 25: Installing No. 15 Thrust Bearing
    G03245023Courtesy of FORD MOTOR CO.
  27. Install the No. 15 thrust bearing.
  28. Check the clearance for the No. 16 thrust washer. Mount the Dial Indicator with the stylus on the end of the output shaft. Zero the dial indicator.
    Fig 26: Checking Clearance For No. 16 Thrust Washer By Dial Indicator
    G03245024Courtesy of FORD MOTOR CO.
  29. Tighten the bolt. Read and record the dial indicator reading.
    Fig 27: Tightening Bolt
    G03245025Courtesy of FORD MOTOR CO.
  30. NOTE: The beveled retaining ring and the rear planet support must be removed to change the No. 16 thrust race.
    Fig 28: Checking Clearance For No. 16 Thrust Washer By Dial Indicator
    G03245026Courtesy of FORD MOTOR CO.
  31. If the clearance is not within specification, a thicker or thinner washer will need to be added.
    NO. 16 THRUST RACE (WASHER) SPECIFICATIONS

    Thickness ID
    2.25-2.15 mm Green (No. 1)
    2.37-2.27 mm Blue (No. 2)
    2.49-2.39 mm Black (No. 3)
    2.61-2.51 mm White (No. 4)
    2.73-2.63 mm Brown (No. 5)
    2.85-2.75 mm Gold (No. 6)
  32. Install the low-intermediate one-way clutch assembly.
    Fig 29: Installing Low-Intermediate One-Way Clutch Assembly
    G03245027Courtesy of FORD MOTOR CO.
  33. NOTE: The friction plate internal splines will center the one-way clutch.
    Fig 30: Installing Low-Intermediate Clutch Pressure Plate
    G03245028Courtesy of FORD MOTOR CO.
  34. Install the low-intermediate clutch pressure plate.
    1. Install the low-intermediate clutch wave spring.
    2. Install the low-intermediate clutch pack.
    3. Install the low-intermediate clutch pressure plate.
  35. CAUTION: Make sure that the retaining ring is seated in the case groove.
    Fig 31: Installing Low-Intermediate Clutch Retaining Ring
    G03245029Courtesy of FORD MOTOR CO.
  36. Install the low-intermediate clutch retaining ring.
  37. WARNING: To prevent injury, wear eye protection when using pressurized air.
    NOTE: Be sure the pressurized air is dry and regulated at 276 kPa (40 psi).
    Fig 32: Applying Regulated Air Pressure To Low-Intermediate Apply Port
    G03245030Courtesy of FORD MOTOR CO.
  38. Apply regulated air pressure to the low-intermediate apply port. Make sure that the piston moves and no air is leaking past the piston seal.
  39. Measure the clearance between the clutch pressure plate and the low-intermediate clutch retainer. If the clearance is not within specification a thicker or thinner retainer may be needed.
    LOW-INTERMEDIATE CLUTCH SELECTIVE RETAINING RING SPECIFICATIONS

    Thickness
    1.54-1.64 mm (0.061-0.065 inch)
    2.08-2.18 mm (0.082-0.086 inch)
    2.62-2.72 mm (0.103-0.107 inch)
    3.16-3.26 mm (0.125-0.128 inch)
    3.68-3.78 mm (0.145-0.149 inch)
    Fig 33: Measuring Clearance Between Clutch Pressure Plate And Low-Intermediate Clutch Retainer
    G03245031Courtesy of FORD MOTOR CO.
  40. Install the coast band.
    1. Install the coast band.
    2. Align the anchor pin pocket with the anchor pin in the case.
    Fig 34: Installing Coast Band
    G03245032Courtesy of FORD MOTOR CO.
  41. Install the low-intermediate drum. Rotate the low-intermediate drum and sun gear into the low-intermediate one-way clutch.
    Fig 35: Installing Low-Intermediate Drum
    G03245033Courtesy of FORD MOTOR CO.
  42. Install the park rod abutment and make sure that the park pawl moves freely.
    Fig 36: Installing Park Rod Abutment
    G03245034Courtesy of FORD MOTOR CO.
  43. Install the coast band piston cover.
    1. Install the coast band servo piston spring.
    2. Install the coast band servo piston.
    3. Install the coast band servo piston cover.
    Fig 37: Installing Coast Band Servo Piston Cover
    G03245035Courtesy of FORD MOTOR CO.
  44. Using the special tool, install the coast servo cover retaining ring.
    Fig 38: Installing Coast Servo Cover Retaining Ring
    G03245036Courtesy of FORD MOTOR CO.
  45. Using the special tools, install the front planetary/reverse clutch assembly.
    Fig 39: Installing Front Planetary/Reverse Clutch Assembly
    G03245037Courtesy of FORD MOTOR CO.
  46. Make sure that the reverse clutch cylinder apply tube hole is aligned with the case hole. Remove the tool.
    Fig 40: Identifying Reverse Clutch Cylinder Apply Tube Hole Is Aligned With Case Hole
    G03245038Courtesy of FORD MOTOR CO.
  47. Loosely install the reverse clutch anchor pin.
    Fig 41: Installing Reverse Clutch Anchor Pin
    G03245039Courtesy of FORD MOTOR CO.
  48. Using the special tool install the forward/intermediate clutch assembly. Align the shell and sun gear into the front planet.
    Fig 42: Installing Forward/Intermediate Clutch Assembly
    G03245040Courtesy of FORD MOTOR CO.
  49. Install the overdrive band.
    Fig 43: Installing Overdrive Band
    G03245041Courtesy of FORD MOTOR CO.
  50. NOTE: The foot of the overdrive retainer goes down against the band.
    Fig 44: Installing Overdrive Band Anchor Strut With Cross Hairs Facing Up
    G03245042Courtesy of FORD MOTOR CO.
  51. Install the overdrive band anchor strut with the cross hairs facing up.
  52. Remove the No. 8 sprocket thrust washer and the No. 9 bearing and race from the driven sprocket support.
    1. Remove the No. 9 bearing and race.
    2. Remove the No. 8 sprocket support.
    Fig 45: Removing No. 8 Sprocket Thrust Washer And No. 9 Bearing And Race
    G03245043Courtesy of FORD MOTOR CO.
  53. Install only the No. 9 needle bearing with the outer lip up.
    Fig 46: Installing No. 9 Needle Bearing With Outer Lip Up
    G03245044Courtesy of FORD MOTOR CO.
  54. Install the special tool over the output shaft until it is fully seated on to the No. 9 needle bearing.
    Fig 47: Installing Special Tool Over Output Shaft
    G03245045Courtesy of FORD MOTOR CO.
  55. Install the special tool to make the measurements.
    Fig 48: Installing Special Tool To Make Measurements
    G03245046Courtesy of FORD MOTOR CO.
  56. When taking the measurement, record readings on both sides of the output shaft 180 degrees apart from each other. Add both readings and divide by two to obtain reading A.
    Fig 49: Recording Readings On Both Sides Of Output Shaft
    G03245047Courtesy of FORD MOTOR CO.
  57. NOTE: Reading A and Dimension C from the chart will be used in the selection of the No. 5 thrust washer.
  58. Use the reading A to select the correct No. 8 thrust washer from the chart.
    NO. 8 THRUST WASHER SELECTION CHART

    Reading A Washer Thickness Dimension C Color/ID
    42.88-43.10 mm (1.688-1.696 inch) 1.43-1.53 mm (0.056-0.060 inch) 1.48 mm (0.058 inch) Natural (No. 1)
    43.11-43.34 mm (1.697-1.706 inch) 1.68-1.78 mm (0.066-0.070 inch) 1.73 mm (0.068 inch) Dark Green (No. 2)
    43.35-43.59 mm (1.707-1.716 inch) 1.92-2.02 mm (0.075-0.080 inch) 1.97 mm (0.077 inch) Light Blue (No. 3)
    43.60-43.77 mm (1.717-1.723 inch) 2.17-2.27 mm (0.085-0.089 inch) 2.22 mm (0.087 inch) Red (No. 4)
    43.78-43.98 mm (1.724-1.731 inch) 2.35-2.45 mm (0.093-0.096 inch) 2.40 mm (0.094) Black (No. 5)
  59. Remove the special tools.
    Fig 50: Removing Special Tools
    G03245048Courtesy of FORD MOTOR CO.
  60. Install the special tools to make the measurements.
    Fig 51: Installing Special Tools To Make Measurements
    G03245049Courtesy of FORD MOTOR CO.
  61. Measure down to the No. 5 thrust washer mating surface of the overdrive drum. Take another reading on the other side of the drum 180 degrees from the first one. Add both readings and divide by two to obtain reading B.
    Fig 52: Measuring Down To No. 5 Thrust Washer Mating Surface Of Overdrive Drum
    G03245050Courtesy of FORD MOTOR CO.
  62. Remove the special tools.
    Fig 53: Removing Special Tools
    G03245051Courtesy of FORD MOTOR CO.
  63. NOTE: Reading A was obtained during No. 8 thrust washer selection. Dimension C is found on the No. 8 thrust washer selection chart.
  64. Subtract reading A from reading B and add the difference between A and B to dimension C. Record this reading as D.
    Reading B:_____  
    - Reading A:_____
    Difference:_____
    +Dimension C:_____
    Reading D:_____
  65. Use Reading D to select the correct No. 5 thrust washer.
    NO. 5 SUPPORT THRUST WASHER CHART

    Reading D Washer Thickness Color/ID
    26.08-26.37 mm (1.027-1.038 inch) 2.18-2.28 mm (0.086-0.090 inch) Green (No. 1)
    26.38-26.61 mm (1.039-1.047 inch) 2.43-2.53 mm (0.096-0.100 inch) Black (No. 2)
    26.62-26.86 mm (1.048-1.057 inch) 2.67-2.77 mm (0.105-0.109 inch) Natural (No. 3)
    26.87-27.15 mm (1.058-1.068 inch) 2.92-3.02 mm (0.115-0.119 inch) Red (No. 4)
    27.16-27.50 mm (1.069-1.083 inch) 3.26-3.36 mm (0.128-0.132 inch) Blue (No. 5)
  66. NOTE: Use petroleum jelly to hold the No. 5 thrust washer in place.
    Fig 54: Installing No. 5 Front Support Thrust Washer
    G03245052Courtesy of FORD MOTOR CO.
  67. Install the No. 5 front support thrust washer.
  68. CAUTION: The No. 9 direct hub needle bearing may still be inside the transaxle from the No. 8 driven sprocket support thrust washer selection procedure. Use petroleum jelly to hold bearing and washer in place.
    Fig 55: Installing Correct No. 8 Driven Sprocket Support Thrust Washer & No. 9 Direct Clutch Needle Bearing
    G03245053Courtesy of FORD MOTOR CO.
  69. Install the correct bearing.
    1. Install the correct No. 8 driven sprocket support thrust washer.
    2. Install the No. 9 direct clutch needle bearing.
  70. Install the driven sprocket support assembly.
    Fig 56: Installing Driven Sprocket Support Assembly
    G03245054Courtesy of FORD MOTOR CO.
  71. Install the neutral/drive accumulator cover.
    1. Install the neutral/drive accumulator piston.
    2. Install the neutral/drive accumulator springs.
      • The outer spring is yellow in color.
      • The inner spring is grey in color.
    3. Install the neutral/drive accumulator cover.
    Fig 57: Installing Neutral/Drive Accumulator Cover
    G03245055Courtesy of FORD MOTOR CO.
  72. Install the bolt.
    Fig 58: Installing Bolt
    G03245056Courtesy of FORD MOTOR CO.
  73. NOTE: All the fluid supply tubes must have new O-rings installed.
    Fig 59: Installing Fluid Supply Tubes
    G03245057Courtesy of FORD MOTOR CO.
  74. Install the fluid supply tubes.
  75. Install the brackets.
    Fig 60: Installing Brackets
    G03245058Courtesy of FORD MOTOR CO.
  76. Using the special tool, install the manual control lever shaft seal.
    Fig 61: Installing Manual Control Lever Shaft Seal
    G03245059Courtesy of FORD MOTOR CO.
  77. Install the parking lever actuating rod.
    • Push in on the park pawl.
    • Slide down the parking lever actuating rod to fit in the park pawl.
    Fig 62: Installing Parking Lever Actuating Rod
    G03245060Courtesy of FORD MOTOR CO.
  78. NOTE: The manual control valve detent lever must be installed with the shoulder and roll pin hole pointing toward the driven sprocket support.
    Fig 63: Installing Manual Control Lever Shaft
    G03245061Courtesy of FORD MOTOR CO.
  79. Install the manual control lever shaft.
  80. NOTE: Prior to installing the roll pins be sure that the manual control valve detent lever shoulder and roll pin hole is pointing toward the driven sprocket support.
    Fig 64: Installing Roll Pins
    G03245062Courtesy of FORD MOTOR CO.
  81. Install the roll pins.
  82. NOTE: Apply petroleum jelly to the drive sprocket thrust washer and driven sprocket thrust washer to hold them in place.
    Fig 65: Installing No. 2 & No. 4 Driven Sprocket Thrust Washers
    G03245063Courtesy of FORD MOTOR CO.
  83. Install the thrust washers.
    1. Install the No. 2 drive sprocket thrust washer.
    2. Install the No. 4 driven sprocket thrust washer.
  84. CAUTION: Be careful not to damage or bend the exciter tabs on the driven sprocket speed sensor wheel. The TSS sensor will not operate correctly if the tabs are bent.
    NOTE: Lower the assembly into the sprocket supports simultaneously.
    Fig 66: Installing Drive Chain And Sprockets
    G03245064Courtesy of FORD MOTOR CO.
  85. Install the drive chain and sprockets.
  86. Install the shift accumulator springs.
    1. Install the 1-2 shift accumulator piston inner assist springs.
    2. Install the 1-2 shift accumulator piston outer springs.
    3. Install the 2-3 shift accumulator piston inner assist spring.
    4. Install the 2-3 shift accumulator piston outer spring.
    5. Install the reverse shift accumulator piston spring.
    6. Install the 3-4 shift accumulator piston spring.
    Fig 67: Installing Shift Accumulator Springs
    G03245065Courtesy of FORD MOTOR CO.
  87. NOTE: Make sure that the alignment pins are installed in the case.
    Fig 68: Installing New Chain Cover Gasket
    G03245066Courtesy of FORD MOTOR CO.
  88. Install the new chain cover gasket.
  89. CAUTION: Be extremely careful not to damage the cast iron sealing ring.
    Fig 69: Installing Thrust Washers And Chain Cover
    G03245067Courtesy of FORD MOTOR CO.
  90. Use petroleum jelly to hold thrust washers in place during assembly.
    1. Install the No. 1 thrust washer.
    2. Install the No. 2 thrust washer.
    3. Install the chain cover.
  91. NOTE: After installing the chain cover the input shaft should have some end play and should rotate freely. Apply gentle downward pressure on the chain cover to overcome spring pressure.
    Fig 70: Starting 2 Chain Cover Bolts
    G03245068Courtesy of FORD MOTOR CO.
  92. Start two bolts.
  93. Install the remaining bolts.
    Fig 71: Installing Remaining Bolts
    G03245069Courtesy of FORD MOTOR CO.
  94. Install the bolts.
    Fig 72: Installing Bolts
    G03245070Courtesy of FORD MOTOR CO.
  95. CAUTION: The test spring from the overdrive servo rod tool is plain in color and has a shorter free height than the operational spring. Extreme care must be used not to assemble the transaxle using the test spring.
    Fig 73: Inspecting Test Spring Height
    G03245071Courtesy of FORD MOTOR CO.
  96. Inspect the spring height.
    1. Test spring
    2. Original spring
  97. Overdrive servo travel check. Install the overdrive servo piston.
    1. Install the test spring.
    2. Install the overdrive servo piston.
    Fig 74: Checking Overdrive Servo Piston
    G03245072Courtesy of FORD MOTOR CO.
  98. Install the special tools.
    Fig 75: Installing Special Tools
    G03245073Courtesy of FORD MOTOR CO.
  99. Using the special tools, tighten the center screw and zero out the dial indicator.
    Fig 76: Tightening Center Screw And Zero Out Dial Indicator
    G03245074Courtesy of FORD MOTOR CO.
  100. Using the special tools, back off the center screw until the piston movement stops and read the dial indicator. The reading should be within specification. If the reading does not match the specification, see the overdrive specification chart and determine which overdrive servo rod to use.
    Fig 77: Reading Dial Indicator Measurement
    G03245075Courtesy of FORD MOTOR CO.
  101. If the overdrive servo travel was incorrect install a new overdrive servo rod. Zero the dial indicator and repeat the above step to verify the amount of piston travel. If within specification, remove the tool and test spring.
    OVERDRIVE SERVO ROD SELECTION CHART

    Overdrive Servo Rod Length Number of Grooves(1)
    mm Inch
    99.33 3.91 0
    98.05 3.86 1
    96.78 3.81 2

    (1) Grooves are at the tip

  102. CAUTION: Do not assemble the transaxle using the test spring.
    Fig 78: Installing Overdrive Servo
    G03245076Courtesy of FORD MOTOR CO.
  103. Install the overdrive servo.
    1. Install the overdrive servo spring.
    2. Install the overdrive servo.
    3. Install the overdrive servo cover and bolts.
  104. Install the special tool.
    Fig 79: Installing Special Tool
    G03245077Courtesy of FORD MOTOR CO.
  105. WARNING: Wear safety glasses while carrying out this procedure to prevent personal injury.
    NOTE: When applying regulated 276 kPa (40 psi) air pressure to the appropriate passage, a dull thud should be heard when the clutch or band applies. There should be no hissing sound when the clutch or band applies.
    NOTE: Plugging the vent hole during the test will provide an inaccurate result.
    Fig 80: Identifying Air Pressure Check Points
    G03245078Courtesy of FORD MOTOR CO.
  106. Cover the vent hole in the test plate with a clean lint free shop towel to prevent spray when air is applied. Apply air pressure to the appropriate clutch ports.
  107. CAUTION: The seals must be lapped correctly or internal leakage will occur.
    Fig 81: Installing New Teflon® Seals On Pump Shaft
    G03245079Courtesy of FORD MOTOR CO.
  108. Install the new Teflon® seals on the pump shaft.
  109. Install the pump shaft.
    Fig 82: Installing Pump Shaft
    G03245080Courtesy of FORD MOTOR CO.
  110. Install the manual valve detent lever.
    Fig 83: Installing Manual Valve Detent Lever
    G03245081Courtesy of FORD MOTOR CO.
  111. Install the main control valve body over the pump shaft and connect the main control valve actuating rod while pushing down until it is seated on the chain cover.
    Fig 84: Installing Main Control Valve Body Over Pump Shaft
    G03245082Courtesy of FORD MOTOR CO.
  112. CAUTION: Do not use the bolts to draw pump assembly and main control valve body onto the chain cover case. Component damage may occur.
    Fig 85: Installing Pump Assembly And Main Control Valve Body
    G03245083Courtesy of FORD MOTOR CO.
  113. Install the pump assembly and main control valve body. Using the special tools, loosely install the bolts.
  114. Remove the special tools and install the two bolts in their place. Tighten all the bolts in the sequence shown.
    Fig 86: Removing Special Tools
    G03245084Courtesy of FORD MOTOR CO.
  115. Connect the connectors.
    Fig 87: Connecting Connectors
    G03245085Courtesy of FORD MOTOR CO.
  116. NOTE: The transaxle side cover gasket is reusable if not torn or ripped.
    Fig 88: Removing Gasket
    G03245086Courtesy of FORD MOTOR CO.
  117. Remove the gasket. Clean and inspect the gasket, reinstall into the pan.
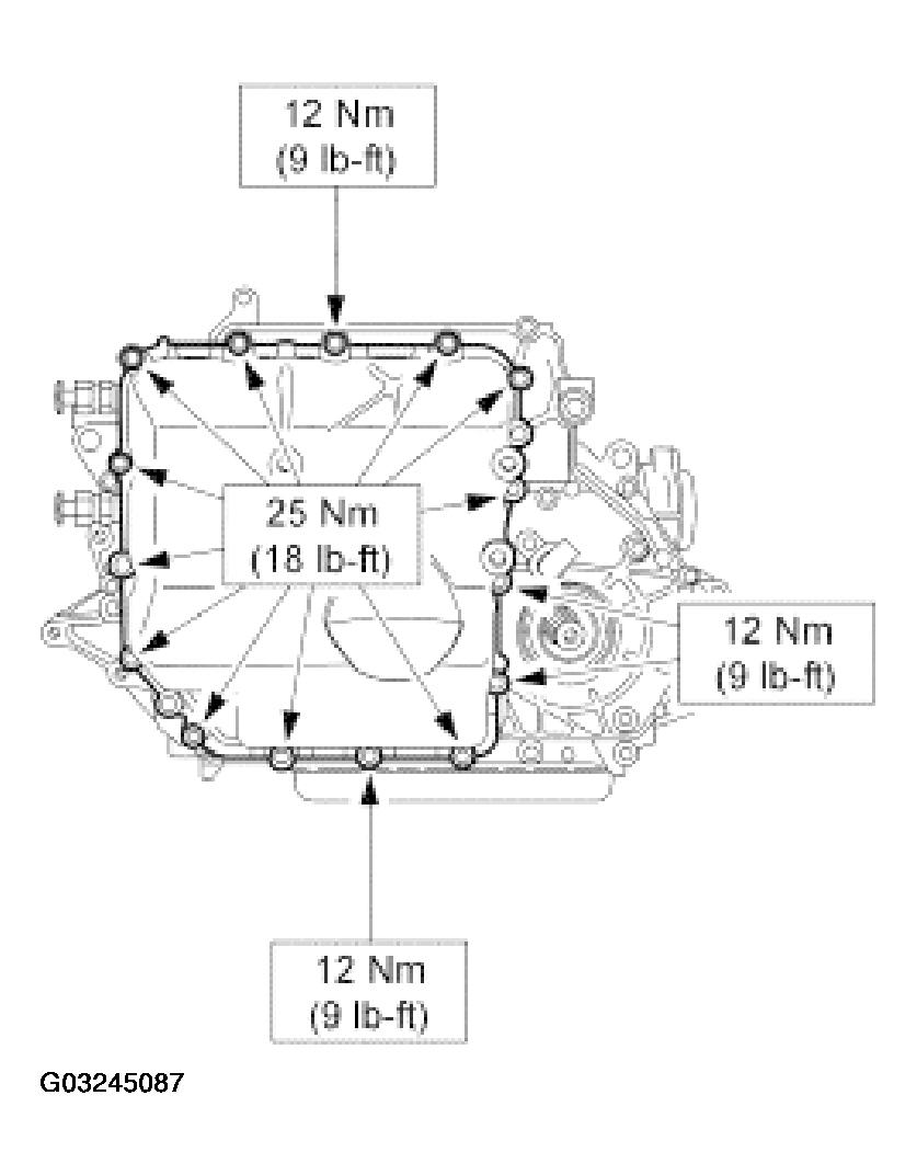
  118. Install the transmission fluid pan.
    Fig 89: Installing Transmission Fluid Pan
    G03245087Courtesy of FORD MOTOR CO.
  119. Install the rear transmission mount insulator bracket and mount.
    Fig 90: Installing Rear Transmission Mount Insulator Bracket And Mount
    G03245088Courtesy of FORD MOTOR CO.
  120. Tighten the reverse clutch anchor bolt.
    1. Tighten the anchor bolt.
    2. Tighten the locknut.
    Fig 91: Tightening Reverse Clutch Anchor Bolt
    G03245089Courtesy of FORD MOTOR CO.
  121. Install the new fluid filter and seal assembly.
    Fig 92: Installing Fluid Filter And Seal Assembly
    G03245090Courtesy of FORD MOTOR CO.
  122. Install the fluid pan magnet.
    Fig 93: Installing Fluid Pan Magnet
    G03245091Courtesy of FORD MOTOR CO.
  123. NOTE: The gasket is reusable if not damaged or torn.
    Fig 94: Installing Transmission Fluid Pan And Gasket
    G03245092Courtesy of FORD MOTOR CO.
  124. Install the transmission fluid pan and gasket.
  125. Install the turbine shaft speed (TSS) sensor.
    1. Install the sensor.
    2. Install the bolt.
    Fig 95: Installing Turbine Shaft Speed (TSS) Sensor
    G03245093Courtesy of FORD MOTOR CO.
  126. Verify that the shift selector lever is in NEUTRAL.
  127. Install the digital TR sensor and loosely install the bolts.
    Fig 96: Installing Digital TR Sensor
    G03245094Courtesy of FORD MOTOR CO.
  128. Using the special tool, align the digital TR sensor and tighten the bolts.
    Fig 97: Aligning/Tightening Digital TR Sensor
    G03245095Courtesy of FORD MOTOR CO.
  129. Install the fluid filler tube with a new grommet.
    Fig 98: Installing Fluid Filler Tube With Grommet
    G03245096Courtesy of FORD MOTOR CO.
  130. Using the special tool, install the LH output shaft seal.
    Fig 99: Installing LH Output Shaft Seal
    G03245097Courtesy of FORD MOTOR CO.
  131. Using the special tool, install the RH output shaft seal.
    Fig 100: Installing RH Output Shaft Seal
    G03245098Courtesy of FORD MOTOR CO.
  132. CAUTION: Make sure that the output shaft speed (OSS) sensor is fully seated in the transaxle case or damage to the sensor bracket will occur and possibly set a faulty DTC code.
    Fig 101: Installing Output Shaft Speed (OSS) Sensor
    G03245099Courtesy of FORD MOTOR CO.
  133. Install the output shaft speed (OSS) sensor and reconnect the harness.
  134. Install the output shaft speed (OSS) sensor cover.
    Fig 102: Installing Output Shaft Speed (OSS) Sensor Cover
    G03245100Courtesy of FORD MOTOR CO.
  135. Install the heat shield.
    Fig 103: Installing Heat Shield
    G03245101Courtesy of FORD MOTOR CO.
  136. Install the identification tag, if removed.
    Fig 104: Installing Identification Tag
    G03245102Courtesy of FORD MOTOR CO.
  137. Using the special tools, install the torque converter.
Fig 105: Installing Torque Converters
G03245103Courtesy of FORD MOTOR CO.