LEMON Manuals: Even more car manuals for everyone: 1960-2025
Home >> Ford >> 2004 >> Freestar Base >> Repair and Diagnosis >> Transmission >> Automatic Transmission >> Disassembly And Assembly Of Subassemblies >> Main Control Valve Body >> Assembly
April 5, 2026: LEMON Manuals is launched! Read the announcement.

Main Control Valve Body: Assembly

  1. If removed, position a new valve body sleeve with the notch and the hole in the sleeve with the valve body passage hole aligned.
    Fig 1: Positioning/Aligning Valve Body Sleeve
    G03244791Courtesy of FORD MOTOR CO.
  2. Using the special tool and a suitable press, install the new sleeve in the valve body.
    Fig 2: Installing Valve Body Sleeve
    G03244792Courtesy of FORD MOTOR CO.
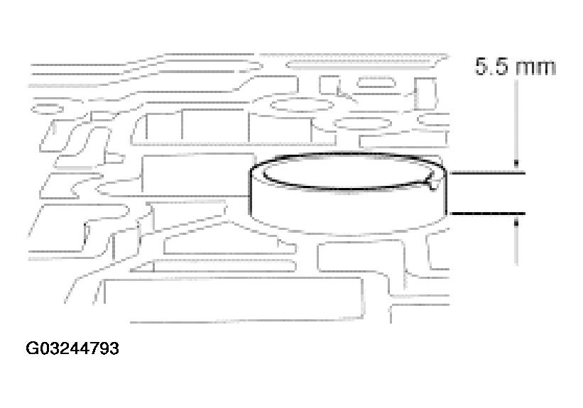
  3. Verify that the valve body sleeve extends 5.5 mm (0.21 in) above the valve body sleeve.
    Fig 3: Identifying Valve Body Sleeve Dimensions
    G03244793Courtesy of FORD MOTOR CO.
  4. Verify that the holes in the valve body sleeve align with the passage hole in the valve body.
    Fig 4: Aligning Valve Body Sleeve Hole With Valve Body Passage Hole
    G03244794Courtesy of FORD MOTOR CO.
  5. CAUTION: Do not stone or polish any of the valves. If the valves do not move freely during assembly install a new valve body.
  6. Install the valves and springs.
  7. Install the check balls.
    IDENTIFYING B1-B4 CHECK BALL LOCATIONS

    G03244795
    Item Check Ball Location
    1 B4
    2 B1
    3 B3
    4 B2
  8. Install the relief valves and springs.
    1. Install the modulator check valve and spring.
    2. Install the manual low relief valve and drain back spring.
    3. Install the manual low relief valve and cooler bypass spring.
    Fig 5: Installing Relief Valves And Springs
    G03244796Courtesy of FORD MOTOR CO.
  9. Install new filters.
    1. Install a new solenoid regulator filter.
    2. Install a new torque converter clutch filter.
    Fig 6: Installing Solenoid Regulator & Torque Converter Clutch Filters
    G03244797Courtesy of FORD MOTOR CO.
  10. CAUTION: Verify correct alignment of the relief and check valves to the separator plate before tightening the bolts. If the relief and check valves are incorrectly installed, the transaxle will not operate correctly.
    NOTE: The new gaskets are bonded to the separator plate.
    Fig 7: Installing Valve Body Separator Plates
    G03244798Courtesy of FORD MOTOR CO.
  11. Install new valve body separator plate with bonded gasket and bolts.