LEMON Manuals: Even more car manuals for everyone: 1960-2025
Home >> Ford >> 2005 >> Excursion 6.0 P, RWD >> Repair and Diagnosis (Single Page) >> Accessories & Equipment >> Accessories Control Systems >> Component Testing >> Component Testing >> Window adjust switch >> Schematic
April 5, 2026: LEMON Manuals is launched! Read the announcement.

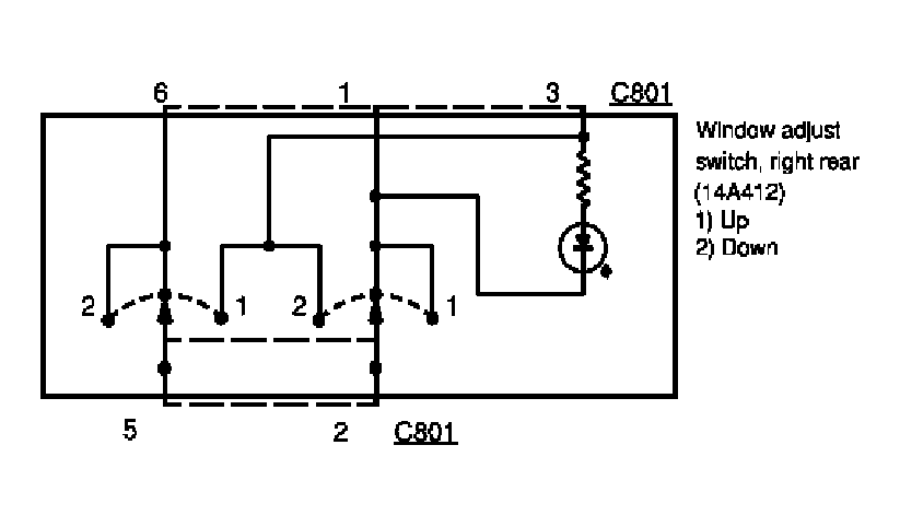
Window adjust switch: Schematic

Fig 1: Window Adjust Switch - Schematic
G03987518Courtesy of FORD MOTOR CO.