LEMON Manuals: Even more car manuals for everyone: 1960-2025
Home >> Ford >> 2005 >> Excursion 6.8 S, RWD >> Repair and Diagnosis (Single Page) >> Accessories & Equipment >> Accessories Control Systems >> Component Testing >> Component Testing >> Multifunction Switch (Turn Portion) >> Schematic
April 5, 2026: LEMON Manuals is launched! Read the announcement.

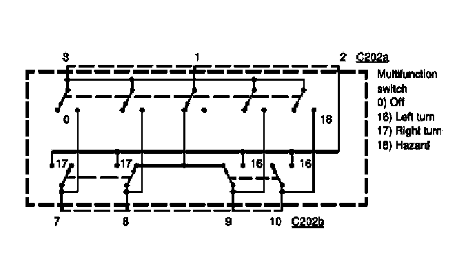
Multifunction Switch (Turn Portion): Schematic

Fig 1: Multifunction Switch Schematic (Turn Portion)
G03987514Courtesy of FORD MOTOR CO.