Automatic Transmission: Assembly: Transaxle
SPECIAL TOOL(S)
| Dial Indicator Gauge With Holding Fixture 100-002 (TOOL-4201-C) |
|
| Step Plate 205-D014 (D80L-630-3) |
|
| Installer, Steering Gear Pinion Bearing 211-161 (T90C-3504-DH) |
|
| Depth Micrometer 303-D075 (D92P-4201-A) |
|
| Retaining Ring Pliers 307-343 (T95P-77001-AHR) |
|
| Handle, Torque Converter 307-091 (T81P-7902-C) |
|
| Test Plate Screw Set, Transmission 307-126 (T82P-7006-C) |
|
| Air Test Plate, Transmission 307-312 (T94P-77001-EH) |
|
| Gasket, Transmission Air Test Plate 307-313 (T94P-77001-EH1) |
|
| Installer, Halfshaft Output Fluid Seal 307-157 (T86P-1177-B) |
|
| Gauge, Servo Rod 307-162 (T86P-70023-B) |
|
| Holding Fixture Transmission 307-003 (T57L-500-B) |
|
| Lifting Fixture, Clutch Pack 307-171 (T86P-70389-A) |
|
| Installer, Torque Converter Fluid Seal 307-186 (T87L-77837-AH) |
|
| End Play Gauge 307-187 (T87P-70014-AH) |
|
| Remover/Installer, Servo Piston 307-251 (T92P-70023-A) |
|
| Shim Selection Gauge Bar 307-300 (T94P-77000-Q) |
|
| Remover, Reverse Clutch/Planet 307-314 (T94P-77001-FH) |
|
| Aligner, Output Shaft Fluid Seal 307-317 (T94P-77001-JH) |
|
| Shim Selection Gauge 307-320 (T94P-77001-MH) |
|
| Shim Depth Gauge 307-321 (T94P-77001-NH) |
|
| Alignment Gauge, TR Sensor 307-351 (T97L-70010-A) |
|
| Remover/Installer Bearing Tube 308-025 (T75L-7025-C) |
|
| Remover, Bearing Collet Sleeve 308-049 (T77F-7025-C) |
- Install the parking pawl assembly.
- Install the parking pawl and return spring.
- Install the parking pawl shaft.
- Install the park pawl roll pin.
- Using the special tool, install the cup plug.
- Install the stator support.
- Install the stator support bolts.
- Tighten to 13 Nm (10 lb-ft).
- Using the special tool, install the converter impeller hub seal.
- Install the differential carrier thrust bearing.
- Install the differential carrier thrust washer.
- Install the differential carrier thrust bearing and race (tabs down).
- Install the final drive ring gear.
- Install the rear planet support spacer.
- Install the final drive differential assembly.
- Align the rear lube tube holes in the case window.
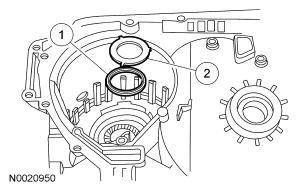
- Using the special tool, install the beveled retaining ring.
- Make sure that the beveled retaining ring seats correctly in the case groove with the bevel down. The final drive support must be visible on the inside diameter of the retaining ring but must not seat against the case wall.
- Place a screwdriver into the differential case and pry up to make sure that the retaining ring is fully seated in the top of the case groove.
- Install the special tools.
- Remove the No. 15 needle bearing.
- Install the special tools.
- Install the special tool and zero the dial indicator.
- Tighten the bolt.
- Tighten to 1.5 Nm (12 lb-in).
- Read and record the dial indicator reading. If the dial indicator reading indicates movement more than the specification, the next larger beveled ring retainer will need to be used.
- Select the correct beveled retaining ring.ITEM DESCRIPTION
Item Part Number Thickness Style 1 F5DZ-TD483-E 1.48-1.63 mm (0.058-0.064 inch) Style 5 2 F5DZ-TD483-D 1.54-1.68 mm (0.061-0.067 inch) Style 4 3 F5DZ-TD483-C 1.60-1.75 mm (0.063-0.069 inch) Style 3 4 F5DZ-TD483-B 1.66-1.81 mm (0.065-0.071 inch) Style 2 5 F5DZ-TD483-A 1.72-1.87 mm (0.068-0.074 inch) Style 1 - Install the No. 15 thrust bearing.
- Check the clearance for the No. 16 thrust washer. Mount the Dial Indicator with the stylus on the end of the output shaft. Zero the dial indicator.
- Tighten the bolt. Read and record the dial indicator reading.
- Tighten to 1.5 Nm (12 lb-in).
- If the clearance is not within specification a thicker or thinner washer will need to be added.NO. 16 THRUST RACE (WASHER)
Thickness ID 2.25-2.15 mm Green (No. 1) 2.37-2.27 mm Blue (No. 2) 2.49-2.39 mm Black (No. 3) 2.61-2.51 mm White (No. 4) 2.73-2.63 mm Brown (No. 5) 2.85-2.75 mm Gold (No. 6) - Install the low/intermediate one-way clutch assembly.
- Install the low/intermediate clutch pressure plate.
- Install the low/intermediate clutch wave spring.
- Install the low/intermediate clutch pack.
- Install the low/intermediate clutch pressure plate.
- Install the low/intermediate clutch retaining ring.
- Apply regulated air pressure to the low/intermediate apply port. Make sure that the piston moves and no air is leaking past the piston seal.
- Measure the clearance between the clutch pressure plate and the low/intermediate clutch retainer. If the clearance is not within specification a thicker or thinner retainer may be needed.SELECTIVE RETAINING RINGS SPECIFICATION
Thickness 1.54-1.64 mm (0.061-0.065 inch) 2.08-2.18 mm (0.082-0.086 inch) 2.62-2.72 mm (0.103-0.107 inch) 3.16-3.26 mm (0.125-0.128 inch) 3.68-3.78 mm (0.145-0.149 inch) - Install the coast band.
- Install the coast band.
- Align the anchor pin pocket with the anchor pin in the case.
- Install the low/intermediate drum. Rotate the low/intermediate drum and sun gear into the low/intermediate one-way clutch.
- Install the park rod abutment and make sure that the park pawl moves freely.
- Tighten to 28 Nm (21 lb-ft).
- Install the coast band piston cover.
- Install the coast band servo piston spring.
- Install the coast band servo piston.
- Install the coast band servo piston cover.
- Using the special tool, install the coast servo cover retaining ring.
- Using the special tools, install the front planetary/reverse clutch assembly.
- Make sure that the reverse clutch cylinder apply tube hole is aligned with the case hole. Remove the tool.
- Loosely install the reverse clutch anchor pin.
- Using the special tool, install the forward/intermediate clutch assembly. Align the shell and sun gear into the front planet.
- Install the overdrive band.
- Install the overdrive band anchor strut with the cross hairs facing upward.
- Remove the No. 8 sprocket thrust washer and the No. 9 bearing and race from the driven sprocket support.
- Remove the No. 9 bearing and race.
- Remove the No. 8 sprocket support.
- Install only the No. 9 needle bearing with the outer lip upward.
- Install the special tool over the output shaft until it is fully seated on to the No. 9 needle bearing.
- Install the special tool to make the measurements.
- When taking the measurement, record readings on both sides of the output shaft 180 degrees apart from each other. Add both readings and divide by 2 to obtain reading A.
- Use reading A to select the correct No. 8 thrust washer from the chart.NO. 8 THRUST WASHER SELECTION CHART
Reading A Washer Thickness Dimension C Color/ID 42.88-43.10 mm (1.688-1.696 inch) 1.43-1.53 mm (0.056-0.060 inch) 1.48 mm (0.058 inch) Natural (No. 1) 43.11-43.34 mm (1.697-1.706 inch) 1.68-1.78 mm (0.066-0.070 inch) 1.73 mm (0.068 inch) Dark Green (No. 2) 43.35-43.59 mm (1.707-1.716 inch) 1.92-2.02 mm (0.075-0.080 inch) 1.97 mm (0.077 inch) Light Blue (No. 3) 43.60-43.77 mm (1.717-1.723 inch) 2.17-2.27 mm (0.085-0.089 inch) 2.22 mm (0.087 inch) Red (No. 4) 43.78-43.98 mm (1.724-1.731 inch) 2.35-2.45 mm (0.093-0.096 inch) 2.40 mm (0.094) Black (No. 5) - Remove the special tools.
- Install the special tools to take the measurements.
- Measure down to the No. 5 thrust washer mating surface of the overdrive drum. Take another reading on the other side of the drum 180 degrees from the first one. Add both readings and divide by 2 to obtain reading B.
- Remove the special tools.
- Subtract reading A from Reading B and add the difference between A and B to dimension C. Record this reading as D.READING REFERENCE
Reading B:_____ - Reading A:_____ Difference:_____ +Dimension C:_____ Reading D:_____ - Use Reading D to select the correct No. 5 thrust washer.NO. 5 SUPPORT THRUST WASHER CHART
Reading D Washer Thickness Color/ID 26.08-26.37 mm (1.027-1.038 inch) 2.18-2.28 mm (0.086-0.090 inch) Green (No. 1) 26.38-26.61 mm (1.039-1.047 inch) 2.43-2.53 mm (0.096-0.100 inch) Black (No. 2) 26.62-26.86 mm (1.048-1.057 inch) 2.67-2.77 mm (0.105-0.109 inch) Natural (No. 3) 26.87-27.15 mm (1.058-1.068 inch) 2.92-3.02 mm (0.115-0.119 inch) Red (No. 4) 27.16-27.50 mm (1.069-1.083 inch) 3.26-3.36 mm (0.128-0.132 inch) Blue (No. 5) - Install the No. 5 front support thrust washer.
- Install the correct bearing.
- Install the correct No. 8 driven sprocket support thrust washer.
- Install the No. 9 direct clutch needle bearing.
- Install the driven sprocket support assembly.
- Install the neutral/drive accumulator cover.
- Install the neutral/drive accumulator piston.
- Install the neutral/drive accumulator spring.
- The outer spring is yellow in color.
- The inner spring is grey in color.
- Install the neutral/drive accumulator cover.
- Install the bolt.
- Tighten to 11 Nm (8 lb-ft).
- Install the fluid supply tubes.
- Install the brackets and bolts.
- Tighten to 11 Nm (8 lb-ft).
- Using the special tool, install the manual control lever shaft seal.
- Install the parking lever actuating rod.
- Push in on the park pawl.
- Slide the parking lever actuating rod down to fit in the park pawl.
- Install the manual control lever shaft.
- Install the roll pins.
- Install the thrust washers.
- Install the No. 2 drive sprocket thrust washer.
- Install the No. 4 driven sprocket thrust washer.
- Install the drive chain and sprockets.
- Install the shift accumulator springs.
- Install the 1-2 shift accumulator piston spring (no color or brown).
- Install the 2-3 shift accumulator piston spring (no color or brown).
- Install the reverse shift accumulator piston spring (pink).
- Install the 3-4 shift accumulator piston spring (pink).
- Install the new chain cover gasket.
- Use petroleum jelly to hold thrust washers in place during assembly.
- Install the No. 1 thrust washer.
- Install the No. 2 thrust washer.
- Install the chain cover.
- Start the 2 bolts.
- Install the remaining bolts.
- Tighten No. 1 to 30 Nm (22 lb-ft).
- Tighten No. 2 to 41 Nm (30 lb-ft).
- Tighten No. 3 to 28 Nm (21 lb-ft).
- Tighten No. 4 to 13 Nm (10 lb-ft).
- Install the bolts.
- Tighten No. 1 to 30 Nm (22 lb-ft).
- Tighten No. 2 to 13 Nm (10 lb-ft).
- Inspect the spring height.
- Test spring.
- Original spring.
- Check overdrive servo travel. Install the overdrive servo piston.
- Install the test spring.
- Install the overdrive servo piston.
- Install the special tools.
- Tighten to 10 Nm (89 lb-in).
- Using the special tools, tighten the center screw and zero out the dial indicator.
- Tighten to 1.13 Nm (10 lb-in).
- Using the special tools, back off the center screw until the piston movement stops and read the dial indicator. The reading should be within specification. If the reading does not match the specification, see the overdrive specification chart and determine which overdrive servo rod to use.
- If the overdrive servo travel was incorrect, install a new overdrive servo rod. Zero the dial indicator and repeat the above step to verify the amount of piston travel. If within specification, remove the tool and test spring.OVERDRIVE PISTON ROD SELECTION CHART
Overdrive Servo Rod Length No. of Grooves(1) mm Inch 99.33 3.91 0 98.05 3.86 1 96.78 3.81 2 (1) Grooves are at the tip. - Install the overdrive servo.
- Install the overdrive servo spring.
- Install the overdrive servo.
- Install the overdrive servo cover and bolts.
- Tighten to 13 Nm (10 lb-ft).
- Install the transmission test plate.
- Cover the vent hole in the test plate with a clean lint free shop towel to prevent spray when air is applied. Apply air pressure to the appropriate clutch ports.ITEM DESCRIPTION
Item Part Number Description 1 - 1-2 accumulator test passage 2 - Overdrive servo test passage 3 - Direct clutch test passage 4 - Low/intermediate clutch and accumulator test passage 5 - Coast band test passage 6 - Reverse clutch test passage 7 - 3-4 accumulator test passage 8 - Neutral/reverse accumulator test passage 9 - Vent hole 10 - Forward clutch test passage 11 - Intermediate clutch test passage 12 - 2-3 accumulator test passage - Install the new Teflon® seals on the pump shaft.
- Install the pump shaft.
- Install the manual valve detent lever.
- Install the main control valve body over the pump shaft and connect the main control valve actuating rod while pushing down until it is seated on the chain cover.
- Use the valve body guide pins to install the pump assembly and main control valve body. Install the bolts and tighten in sequence.
- Tighten to 13 Nm (10 lb-ft).
- Connect the connectors.
- Remove the gasket. Clean and inspect the gasket, and reinstall into the pan.
- Install the M6 x 1.00 pan bolts.
- Tighten to 12 Nm (9 lb-ft).
- Install the M8 x 1.25 pan bolts.
- Tighten to 29 Nm (21 lb-ft).
- Install the mounting bracket and bolts.
- Tighten to 62 Nm (46 lb-ft).
- Tighten the reverse clutch anchor bolt.
- Tighten the anchor bolt.
- Tighten to 11 Nm (8 lb-ft).
- Tighten the locknut.
- Tighten to 54 Nm (40 lb-ft).
- Tighten the anchor bolt.
- Install the new seal and gasket kit and seal assembly.
- Install the fluid pan magnet.
- Install the transmission fluid pan and gasket.
- Tighten to 12 Nm (9 lb-ft).
- Install the turbine shaft speed (TSS) sensor and bolt.
- Tighten to 11 Nm (8 lb-ft).
- Verify that the shift selector lever is in NEUTRAL.
- Install the digital TR sensor and loosely install the bolts.
- Using the special tool, align the digital TR sensor and tighten the bolts.
- Tighten to 11 Nm (8 lb-ft).
- Install the fluid filler tube with a new grommet.
- Install the grommet.
- Install the fluid filler tube and bolt.
- Tighten to 13 Nm (10 lb-ft).
- Using the special tool, install the LH output shaft seal.
- Using the special tool, install the RH output shaft seal.
- Install the output shaft speed (OSS) sensor and reconnect the harness.
- Install the OSS sensor cover.
- Install the OSS cover.
- Install the bolt.
- Tighten to 11 Nm (8 lb-ft).
- Connect the connector to the bracket.
- Install the identification tag, if removed.
- Using the special tools, install the torque converter.
NOTE:
The bolt holes are offset and the drive sprocket can only be aligned one way.
NOTE:
The retaining ring must be correctly installed.
CAUTION:
If the support is not visible on the inside diameter of the retaining ring, the low/intermediate piston could be damaged.
NOTE:
The dial indicator extension rod must set on the No. 15 bearing surface.
NOTE:
Make sure the No. 15 needle bearing is on the rear planet support hub and the black plastic No. 15 thrust washer is in place on top of the low/intermediate clutch spring retainer.
NOTE:
The beveled retaining ring and the rear planet support must be removed to change the No. 16 thrust race.
NOTE:
The friction plate internal splines will center the one-way clutch.
CAUTION:
Make sure that the retaining ring is seated in the case groove.
WARNING:
To prevent injury, wear eye protection when using pressurized air.
NOTE:
Be sure the pressurized air is dry and regulated at 276 kPa (40 psi).
NOTE:
The foot of the overdrive retainer fits against the band.
NOTE:
Reading A and Dimension C from the chart will be used in the selection of the No. 5 thrust washer.
NOTE:
Reading A was obtained during No. 8 thrust washer selection. Dimension C is found on the No. 8 thrust washer selection chart.
NOTE:
Use petroleum jelly to hold the No. 5 thrust washer in place.
CAUTION:
The No. 9 direct hub needle bearing may still be inside the transaxle from the No. 8 driven sprocket support thrust washer selection procedure. Use petroleum jelly to hold bearing and washer in place.
NOTE:
All the fluid supply tubes must have new O-rings installed.
NOTE:
The manual control valve detent lever must be installed with the shoulder and roll pin hole pointing toward the driven sprocket support.
NOTE:
Prior to installing the roll pins be sure that the manual control valve detent lever shoulder and roll pin hole is pointing toward the driven sprocket support.
NOTE:
Apply petroleum jelly to the drive sprocket thrust washer and driven sprocket thrust washer to hold them in place.
CAUTION:
Be careful not to damage or bend the exciter tabs on the driven sprocket speed sensor wheel. The TSS sensor will not operate correctly if the tabs are bent.
NOTE:
Lower the assembly into the sprocket supports simultaneously.
NOTE:
Make sure that the alignment pins are installed in the case.
CAUTION:
Be extremely careful not to damage the cast iron sealing ring.
NOTE:
After installing the chain cover the input shaft should have some end play and should rotate freely. Apply gentle downward pressure on the chain cover to overcome spring pressure.
CAUTION:
The test spring from the overdrive servo rod tool is plain in color and has a shorter free height than the operational spring. Extreme care must be used not to assemble the transaxle using the test spring.
CAUTION:
Do not assemble the transaxle using the test spring.
WARNING:
Wear safety glasses while carrying out this procedure to prevent personal injury.
NOTE:
When applying regulated 276 kPa (40 psi) air pressure to the appropriate passage, a dull thud should be heard when the clutch or band applies. There should be no hissing sound when the clutch or band applies.
NOTE:
Plugging the vent hole during the test will provide an inaccurate result.
CAUTION:
The seals must be lapped correctly or internal leakage will occur.
CAUTION:
Do not use the bolts to draw pump assembly and main control valve body onto the chain cover case. Component damage may occur.
NOTE:
The transaxle side cover gasket is reusable if not torn or ripped.
NOTE:
The gasket is reusable if not damaged or torn.
NOTE:
Locate and align the orange dot adjacent to the stud on the torque converter and place it in the 6 o'clock position.
NOTE:
Locate and align the orange dot adjacent to the stud on the torque converter and place it in the 6 o'clock position.