LEMON Manuals: Even more car manuals for everyone: 1960-2025
Home >> Ford >> 2007 >> Taurus SE >> Repair and Diagnosis >> Engine Performance >> Fuel Delivery >> Fuel System - General Information >> General Procedures >> Quick Connect Coupling >> Connect
April 5, 2026: LEMON Manuals is launched! Read the announcement.

Quick Connect Coupling: Connect

WARNING: Do not carry lighted tobacco or open flame of any type when working on or near any fuel-related components. Highly flammable vapors are always present and can ignite. Failure to follow these instructions may result in personal injury.
WARNING: Do not carry personal electronic devices such as cell phones, pagers or audio equipment of any type when working on or near any fuel-related components. Highly flammable mixtures are present and may be ignited. Failure to follow these instructions can result in personal injuries.
WARNING: This procedure involves fuel handling. Be prepared for fuel spillage at all times and always observe fuel handling precautions. Failure to follow these instructions may result in personal injury.
CAUTION: Fuel injection equipment is manufactured to very precise tolerances and fine clearances. It is therefore essential that absolute cleanliness is observed when working with these components. Always install blanking plugs to any open orifices or tubes.
NOTE: Fuel supply tube connectors are white or are identified by a white band. Fuel return tube connectors are red or are identified by a red band.
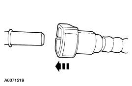
    CAUTION: Make sure the fuel tube clicks into place when installing the tube. To make sure that the fuel tube is fully seated, pull on the tube.
  1. Install the fuel tube quick connect coupling.
    • Inspect and clean both coupling ends.
    • Lubricate the O-ring seals with engine oil.
  2. Fig 1: Connecting Quick Connect Fitting
    GF0020579Courtesy of FORD MOTOR CO.