LEMON Manuals: Even more car manuals for everyone: 1960-2025
Home >> Ford >> 2007 >> Taurus SE >> Repair and Diagnosis >> Transmission >> Automatic Trans >> Automatic Transmission >> Assembly >> Transaxle
April 5, 2026: LEMON Manuals is launched! Read the announcement.

Automatic Transmission: Assembly: Transaxle

Special Tools

Illustration Tool Name Tool Number
GF0000024
Dial Indicator Gauge With Holding Fixture 100-002 (TOOL-4201-C)
GF0020135
Step Plate 205-D014 (D80L-630-3)
GF0020415
Installer, Steering Gear Pinion Bearing 211-161 (T90C-3504-DH)
GF0000965
Depth Micrometer 303-D075 (D92P-4201-A)
GF0006856
Retaining Ring Pliers 307-343 (T95P-77001-AHR)
GF0000942
Handle, Torque Converter 307-091 (T81P-7902-C)
GF0003690
Test Plate Screw Set, Transmission 307-126 (T82P-7006-C)
GF0020000
Air Test Plate, Transmission 307-312 (T94P-77001-EH)
GF0020416
Gasket, Transmission Air Test Plate 307-313 (T94P-77001-EH1)
GF0020137
Installer, Halfshaft Output Fluid Seal 307-157 (T86P-1177-B)
GF0020417
Gauge, Servo Rod 307-162 (T86P-70023-B)
GF0000940
Holding Fixture Transmission 307-003 (T57L-500-B)
GF0020180
Lifting Fixture, Clutch Pack 307-171 (T86P-70389-A)
GF0020418
Installer, Torque Converter Fluid Seal 307-186 (T87L-77837-AH)
GF0020419
End Play Gauge 307-187 (T87P-70014-AH)
GF0003517
Remover/Installer, Servo Piston 307-251 (T92P-70023-A)
GF0020420
Shim Selection Gauge Bar 307-300 (T94P-77000-Q)
GF0020421
Remover, Reverse Clutch/Planet 307-314 (T94P-77001-FH)
GF0020182
Remover/Installer, Front Clutch 307-316 (T94P-77001-HH)
GF0020138
Aligner, Output Shaft Fluid Seal 307-317 (T94P-77001-JH)
GF0020422
Shim Selection Gauge 307-320 (T94P-77001-MH)
GF0020423
Shim Depth Gauge 307-321 (T94P-77001-NH)
GF0000909
Alignment Gauge, TR Sensor 307-351 (T97L-70010-A)
GF0001190
Remover/Installer Bearing Tube 308-025 (T75L-7025-C)
GF0020424
Remover, Bearing Collet Sleeve 308-049 (T77F-7025-C)
Fig 1: Exploded View Of Transaxle (1 Of 4)
GF0020425Courtesy of FORD MOTOR CO.
Fig 2: Exploded View Of Transaxle (2 Of 4)
GF0020426Courtesy of FORD MOTOR CO.
Fig 3: Exploded View Of Transaxle (3 Of 4)
GF0020427Courtesy of FORD MOTOR CO.
Fig 4: Exploded View Of Transaxle (4 Of 4)
GF0020428Courtesy of FORD MOTOR CO.
Item Part Number Description
1 N605890-S1036 Bolt - M6-1.0 x 16.5 hex flange head (2 - attach dust cover to case)
2 7986 Cover - lower converter housing
3 7902 Converter assembly
4 7F401 Seal assembly - converter impeller hub
5 1177 Seal assembly - differential (2 required)
6 N806944-S1036 Stud - M10 - 1.5 x 60.5 pilot
7 7005 Case assembly
8 7G112 Bearing and race assembly - differential carrier thrust No. 19
9 7G103 Washer - differential carrier thrust No. 18
10 7F343 Gear - final drive ring
11 7C144 Rear support spacer
12 7F465 Gear and differential case assembly
13 N803200-S Ring - 77.3 mm (3.04 in) retaining external (retains pinion shaft in differential case)
14 W706051-S Ring - 27 mm (1.08 in) retaining external (retains output shaft in differential case assembly)
15 4230 Washers - rear axle differential pinion thrust (2 required)
16 4215 Pinions - front wheel drive differential (2 required)
17 4228 Washers - differential side gear thrust (2 required)
18 4236 Gears - differential side (2 required)
19 67847-S Pin - coiled spring (retains differential pinion shaft)
20 4211 Shaft - differential pinion
21 7060 Shaft - differential output
22 N804139-S Circle clip - output shaft retaining
23 7F342 Gear and deflector assembly - final drive sun
24 7A233 Gear - parking
25 7F405 Bearing and race assembly - final drive gear thrust No. 16
26 7F451 Race - final drive gear thrust - front No. 16 (select fit)
27 7A130 Support assembly - rear planetary
28 7G085 Seal assembly - fluid transfer tubes (2 required)
29 7H290 Piston and seal assembly - low/intermediate clutch
30 7H266 Washer - support and spring assembly - low/intermediate clutch (bonded)
31 7D483 Ring - 56.3 mm (2.25 in) retainer type SU external
32 7G178 Bearing and race assembly - sun gear thrust No. 15
33 7D483 Ring - 170 mm (6.8 in) 14.5 degree bevel (retains rear support in case) (select fit)
34 7D171 Race - Low/intermediate one-way clutch - outer
35 7A089 Low/intermediate one-way clutch - race and roller assembly
36 7E085 Spring - low/intermediate clutch cushion
37 7B164 Plate assembly - low/intermediate clutch - internal (4 required) (friction)
38 7B442 Plates - low/intermediate clutch - external (4 required) steel
39 7B066 Plate - low/intermediate clutch - pressure
40 7D483 Retainer - low/intermediate clutch (select fit)
41 7A162 Band assembly - coast
42 7A626 Gear/drum/race assembly - rear sun
43 7A153 Gear - rear ring
44 7D006 Gear assembly - rear planetary
45 7G177 Bearing and race assembly - planetary thrust center No. 13
46 7A398 Gear assembly - front planetary
47 7D483 Ring - front planetary retaining
48 7D483 Ring - 153.9 mm (6.15 in) internal retaining (select fit)
49 7B066 Plate - reverse clutch - pressure
50 7B164 Plate assembly - reverse clutch - internal (4 required) (friction)
51 7B442 Plates - reverse clutch - external (4 required) (steel)
52 7E085 Spring - reverse clutch piston
53 N803048-S Ring - 67.0 mm (2.68 in) retaining type SU - external (retains support and spring assembly in reverse clutch cylinder)
54 7G335 Support and spring assembly - reverse clutch
55 7D402 Piston - reverse clutch
56 7D403 Seal - reverse clutch piston - outer
57 7D404 Seal - reverse clutch piston - inner
58 7F341 Cylinder - reverse clutch
59 7D064 Gear and shell assembly - front sun
60 7C096 Bearing and race assembly - forward sun gear thrust No. 10 and 11
61 7B067 Hub - intermediate clutch
62 7D483 Rings - 152.26 mm (6.09 in) retainer style - internal (select fit)
63 7B066 Plate - intermediate clutch - pressure
64 7B164 Plate assembly - intermediate/direct clutch - internal (friction)
65 7B442 Plates - intermediate/direct clutch - external (steel)
66 7E085 Spring - intermediate clutch wave
67 7C122 Ring - 72.0 mm (2.88 in) retaining style SU - external
68 7H185 Piston assembly - intermediate clutch balance
69 7F222 Support and spring assembly - intermediate clutch
70 7E005 Piston assembly - intermediate clutch
71 7F225 Seal - intermediate clutch piston - inner
72 7G120 Cylinder and hub assembly - direct/intermediate clutch
73 7G102 Seals - intermediate/direct clutch hub (2 required)
74 7F225 Seal - direct clutch piston - inner
75 7A262 Piston assembly - direct clutch
76 7G448 Ring - direct clutch apply
77 7F235 Support and spring assembly - direct clutch
78 7C122 Ring - 77.0 mm (3.08 in) retaining style SU - external (retains direct clutch support and spring assembly to cylinder)
79 7B066 Plate - direct clutch - pressure
80 7F369 Washer - direct one-way clutch thrust No. 7
81 7D171 Race - direct one-way clutch - outer
82 7A089 Clutch assembly - direct one-way
83 7G156 Race and bushing assembly - direct one-way clutch - inner
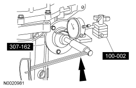
84 7A360 Cylinder and valve assembly - forward clutch
85 7A548 Seal - forward clutch piston - inner
86 7A262 Piston assembly - forward clutch
87 7G299 Support and spring assembly - forward clutch
88 N803053-S Ring - 85.0 mm (3.4 in) retaining type style SU - external (retains forward clutch support and spring assembly in cylinder)
89 7B164 Plate assembly - forward clutch - internal (friction)
90 7B442 Plate assembly - forward clutch - external (steel)
91 7B066 Plate - forward clutch - pressure
92 7A166 Washer - forward clutch thrust No. 6
93 7D171 Race - low one-way clutch - outer
94 7A089 Clutch assembly - low one-way
95 7L669 Drum assembly - overdrive
96 7F240 Bearing and race assembly - direct clutch hub No. 9
97 7G273 Washer - driven sprocket support thrust No. 8 (select fit)
98 7F196 Band assembly - overdrive
99 7D430 Retainer - overdrive band
100 7D019 Seals - forward clutch cylinder (5 required)
101 7D014 Washer - support thrust front No. 5 (select fit)
102 7G166 Support assembly - driven sprocket
103 7G247 Bearing assembly - driven sprocket
104 7G115 Washer - driven sprocket thrust No. 4
105 7G132 Sprocket and race assembly - driven
106 7H150 Wheel - driven sprocket speed sensor
107 7A108 Support assembly - stator (part of 7N825 support assembly)
108 7G233 Bearing assembly - drive sprocket
109 6749 Seal - turbine shaft O-ring
110 7G091 Seal - turbine shaft - rear
111 7F213 Shaft - turbine
112 7G099 Washers - drive sprocket thrust No. 1 and 2
113 7G129 Sprocket assembly - drive
114 N803178-S Ring - 26.36 mm (1.05 in) retaining style SU - external (retains turbine shaft to drive sprocket)
115 7G090 Seal - turbine shaft - front
116 7G093 Seals - pump shaft - rear (2 required)
117 7B328 Shaft assembly - pump drive
118 7G092 Seals - front pump shaft (2 required)
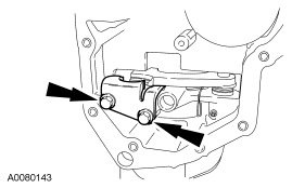
119 7G089 Collars - fluid level thermostatic retaining (2 required)
120 7G191 Element - fluid level thermostatic
121 7G190 Plate - fluid level thermostatic valve
122 N804184-S Pins - 4 mm (0.16 in) x 22 coiled (3 required) (retains fluid level thermostatic valve plate and fluid)
123 7G249 Chain assembly - drive
124 7G096 Washer - chain cover thrust No. 3
125 N605890-S1000 Bolt - M6-1.0 x 16.5 hex flange head (attaches detent spring assembly to chain cover)
126 7E332 Spring assembly - manual valve detent
127 7G276 Bulkhead assembly - wiring connector
128 7G303 Gasket - chain cover
129 7G188 Cover assembly - chain
130 7035 Vent assembly - case
131 7L282 Vent cap
132 7Z465 Retainer - clip transaxle cooler tube (2 required)
133 7D273 Connector assembly - cooler 3/8 (2 required)
134 390685-S100 Plugs - 1/8-27 mm hex head special pilot (2 required) (pressure tap plugs for chain cover)
135 N807737-S Screws - M6-1.0 x 17 pan head pilot (attach separator plate to valve body)
136 7G308 Screen assembly - bypass clutch solenoid (2 required)
137 N807739-S Pin - 6 mm x 20 spring coiled (part of 7A100)
138 7A100 Control assembly - main
139 7A136 Gasket - pump assembly to valve body
140 7A142 Plate - pump body separator
141 7G331 Gasket - pump body to separator plate
142 7A104 Body, bearing and seal assembly - pump
143 7Z144 Seal - 12.42 x 1.78 O-ring - outer (small)
144 7Z144 Seal - 25.12 x 1.78 O-ring - inner (large)
145 7G383 Solenoid assembly - electronic pressure control (EPC)
146 N803727-S Bolt - M6-1.0 x 30 hex head (3 - attaches pump assembly to main control)
147 7Z484 Seal - 6.07 x 1.78 O-ring - outer (small) (1 on solenoid assembly (EPC) - 1 on solenoid assembly (TCC) - 3 on solenoid assembly - shift)
148 7Z484 Seals - 15.6 x 1.78 O-ring - inner (large) (1 on solenoid assembly (EPC) - 1 on solenoid assembly (TCC) - 3 on solenoid assembly - shift)
149 7G136 Solenoid assembly - torque converter clutch (TCC)
150 N605772-S Bolt - M6-1.0 x 16 large hex flange head (attach torque converter solenoid and pressure control solenoid to pump body)
151 7G285 Spring - pump bore ring
152 N803499-S Pin - 8 mm x 37.7 straight hardened
153 7G287 Rings - pump vane support (2 required)
154 7A146 Rotor - pump
155 7R194 Ring - pump body
156 7G282 Support - pump bore ring side gear
157 7G281 Seal - pump bore ring side
158 7G187 Cover and sleeve assembly - pump
159 N807073-S1100 Bolt - M6-1.0 x 88.5 hex flange head pilot (4 - attach pump cover/pump body/valve body to chain cover)
160 N605892-S21 Bolt - M6-1.0 x 22.5 hex head (2 - attach pump cover to pump body)
161 7G286 Vane - pump (7 required)
162 7G283 Seal - pump bore ring radial
163 7G284 Support - pump bore ring radial seal
164 7H141 Sensor assembly - transmission fluid temperature (TFT)
165 7F396 Gasket - main control cover
166 N811076-S1036 Bolt - M6-1.0 x 16.5 hex flange pilot (19 - attach bottom pan to case)
167 N605893-S309 Bolt - M6-1.0 x 27.5 hex flange pilot (4 - attach main control cover to chain cover)
168 N605908-S101 Bolt - M8-1.25 x 38 hex flange pilot (11- attach main control cover to chain cover)
169 7G004 Cover - main control
170 7G484 Solenoid valve - shift (3 required)
171 N606026-S1000 Bolt - M6-1.0 x 60 hex flange head (15 - attach pump body and main control to chain cover)
172 N606022-S1000 Bolt - M6-1.0 x 40 hex flange head (4 - attach valve body to chain cover)
173 7Z490 Plate assembly - control valve body separator (bonded)
174 7A100 Pump and control assembly
175 N807738-S Pin - 5 mm (0.2 in) x 14 spring coiled
176 N805551-S101 Stud - M8 x 1.25-1.25 x 81.8 hex head shoulder (attach chain cover assembly to case assembly)
177 N606024-S36 Bolt - M6-1.0 x 50 hex flange head (attach chain cover to case)
178 N605771-S36 Bolt - M6-1.0 x 14 hex flange head (attach turbine shaft speed sensor to chain cover assembly)
179 N803807-S1000 Bolt - M10-1.50 x 43 hex (attach chain cover to driven sprocket and support assembly)
180 N606042-S2 Bolt - M8-1.25 x 45 hex flange head (2 - attach chain cover to driven sprocket support assembly)
181 N811757-S100 Seal - 15.0 x 1.5 O-ring
182 7M101 Sensor - turbine shaft speed (TSS)
183 N605789-S1036 Bolt - M8-1.25 x 35 hex flange head (15 - attach chain cover to case)
184 7A020 Indicator assembly - fluid level
185 N605892-S1036 Bolts - M6-1.0 x 22.5 hex flange head (1 - attach filler tube to case; 3- attach O.D. servo cover to case)
186 7A228 Tube assembly - filler
187 7N243 Grommet - filler tube
188 7D027 Cover - overdrive servo piston
189 7D024 Seal - overdrive servo cover
190 7H188 Piston assembly - overdrive servo
191 7F201 Spring - overdrive servo piston return
192 373907-S2 Nut - 1/4 spring (attach I.D. tag to case)
193 7B148 Tag - service identification
194 N605789-S101 Bolt - M8-1.25 x 35 hex flange head (2 - attach case to chain cover)
195 N808161-S36 Screw - M6-1.0 x 28 pan head (5 required) (5 - attach case to chain cover)
196 N802996-S1000 Screw - M6-1.0 x 20 pan head (6 - attach stator support to converter housing)
197 N605775-S103 Bolt - M6-1.0 x 30 hex flange head (2 - attach transmission range sensor to case)
198 7F293 Sensor assembly - transmission range (TR)
199 7C493 Shaft - manual control lever
200 7H103 Sensor assembly - transmission output shaft sensor (OSS)
201 N605890-S36 Bolts - M6-1.0 x 16.5 hex flange head (attach the OSS sensor)
202 7A434 Heat shield - OSS
203 7F337 Seal assembly - manual control shaft
204 N802998-S Pins - 12.76 mm (0.51 in) x 25 dowel harden (2 required)
205 7N049 Rod - manual control valve actuating
206 7G100 Pins - shaft retainer (1 used as park pawl shaft retainer, 3 used as manual control shaft pin)
207 7A115 Lever assembly - manual valve detent (inner)
208 7F251 Pistons - 1-2, 2-3 shift accumulator
209 7G095 Seals - 1-2, 2-3 and N-D shift accumulator piston
210 7G267 Spring - 1-2 shift accumulator
211 7F284 Springs - accumulator 1-2 and 2-3 assist
212 7G094 Shaft - shift accumulator piston (4 required)
213 7G267 Spring - 2-3 shift accumulator
214 7F246 Pistons - 3-4 and reverse shift accumulator (2 required)
215 7F248 Seals - 3-4 and reverse shift accumulator piston (2 required)
216 7G266 Spring - reverse shift accumulator
217 7G266 Spring - 3-4 shift accumulator
218 7H276 Shaft - drive shift accumulator
219 7G274 Piston - drive shift accumulator
220 7G300 Spring - drive shift accumulator (outer)
221 7G301 Spring - drive shift accumulator (inner)
222 7H277 Seal - drive shift accumulator cover
223 7H275 Cover - drive shift accumulator
224 N807757 Bolt - M6-1.0 x 60 hex flange head (attaches drive shift accumulator cover to case)
225 N804647-S Screw - M12 x 1.75 x 45 set hex socket (reverse clutch assembly locator bolt)
226 N620015-S Nut - M12 x 1.75 hex (reverse clutch assembly locator nut)
227 7A256 Lever assembly - manual control
228 7H291 Spring - coast servo return
229 7H281 Piston and rod assembly - coast servo
230 7H284 Cover and seal assembly - coast servo
231 7H285 Ring - coast servo cover retainer
232 7A232 Rod assembly - parking pawl actuator
233 7G101 Abutment - parking pawl actuator
234 N605787-S1000 Bolt - M8 x 1.25 x 25 hex flange head (2 - attach abutment to case)
235 7D070 Spring - parking pawl return
236 7D071 Shaft - parking pawl
237 7A441 Pawl - parking brake
238 N802947-S Plug - 13.9 mm (0.55 in) cup
239 7G199 Tube - reverse fluid supply transfer
240 7G087 Tube - servo apply fluid transfer
241 7G463 Tube - low/intermediate clutch apply fluid transfer
242 7G084 Tube - rear lube fluid transfer
243 N808020-S100 Seal - O-ring (used on rear lube fluid tube)
244 N808021-S100 Seal - O-ring (used on reverse fluid supply tube)
245 N808022-S100 Seals - O-ring (used on servo apply tube - reverse supply tube and low/intermediate clutch apply tube)
246 N808023-S100 Seal - O-ring (used on servo apply tube)
247 7G353 Bracket assembly - tube support main
248 7G353 Bracket assembly - tube support (reverse clutch and servo apply)
249 7G353 Bracket assembly - tube support (rear lube and low/intermediate clutch)
250 7Z302 Seal - fluid filter
251 7A098 Filter and seal assembly - fluid
252 7L027 Magnet - ceramic case
253 7A191 Gasket - transaxle pan
254 7A194 Pan - transaxle
255 - Low/intermediate one-way clutch
256 - Low/intermediate clutch
257 - Reverse clutch
258 - Intermediate clutch
259 - Direct clutch
260 - Forward clutch
261 - Direct one-way clutch
  1. Install the parking pawl assembly.
    1. Install the parking pawl and return spring.
    2. Install the parking pawl shaft.
  2. Fig 5: Identifying Parking Pawl, Return Spring And Parking Pawl Shaft
    GF0020429Courtesy of FORD MOTOR CO.
  3. Install the park pawl roll pin.
  4. Fig 6: Installing Park Pawl Roll Pin
    GF0020430Courtesy of FORD MOTOR CO.
  5. Using the special tool, install the cup plug.
  6. Fig 7: Installing Cup Plug
    GF0020431Courtesy of FORD MOTOR CO.
    NOTE: The bolt holes are offset and the drive sprocket can only be aligned one way.
  7. Install the stator support.
  8. Fig 8: Stator Support
    GF0020432Courtesy of FORD MOTOR CO.
  9. Install the stator support bolts.
    • Tighten to 13 Nm (10 lb-ft).
  10. Fig 9: Stator Support Bolts
    GF0020235Courtesy of FORD MOTOR CO.
  11. Using the special tool, install the converter impeller hub seal.
  12. Fig 10: Installing Converter Impeller Hub Seal
    GF0020433Courtesy of FORD MOTOR CO.
  13. Install the differential carrier thrust bearing.
    1. Install the differential carrier thrust washer.
    2. Install the differential carrier thrust bearing and race (tabs down).
  14. Fig 11: Identifying Differential Carrier Thrust Bearing & Race
    GF0020434Courtesy of FORD MOTOR CO.
  15. Install the final drive ring gear.
  16. Fig 12: Locating Final Drive Ring Gear
    GF0020233Courtesy of FORD MOTOR CO.
  17. Install the rear planet support spacer.
  18. Fig 13: Rear Planet Support Spacer
    GF0020232Courtesy of FORD MOTOR CO.
  19. Install the final drive differential assembly.
  20. Fig 14: Identifying Final Drive Differential And Rear Planet Support Assembly
    GF0020230Courtesy of FORD MOTOR CO.
  21. Align the rear lube tube holes in the case window.
  22. Fig 15: Aligning Rear Lube Tube Holes In Case Window
    GF0020435Courtesy of FORD MOTOR CO.
    NOTE: The retaining ring must be correctly installed.
  23. Using the special tool, install the beveled retaining ring.
  24. Fig 16: Using Special Tool (307--343) To Install Beveled Retaining Ring
    GF0020229Courtesy of FORD MOTOR CO.
    Fig 17: Identifying Proper Bevel Installation
    GF0020436Courtesy of FORD MOTOR CO.
    CAUTION: If the support is not visible on the inside diameter of the retaining ring, the low/intermediate piston could be damaged.
  25. Make sure that the beveled retaining ring seats correctly in the case groove with the bevel down. The final drive support must be visible on the inside diameter of the retaining ring but must not seat against the case wall.
  26. Fig 18: Final Drive Support
    GF0020437Courtesy of FORD MOTOR CO.
  27. Place a screwdriver into the differential case and pry up to make sure that the retaining ring is fully seated in the top of the case groove.
  28. Fig 19: Prying To Ensure Ring Is Seated
    GF0020438Courtesy of FORD MOTOR CO.
  29. Install the special tools.
  30. Fig 20: Identifying Special Tool (307-187) And (205-D014)
    GF0020439Courtesy of FORD MOTOR CO.
  31. Remove the No. 15 needle bearing.
  32. Fig 21: No. 15 Needle Bearing
    GF0020440Courtesy of FORD MOTOR CO.
    NOTE: The dial indicator extension rod must set on the No. 15 bearing surface.
  33. Install the special tools.
  34. Fig 22: Identifying Special Tool (307-300) And (307-321)
    GF0020441Courtesy of FORD MOTOR CO.
  35. Install the special tool and zero the dial indicator.
  36. Fig 23: Identifying Special Tool (307-300), (100-002) And (307-321)
    GF0020442Courtesy of FORD MOTOR CO.
  37. Tighten the special tool bolt.
    • Tighten to 1.13-1.7 Nm (10-15 lb-in).
  38. Fig 24: Tightening Special Tool (307-187)
    GF0020443Courtesy of FORD MOTOR CO.
  39. Read and record the dial indicator reading. If the dial indicator reading indicates movement more than the specification, the next larger beveled ring retainer will need to be used.
  40. Fig 25: Identifying Special Tool (307-300), (100-002) And (307-321)
    GF0020444Courtesy of FORD MOTOR CO.
  41. Select the correct beveled retaining ring.
    Item Part Number Thickness Style
    1 F5DZ-TD483-E 1.48-1.63 mm (0.058-0.064 in) Style 5
    2 F5DZ-TD483-D 1.54-1.68 mm (0.061-0.067 in) Style 4
    3 F5DZ-TD483-C 1.60-1.75 mm (0.063-0.069 in) Style 3
    4 F5DZ-TD483-B 1.66-1.81 mm (0.065-0.071 in) Style 2
    5 F5DZ-TD483-A 1.72-1.87 mm (0.068-0.074 in) Style 1
  42. Fig 26: Identifying Beveled Retaining Ring Styles
    GF0020445Courtesy of FORD MOTOR CO.
    NOTE: Make sure the No. 15 needle bearing is on the rear planet support hub and the black plastic No. 15 thrust washer is in place on top of the low/intermediate clutch spring retainer.
  43. Install the No. 15 thrust bearing.
  44. Fig 27: No. 15 Needle Bearing
    GF0020440Courtesy of FORD MOTOR CO.
  45. Check the clearance for the No. 16 thrust washer. Mount the special tool with the stylus on the end of the output shaft. Zero the dial indicator.
  46. Fig 28: Identifying Clearance For Thrust Washer Using Special Tool (100--102)
    GF0020446Courtesy of FORD MOTOR CO.
  47. Tighten the special tool bolt. Read and record the dial indicator reading.
    • Tighten to 1.13-1.7 Nm (10-15 lb-in).
  48. Fig 29: Tightening Special Tool (307-187)
    GF0020443Courtesy of FORD MOTOR CO.
    NOTE: The beveled retaining ring and the rear planet support must be removed to change the No. 16 thrust race.
  49. If the clearance is not within specification a thicker or thinner washer will need to be added.
    NO. 16 THRUST RACE (WASHER)

    Thickness ID
    2.25-2.15 mm Green (No. 1)
    2.37-2.27 mm Blue (No. 2)
    2.49-2.39 mm Black (No. 3)
    2.61-2.51 mm White (No. 4)
    2.73-2.63 mm Brown (No. 5)
    2.85-2.75 mm Gold (No. 6)
  50. Fig 30: Checking No. 16 Thrust Washer Clearance (With Specifications)
    GF0020447Courtesy of FORD MOTOR CO.
  51. Install the low-intermediate one-way clutch assembly.
  52. Fig 31: Low/Intermediate One-Way Clutch Assembly
    GF0020448Courtesy of FORD MOTOR CO.
    NOTE: The friction plate internal splines will center the one-way clutch.
  53. Install the low-intermediate clutch pressure plate.
    1. Install the low-intermediate clutch wave spring.
    2. Install the low-intermediate clutch pack.
    3. Install the low-intermediate clutch pressure plate.
  54. Fig 32: Identifying Low/Intermediate Clutch Pressure Plate Components
    GF0020449Courtesy of FORD MOTOR CO.
    CAUTION: Make sure that the retaining ring is seated in the case groove.
  55. Install the low-intermediate clutch retaining ring.
  56. Fig 33: Low/Intermediate Clutch Retaining Ring
    GF0020227Courtesy of FORD MOTOR CO.
    WARNING: To prevent injury, wear eye protection when using pressurized air.
    NOTE: Be sure the pressurized air is dry and regulated at 276 kPa (40 psi).
  57. Apply regulated air pressure to the low-intermediate apply port. Make sure that the piston moves and no air is leaking past the piston seal.
  58. Fig 34: Applying Air Pressure To Low/Intermediate Apply Port
    GF0020450Courtesy of FORD MOTOR CO.
  59. Measure the clearance between the clutch pressure plate and the low-intermediate clutch retainer. If the clearance is not within specification a thicker or thinner retainer may be needed.
    SELECTIVE RETAINING RINGS

    Thickness
    1.54-1.64 mm (0.061-0.065 in)
    2.08-2.18 mm (0.082-0.086 in)
    2.62-2.72 mm (0.103-0.107 in)
    3.16-3.26 mm (0.125-0.128 in)
    3.68-3.78 mm (0.145-0.149 in)
  60. Fig 35: Checking Clutch Pressure Plate To Low/Intermediate Clutch Retainer Clearance (With Specifications)
    GF0020451Courtesy of FORD MOTOR CO.
  61. Install the coast band.
    1. Install the coast band.
    2. Align the anchor pin pocket with the anchor pin in the case.
  62. Fig 36: Identifying Coast Band
    GF0020452Courtesy of FORD MOTOR CO.
  63. Install the low-intermediate drum. Rotate the low-intermediate drum and sun gear into the low-intermediate one-way clutch.
  64. Fig 37: Installing Low-Intermediate Drum
    GF0020453Courtesy of FORD MOTOR CO.
  65. Install the park rod abutment and make sure that the park pawl moves freely.
    • Tighten to 28 Nm (21 lb-ft).
  66. Fig 38: Locating Park Pawl Abutment Bolts
    GF0020214Courtesy of FORD MOTOR CO.
  67. Install the coast band piston cover.
    1. Install the coast band servo piston spring.
    2. Install the coast band servo piston.
    3. Install the coast band servo piston cover.
  68. Fig 39: Identifying Coast Band Piston Cover
    GF0020454Courtesy of FORD MOTOR CO.
  69. Using the special tool, install the coast servo cover retaining ring.
  70. Fig 40: Installing Coast Servo Cover Retaining Ring Using Special Tool (307-251)
    GF0020455Courtesy of FORD MOTOR CO.
  71. Using the special tools, install the front planetary/reverse clutch assembly.
  72. Fig 41: Installing Front Planetary/Reverse Clutch Assembly Using Special Tool (307-025), (307-314) And (308-049)
    GF0020456Courtesy of FORD MOTOR CO.
  73. Make sure that the reverse clutch cylinder apply tube hole is aligned with the case hole. Remove the tool.
  74. Fig 42: Aligning Reverse Clutch Cylinder Apply Tube Hole With Case Hole
    GF0020457Courtesy of FORD MOTOR CO.
  75. Loosely install the reverse clutch anchor pin.
  76. Fig 43: Reverse Clutch Anchor Pin
    GF0020458Courtesy of FORD MOTOR CO.
  77. Using the special tool, install the forward/intermediate clutch assembly. Align the shell and sun gear into the front planet.
  78. Fig 44: Installing Forward/Intermediate Clutch Assembly Using Special Tool (307-316) And (307-171)
    GF0020459Courtesy of FORD MOTOR CO.
  79. Install the overdrive band.
  80. Fig 45: Overdrive Band
    GF0020460Courtesy of FORD MOTOR CO.
    NOTE: The foot of the overdrive retainer fits against the band.
  81. Install the overdrive band anchor strut with the cross hairs facing upward.
  82. Fig 46: Overdrive Band Anchor Strut
    GF0020461Courtesy of FORD MOTOR CO.
  83. Remove the No. 8 sprocket thrust washer and the No. 9 bearing and race from the driven sprocket support.
    1. Remove the No. 9 bearing and race.
    2. Remove the No. 8 sprocket support.
  84. Fig 47: No. 9 Bearing & Race, & No. 8 Sprocket Support
    GF0020462Courtesy of FORD MOTOR CO.
  85. Install only the No. 9 needle bearing with the outer lip upward.
  86. Fig 48: No. 9 Needle Bearing
    GF0020463Courtesy of FORD MOTOR CO.
  87. Install the special tool over the output shaft until it is fully seated on to the No. 9 needle bearing.
  88. Fig 49: Installing Special Tool (307--320) Over Output Shaft
    GF0020464Courtesy of FORD MOTOR CO.
  89. Install the special tool to make the measurements.
  90. Fig 50: Identifying Special Tools (303--D075), (307--300), And (307--320)
    GF0020465Courtesy of FORD MOTOR CO.
  91. When taking the measurement, record readings on both sides of the output shaft 180 degrees apart from each other. Add both readings and divide by 2 to obtain reading A.
  92. Fig 51: Taking Measurements Using Special Tool (307-300), (303-D075) And (307-320)
    GF0020466Courtesy of FORD MOTOR CO.
    NOTE: Reading A and Dimension C from the chart will be used in the selection of the No. 5 thrust washer.
  93. Use reading A to select the correct No. 8 thrust washer from the chart.
    NO. 8 THRUST WASHER SELECTION CHART

    Reading A Washer Thickness Dimension C Color/ID
    42.88-43.10 mm (1.688-1.696 in) 1.43-1.53 mm (0.056-0.060 in) 1.48 mm (0.058 in) Natural (No. 1)
    43.11-43.34 mm (1.697-1.706 in) 1.68-1.78 mm (0.066-0.070 in) 1.73 mm (0.068 in) Dark Green (No. 2)
    43.35-43.59 mm (1.707-1.716 in) 1.92-2.02 mm (0.075-0.080 in) 1.97 mm (0.077 in) Light Blue (No. 3)
    43.60-43.77 mm (1.717-1.723 in) 2.17-2.27 mm (0.085-0.089 in) 2.22 mm (0.087 in) Red (No. 4)
    43.78-43.98 mm (1.724-1.731 in) 2.35-2.45 mm (0.093-0.096 in) 2.40 mm (0.094 in) Black (No. 5)
  94. Remove the special tools.
  95. Fig 52: Identifying Special Tools (303--D075), (307--300), And (307--320)
    GF0020465Courtesy of FORD MOTOR CO.
  96. Install the special tools to take the measurements.
  97. Fig 53: Identifying Special Tool (307-300) And (303-D075)
    GF0020467Courtesy of FORD MOTOR CO.
  98. Measure down to the No. 5 thrust washer mating surface of the overdrive drum. Take another reading on the other side of the drum 180 degrees from the first one. Add both readings and divide by 2 to obtain reading B.
  99. Fig 54: Taking Measurements Using Special Tool (307-300) And (303-D075)
    GF0020468Courtesy of FORD MOTOR CO.
  100. Remove the special tools.
  101. Fig 55: Identifying Special Tool (307-300) And (303-D075)
    GF0020467Courtesy of FORD MOTOR CO.
    NOTE: Reading A was obtained during No. 8 thrust washer selection. Dimension C is found on the No. 8 thrust washer selection chart.
  102. Subtract reading A from Reading B and add the difference between A and B to dimension C. Record this reading as D.
     
    Reading B:
    - Reading A:
    Difference:
    +Dimension C:
    Reading D:
  103. Use Reading D to select the correct No. 5 thrust washer.
    NO. 5 SUPPORT THRUST WASHER CHART

    Reading D Washer Thickness Color/ID
    26.08-26.37 mm (1.027-1.038 in) 2.18-2.28 mm (0.086-0.090 in) Green (No. 1)
    26.38-26.61 mm (1.039-1.047 in) 2.43-2.53 mm (0.096-0.100 in) Black (No. 2)
    26.62-26.86 mm (1.048-1.057 in) 2.67-2.77 mm (0.105-0.109 in) Natural (No. 3)
    26.87-27.15 mm (1.058-1.068 in) 2.92-3.02 mm (0.115-0.119 in) Red (No. 4)
    27.16-27.50 mm (1.069-1.083 in) 3.26-3.36 mm (0.128-0.132 in) Blue (No. 5)
  104. NOTE: Use petroleum jelly to hold the No. 5 thrust washer in place.
  105. Install the No. 5 front support thrust washer.
  106. Fig 56: No. 5 Front Support Thrust Washer
    GF0020469Courtesy of FORD MOTOR CO.
    CAUTION: The No. 9 direct hub needle bearing may still be inside the transaxle from the No. 8 driven sprocket support thrust washer selection procedure. Use petroleum jelly to hold bearing and washer in place.
  107. Install the correct bearing.
    1. Install the correct No. 8 driven sprocket support thrust washer.
    2. Install the No. 9 direct clutch needle bearing.
  108. Fig 57: No. 8 Driven Sprocket Support Thrust Washer & No. 9 Direct Clutch Needle Bearing
    GF0020470Courtesy of FORD MOTOR CO.
  109. Install the driven sprocket support assembly.
  110. Fig 58: Driven Sprocket Support Assembly
    GF0020471Courtesy of FORD MOTOR CO.
  111. Install the neutral/drive accumulator cover.
    1. Install the neutral/drive accumulator piston.
    2. Install the neutral/drive accumulator spring.
      • The outer spring is yellow in color.
      • The inner spring is grey in color.
    3. Install the neutral/drive accumulator cover.
  112. Fig 59: Identifying Neutral/Drive Accumulator Spring
    GF0020472Courtesy of FORD MOTOR CO.
  113. Install the neutral/drive accumulator bolt.
    • Tighten to 11 Nm (8 lb-ft).
  114. Fig 60: Neutral/Drive Accumulator Bolt
    GF0020215Courtesy of FORD MOTOR CO.
    NOTE: All the fluid supply tubes must have new O-rings installed.
  115. Install the fluid supply tubes.
  116. Fig 61: Fluid Supply Tubes
    GF0020473Courtesy of FORD MOTOR CO.
  117. Install the fluid lube tube brackets and bolts.
    • Tighten to 11 Nm (8 lb-ft).
  118. Fig 62: Fluid Transfer Tube Brackets
    GF0020212Courtesy of FORD MOTOR CO.
  119. Using the special tool, install the manual control lever shaft seal.
  120. Fig 63: Installing Manual Control Lever Shaft Seal Using Special Tool (211-161)
    GF0020474Courtesy of FORD MOTOR CO.
  121. Install the parking lever actuating rod.
    • Push in on the park pawl.
    • Slide the parking lever actuating rod down to fit in the park pawl.
  122. Fig 64: Parking Lever Actuating Rod
    GF0020475Courtesy of FORD MOTOR CO.
    NOTE: The manual control valve detent lever must be installed with the shoulder and roll pin hole pointing toward the driven sprocket support.
  123. Install the manual control lever shaft.
  124. Fig 65: Locating Manual Control Lever Shaft
    GF0020209Courtesy of FORD MOTOR CO.
    NOTE: Prior to installing the roll pins be sure that the manual control valve detent lever shoulder and roll pin hole is pointing toward the driven sprocket support.
  125. Install the roll pins.
  126. Fig 66: Locating Roll Pins
    GF0020208Courtesy of FORD MOTOR CO.
    NOTE: Apply petroleum jelly to the drive sprocket thrust washer and driven sprocket thrust washer to hold them in place.
  127. Install the thrust washers.
    1. Install the No. 2 drive sprocket thrust washer.
    2. Install the No. 4 driven sprocket thrust washer.
  128. Fig 67: Identifying No. 2 Thrust Washer & No. 4 Thrust Washer
    GF0020207Courtesy of FORD MOTOR CO.
    CAUTION: Be careful not to damage or bend the exciter tabs on the driven sprocket speed sensor wheel. The TSS sensor will not operate correctly if the tabs are bent.
    NOTE: Lower the assembly into the sprocket supports simultaneously.
  129. Install the drive chain and sprockets.
  130. Fig 68: Drive Chain & Sprockets Assembly
    GF0020476Courtesy of FORD MOTOR CO.
  131. Install the shift accumulator springs.
    1. Install the 1-2 shift accumulator piston spring (no color or brown).
    2. Install the 2-3 shift accumulator piston spring (no color or brown).
    3. Install the reverse shift accumulator piston spring (pink).
    4. Install the 3-4 shift accumulator piston spring (pink).
  132. Fig 69: Identifying Shift Accumulator Springs
    GF0020205Courtesy of FORD MOTOR CO.
    NOTE: Make sure that the alignment pins are installed in the case.
  133. Install the new chain cover gasket.
  134. Fig 70: Locating Chain Cover Gasket
    GF0020477Courtesy of FORD MOTOR CO.
    CAUTION: Be extremely careful not to damage the cast iron sealing ring.
  135. Use petroleum jelly to hold thrust washers in place during assembly.
    1. Install the No. 1 thrust washer.
    2. Install the No. 2 thrust washer.
    3. Install the chain cover.
  136. Fig 71: Thrust Washers & Chain Cover
    GF0020478Courtesy of FORD MOTOR CO.
    NOTE: After installing the chain cover the input shaft should have some end play and should rotate freely. Apply gentle downward pressure on the chain cover to overcome spring pressure.
  137. Start the 2 chain cover bolts.
  138. Fig 72: 2 Cover Bolts
    GF0020479Courtesy of FORD MOTOR CO.
  139. Install the remaining bolts.
    1. Tighten to 30 Nm (22 lb-ft).
    2. Tighten to 13 Nm (10 lb-ft).
    3. Tighten to 28 Nm (21 lb-ft).
    4. Tighten to 41 Nm (30 lb-ft).
  140. Fig 73: Locating Bolts
    GF0020480Courtesy of FORD MOTOR CO.
  141. Install the bolts.
    1. Tighten to 13 Nm (10 lb-ft).
    2. Tighten to 30 Nm (22 lb-ft).
  142. Fig 74: Installing Bolts
    GF0020481Courtesy of FORD MOTOR CO.
    CAUTION: The test spring from the overdrive servo rod tool is plain in color and has a shorter free height than the operational spring. Extreme care must be used not to assemble the transaxle using the test spring.
  143. Inspect the spring height.
    1. Test spring.
    2. Original spring.
  144. Fig 75: Identifying Test Spring & Original Spring
    GF0020482Courtesy of FORD MOTOR CO.
  145. Check overdrive servo travel. Install the overdrive servo piston.
    1. Install the test spring.
    2. Install the overdrive servo piston.
  146. Fig 76: Test Spring & Overdrive Servo Piston
    GF0020483Courtesy of FORD MOTOR CO.
  147. Install the special tools.
    • Tighten to 10 Nm (89 lb-in).
  148. Fig 77: Identifying Special Tool (307-162) And (100-002)
    GF0020484Courtesy of FORD MOTOR CO.
  149. Using the special tools, tighten the center screw and zero out the dial indicator.
    • Tighten to 1.13 Nm (10 lb-in).
  150. Fig 78: Identifying Special Tool (307-162) And (100-002)
    GF0020485Courtesy of FORD MOTOR CO.
  151. Using the special tools, back off the center screw until the piston movement stops and read the dial indicator. The reading should be within specification. If the reading does not match the specification, see the overdrive specification chart and determine which overdrive servo rod to use.
  152. Fig 79: Checking Piston Movement (With Specifications)
    GF0020486Courtesy of FORD MOTOR CO.
  153. If the overdrive servo travel was incorrect, install a new overdrive servo rod. Zero the dial indicator and repeat the above step to verify the amount of piston travel. If within specification, remove the tool and test spring.
    OVERDRIVE PISTON ROD SELECTION CHART

    Overdrive Servo Rod Length No. of Groovesa
    mm Inch
    99.33 3.91 0
    98.05 3.86 1
    96.78 3.81 2

    a Grooves are at the tip.

  154. CAUTION: Do not assemble the transaxle using the test spring.
  155. Install the overdrive servo.
    1. Install the overdrive servo spring.
    2. Install the overdrive servo.
    3. Install the overdrive servo cover and bolts.
      • Tighten to 13 Nm (10 lb-ft).
  156. Fig 80: Identifying Overdrive Servo Cover & Bolts
    GF0020487Courtesy of FORD MOTOR CO.
  157. Install the special tools.
  158. Fig 81: Identifying Special Tool (307-313), (307-312) And (307-126)
    GF0020488Courtesy of FORD MOTOR CO.
    WARNING: Wear safety glasses while carrying out this procedure to prevent personal injury.
    NOTE: When applying regulated 276 kPa (40 psi) air pressure to the appropriate passage, a dull thud should be heard when the clutch or band applies. There should be no hissing sound when the clutch or band applies.
    NOTE: Plugging the vent hole during the test will provide an inaccurate result.
  159. Cover the vent hole in the test plate with a clean lint free shop towel to prevent spray when air is applied. Apply air pressure to the appropriate clutch ports.
    Item Part Number Description
    1 - 1-2 accumulator test passage
    2 - Overdrive servo test passage
    3 - Direct clutch test passage
    4 - Low/intermediate clutch and accumulator test passage
    5 - Coast band test passage
    6 - Reverse clutch test passage
    7 - 3-4 accumulator test passage
    8 - Neutral/reverse accumulator test passage
    9 - Vent hole
    10 - Forward clutch test passage
    11 - Intermediate clutch test passage
    12 - 2-3 accumulator test passage
  160. Fig 82: Identifying Air Pressure To Appropriate Clutch Ports
    GF0020489Courtesy of FORD MOTOR CO.
    CAUTION: The seals must be lapped correctly or internal leakage will occur.
  161. Install the new Teflon® seals on the pump shaft.
  162. Fig 83: Properly Aligned Seal Ends
    GF0020254Courtesy of FORD MOTOR CO.
  163. Install the pump shaft.
  164. Fig 84: Installing Pump Shaft
    GF0020490Courtesy of FORD MOTOR CO.
  165. Install the manual valve detent lever.
  166. Fig 85: Manual Valve Detent Lever
    GF0020491Courtesy of FORD MOTOR CO.
  167. Install the main control valve body over the pump shaft and connect the main control valve actuating rod while pushing down until it is seated on the chain cover.
  168. Fig 86: Main Pump Assembly & Main Control Valve Body
    GF0020122Courtesy of FORD MOTOR CO.
    CAUTION: Do not use the bolts to draw pump assembly and main control valve body onto the chain cover case. Component damage may occur.
  169. Use the valve body guide pins to install the pump assembly and main control valve body. Install the bolts and tighten in sequence shown.
    • Tighten to 13 Nm (10 lb-ft).
  170. Fig 87: Identifying Tightening Sequence Of Pump Cover Bolt
    GF0020123Courtesy of FORD MOTOR CO.
  171. Connect the connectors.
  172. Fig 88: Electrical Connectors
    GF0020119Courtesy of FORD MOTOR CO.
    NOTE: The transaxle side cover gasket is reusable if not torn or ripped.
  173. Remove the gasket. Clean and inspect the gasket, and reinstall into the pan.
  174. Fig 89: Locating Transaxle Side Cover Gasket
    GF0020124Courtesy of FORD MOTOR CO.
  175. Loosely install the 15 transaxle side pan bolts.
  176. Fig 90: Locating Remaining Bolts & Main Control Cover
    GF0020118Courtesy of FORD MOTOR CO.
  177. Tighten the 4 transaxle side pan bolts.
    • Tighten to 12 Nm (9 lb-ft).
  178. Fig 91: Locating Transaxle Side Pan Bolts
    GF0020125Courtesy of FORD MOTOR CO.
  179. Tighten the 11 transaxle side pan bolts.
    • Tighten to 29 Nm (21 lb-ft).
  180. Fig 92: Locating Transaxle Side Pan Bolts
    GF0020126Courtesy of FORD MOTOR CO.
  181. Install the mount bracket and bolts.
    • Tighten to 62 Nm (46 lb-ft).
  182. Fig 93: Locating Rear Engine Support Mount Bracket Bolts
    GF0020177Courtesy of FORD MOTOR CO.
  183. Tighten the reverse clutch anchor bolt.
    1. Tighten the anchor bolt to 11 Nm (8 lb-ft).
    2. Tighten the locknut to 54 Nm (40 lb-ft).
  184. Fig 94: Identifying Reverse Clutch Anchor Bolt
    GF0020492Courtesy of FORD MOTOR CO.
  185. Install the new seal and gasket kit and seal assembly.
  186. Fig 95: Transmission Filter
    GF0020200Courtesy of FORD MOTOR CO.
  187. Install the fluid pan magnet.
  188. Fig 96: Locating Fluid Pan Magnet
    GF0020199Courtesy of FORD MOTOR CO.
    NOTE: The gasket is reusable if not damaged or torn.
  189. Install the transmission fluid pan, gasket and bolts.
    • Tighten to 12 Nm (9 lb-ft).
  190. Fig 97: Locating Transmission Fluid Pan And Gasket
    GF0020198Courtesy of FORD MOTOR CO.
  191. Install the turbine shaft speed (TSS) sensor.
    • Tighten to 11 Nm (8 lb-ft).
  192. Fig 98: Identifying Turbine Shaft Speed (TSS) Sensor & Bolt
    GF0020493Courtesy of FORD MOTOR CO.
    NOTE: Locate and align the orange dot adjacent to the stud on the torque converter and place it in the 6 o'clock position.
  193. Verify that the shift selector lever is in NEUTRAL.
  194. Install the digital TR sensor and loosely install the bolts.
  195. Fig 99: Digital TR Sensor & Bolts
    GF0020494Courtesy of FORD MOTOR CO.
  196. Using the special tool, align the digital TR sensor.
    • Tighten to 11 Nm (8 lb-ft).
  197. Fig 100: Aligning TR Sensor Using Special Tool (307-351)
    GF0020495Courtesy of FORD MOTOR CO.
  198. Install the fluid filler tube with a new grommet.
    1. Install the filler tube grommet.
    2. Install the fluid filler tube and bolt.
    3. Tighten to 13 Nm (10 lb-ft).
  199. Fig 101: Installing Fluid Filler Tube
    GF0020496Courtesy of FORD MOTOR CO.
  200. Using the special tool, install the LH output shaft seal.
  201. Fig 102: Installing LH Output Shaft Seal Using Special Tool (303-157)
    GF0020146Courtesy of FORD MOTOR CO.
  202. Using the special tool, install the RH output shaft seal.
  203. Fig 103: Installing RH Output Shaft Seal Using Special Tool (307-157) And (307-317)
    GF0020147Courtesy of FORD MOTOR CO.
  204. Install the output shaft speed (OSS) sensor and reconnect the harness.
  205. Fig 104: Locating Output Shaft Speed (OSS) Sensor
    GF0020190Courtesy of FORD MOTOR CO.
  206. Install the OSS sensor cover.
    1. Install the OSS sensor cover.
    2. Install the OSS sensor cover bolt.
      • Tighten to 11 Nm (8 lb-ft).
    3. Connect the OSS sensor electrical connector to the bracket.
  207. Fig 105: Identifying OSS Sensor Electrical Connector
    GF0020497Courtesy of FORD MOTOR CO.
  208. Install the identification tag, if removed.
  209. Fig 106: Identification Tag
    GF0020185Courtesy of FORD MOTOR CO.
    NOTE: Locate and align the orange dot adjacent to the stud on the torque converter and place it in the 6 o'clock position.
  210. Using the special tools, install the torque converter.
  211. Fig 107: Identifying Special Tool (307-091)
    GF0020183Courtesy of FORD MOTOR CO.