LEMON Manuals: Even more car manuals for everyone: 1960-2025
Home >> Ford >> 2008 >> Focus L4-2.0L >> Repair and Diagnosis >> Specifications >> Mechanical Specifications >> Engine >> Timing Components >> System Specifications
April 5, 2026: LEMON Manuals is launched! Read the announcement.

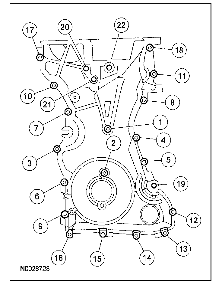
System Specifications

Timing Chain Tensioner Bolts 10 Nm (89 lb-in).

Crankshaft Pulley Bolt

Remove and discard the crankshaft pulley bolt and washer.

First pass 100 Nm (74 lb-ft).
Final pass Tighten an additional 90° (1/4 turn)

Engine Front Cover Bolts





8-mm bolts 10 Nm (89 lb-in).
13-mm bolts 48 Nm (35 lb-ft).