LEMON Manuals: Even more car manuals for everyone: 1960-2025
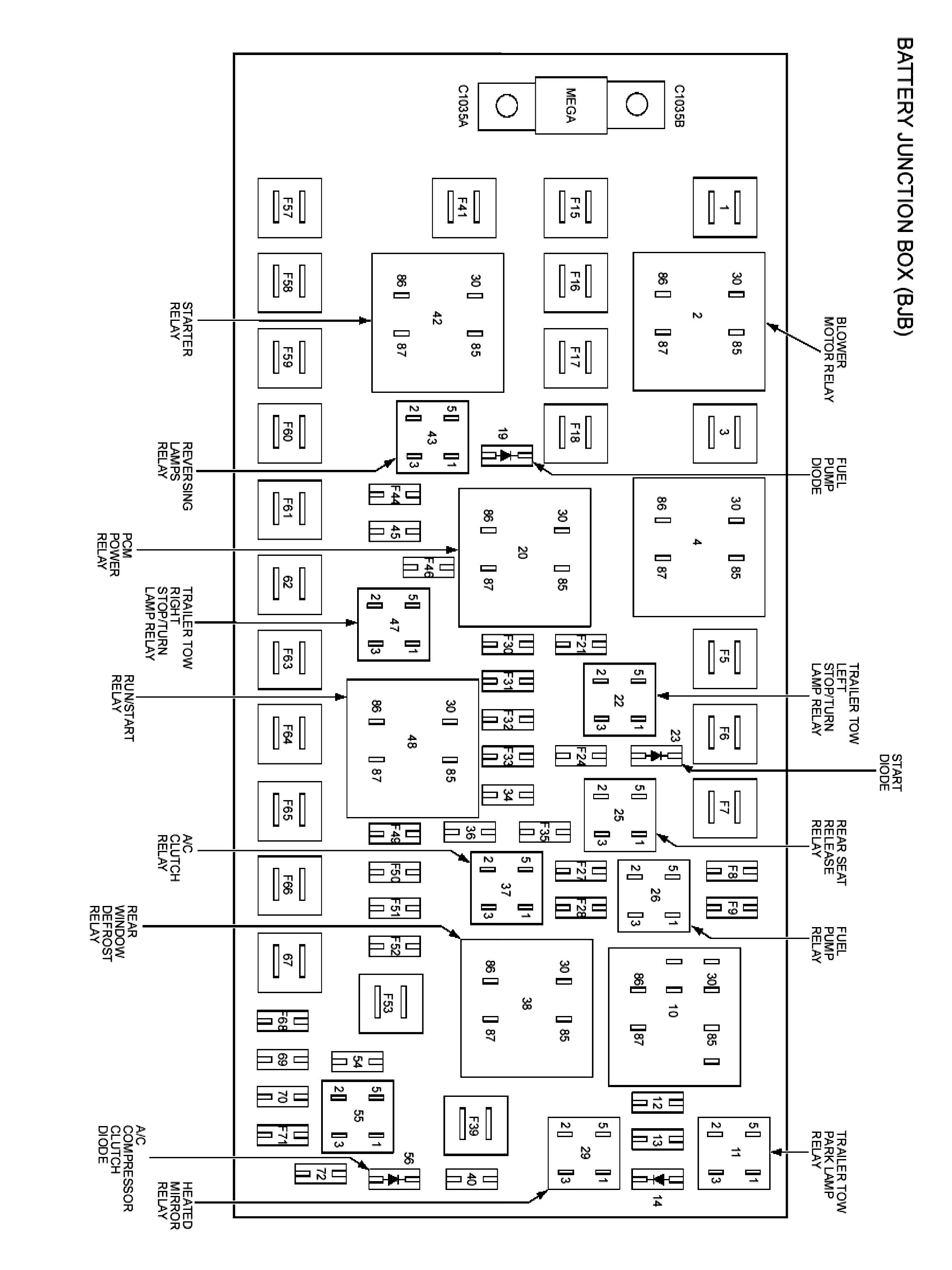
Home >> Ford >> 2009 >> Edge FWD V6-3.5L >> Repair and Diagnosis >> Powertrain Management >> Computers and Control Systems >> Main Relay (Computer/Fuel System) >> Locations
April 5, 2026: LEMON Manuals is launched! Read the announcement.

Main Relay (Computer/Fuel System): Locations