LEMON Manuals: Even more car manuals for everyone: 1960-2025
Home >> Ford >> 2009 >> Edge SE, AWD >> Repair and Diagnosis >> Accessories & Equipment >> Accessories Control Systems >> Component Testing >> Introduction >> Multifunction switch, Lamp portion >> Schematic
April 5, 2026: LEMON Manuals is launched! Read the announcement.

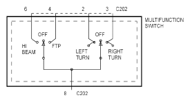
Multifunction switch, Lamp portion: Schematic

Fig 1: Multifunction Switch, Lamp Portion - Schematic
G05753115Courtesy of FORD MOTOR CO.