LEMON Manuals: Even more car manuals for everyone: 1960-2025
Home >> Ford >> 2011 >> Crown Victoria V8-4.6L >> Repair and Diagnosis >> Body and Frame >> Frame >> Service and Repair >> Frame Members
April 5, 2026: LEMON Manuals is launched! Read the announcement.

Frame Members




Frame Members









Front Frame Rail Service Kit









Frame Front Crossmember









NOTE: Viewed from bottom.










WARNING: Never install used or reconditioned parts (as specified below) from pre-owned, salvaged or damaged vehicles. The use of such parts could lead to serious injury.

Never use non-Ford parts or accessories for completing repairs.

Ford Motor Company does not approve or recognize body and structural repair procedures, tools, parts or anything but new genuine Ford equipment. Ford cannot attest to the safety, quality, durability or legality of non-Ford parts or accessories. Use of such parts could lead to serious personal injury as they may contain damage which is not visible.

Ford does not approve use of the following:
- Salvaged or used parts
- Major body clips or assemblies from salvage vehicles
- Aftermarket structural or body components
- Salvaged or reconditioned wheels
- Used supplemental restraint system (SRS) components
- air bags
- restraint system modules
- safety belts, buckles or retractors
- crash sensors

Returning a vehicle to pre-accident condition can only be assured if repair procedures are carried out by skilled technicians using new genuine Ford parts and Ford-approved methods. Structural component repair procedures approved by Ford, using genuine Ford parts, have been validated by Ford Motor Company engineers.

Ford Motor Company does not endorse, cannot attest to, and makes no representations regarding structural repairs (frames, rails, aprons and body panels) carried out using non-genuine Ford Motor Company parts or non-Ford-approved methods. In particular, Ford makes no representations that the vehicle will meet any crash safety or anti-corrosion performance requirement. Such parts and methods have not been tested by Ford, and may not meet Ford's requirements for safety, performance, strength, quality, durability and corrosion protection.

Ford Motor Company bears no responsibility or liability of any kind if repairs are performed using alternative structural component repair procedures and/or parts.


WARNING: Invisible ultraviolet and infrared rays emitted in welding can injure unprotected eyes and skin. Always use protection such as a welder's helmet with dark-colored filter lenses of the correct density. Electric welding will produce intense radiation, therefore, filter plate lenses of the deepest shade providing adequate visibility are recommended. It is strongly recommended that persons working in the weld area wear flash safety goggles. Also wear protective clothing. Failure to follow these instructions may result in serious personal injury.

WARNING: Always wear protective equipment including eye protection with side shields, and a dust mask when sanding or grinding. Failure to follow these instructions may result in serious personal injury.

WARNING: Shut off the electrical power to the air suspension system prior to hoisting or jacking an air suspension equipped vehicle. Failure to do so may result in unexpected inflation or deflation of the air springs, which may result in shifting of the vehicle during these operations. Failure to follow this instruction may result in serious personal injury.

NOTICE: The following applies only to non-fire suppression equipped vehicles. Fire suppression equipped vehicles require the entire frame be replaced. Failure to follow this direction will compromise system operation.

NOTICE: The following steps provide the procedure for replacing the front frame rails. The frame is designed with energy absorbing convolutions in the front frame rails to absorb crash energy. This convolute section of the frame MUST NOT be straightened if the convoluted surfaces show evidence of collapse or buckling. Additionally, if any evidence of damage exists behind the No. 2 crossmember (buckling, cracking), then the entire frame must be replaced.

NOTE: Corrosion protection needs to be restored whenever it is necessary to sand or grind through painted surfaces or E-coat, or when bare metal repairs are made. For additional information, refer to Restoring Corrosion Protection Following Repair .

NOTE: The replacement front rail will be cut and welded to the existing frame using a sleeved butt joint. The sleeve will be made from the unused portion of the service replacement rails.

1. NOTE: All body alignment measurements are carried out with the vehicle trim removed. Measurements are made metal to metal, on center unless otherwise specified.

Measure the vehicle to determine if the body requires straightening and alignment. For body dimensional information, refer to Body .

- Anchor the vehicle to a frame rack following the manufacturer's instructions.

2. Remove the front bumper. For additional information, refer to Bumpers Bumper - Front.

3. Remove the radiator. For additional information, refer to Engine Cooling Service and Repair.
- Drill out spot welds that attach the radiator support, as required, and remove the radiator support.

4. Remove the engine. For additional information, refer to Engine - 4.6L (2V) Engine - Removal.

5. Remove the suspension components. For additional information, refer to Front Suspension Suspension.

6. Using a plasma cutter, reciprocating saw or cut-off wheel, remove the No. 1 crossmember as necessary.





7. Remove the No. 2 crossmember.

8. Measure in a straight line the diagonal distance from the center of master locator hole A1 (2), to the No. 2 crossmember front mounting hole (7), and record. Repeat for master locator hole A2 (6), to the No. 2 crossmember front mounting hole on the opposite side. The difference in these distances must not exceed 6 mm (0.23 in). If the difference is greater than 6 mm (0.23 in), the entire frame must be replaced.





9. NOTE: Observe prescribed welding procedures when carrying out frame rail service kit replacement. For additional information, refer to Welding Precautions - Steel .

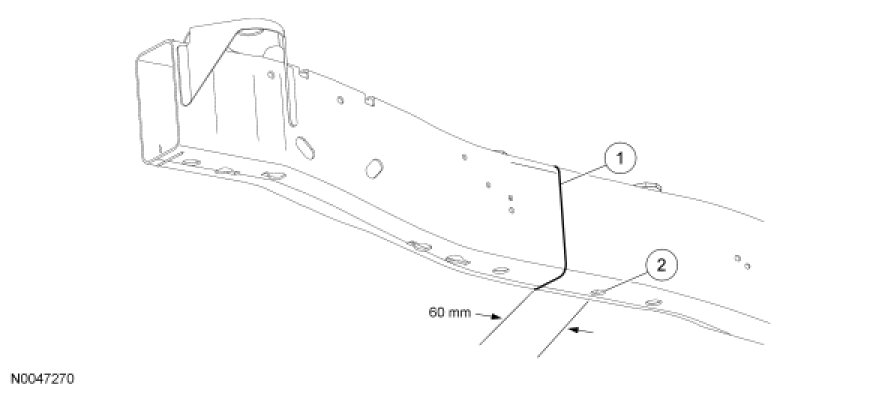
Using a plasma cutter, reciprocating saw or cut-off wheel, cut off the damaged front rail section at cut line (1). Do not cut directly along the scribed line. Leave enough material on the front side of the scribe line to allow the edge to be ground exactly to the line. This is necessary to make sure of correct fit up between the frame and replacement rail section.

1. Scribe a vertical cut line 60 mm (2.36 in) in front of the No. 2 crossmember locating hole.

2. No. 2 crossmember locating hole.





10. Grind off the excess damaged frame in front of the scribed line on the existing rails.
- Grind a 45 degree bevel along the edge of the existing rail.

11. Drill four 10 mm (0.39 in) holes in the damaged frame, top and bottom surfaces, to aid future plug welding of the inner reinforcement sleeve. Hole locations are 20 mm (0.78 in) to the rear of the cut line and 30 mm (1.18 in) from the edge of the frame rail.





12. Drill four 10 mm (0.39 in) holes in the damaged frame, inner and outer surfaces, to aid plug welding of the inner reinforcement sleeve. Hole locations are 20 mm (0.78 in) to the rear of the cut line and 45 mm (1.77 in) from the top and bottom surfaces.





13. Remove the E-coat from the edges, including around the holes to be welded, by grinding or sanding the frame until bare metal is visible.
- Wire brush any foreign material from the frame edges within 15 mm (0.59 in) of the repair joint.

14. To prepare for installation, the service part rail will be cut between cut lines 1 and 3. Scribe cut lines 1, 2 and 3 (cut line 2 will be used later in the procedure to make the reinforcement sleeve).

1. Cut line 1 is 55 mm (2.16 in) in front of the center of the No. 2 crossmember locating hole.

2. Cut line 2 is 10 mm (0.39 in) rearward of the No. 2 crossmember locating hole.

3. Cut line 3 is 65 mm (2.55 in) in front of the center of the No. 2 crossmember locating hole.





15. Drill four 10 mm (0.39 in) holes in the service replacement frame, top and bottom surfaces, to aid future plug welding of the inner reinforcement sleeve. Hole locations are 15 mm (0.59 in) forward of cut line 3 (previously scribed), and 27 mm (1.06 in) and 30 mm (1.18 in) from the edge of the frame rail.





16. Drill four 10 mm (0.39 in) holes in the service replacement frame, inner and outer surfaces, to aid future plug welding of the inner reinforcement sleeve. Hole locations are 15 mm (0.59 in) forward of cut line 3, and 45 mm (1.77 in) from the top and bottom surfaces.





17. Using a reciprocating saw, plasma cutter or cut-off wheel, cut the service part rail at cut line 3. Do not cut directly along the scribe line: cut between lines 1 and 3 leaving enough material on the rear side of line 3 to allow the edge to be ground exactly to the line. This is necessary to make sure of correct fit up between the frame and the replacement rail section.

1. Cut line 1 is 55 mm (2.16 in) in front of the center of the No. 2 crossmember locating hole.

2. Cut line 2 is 10 mm (0.39 in) rearward of the No. 2 crossmember locating hole.

3. Cut line 3 is 65 mm (2.55 in) in front of the center of the No. 2 crossmember locating hole.





18. Grind off the excess frame material to the rear of cut line 3 on the service part rail.

19. Grind a 45 degree bevel along the edge of the service part rail.

20. Remove the E-coat from the edges, including around the holes to be welded, by grinding or sanding the frame until bare metal is visible.
- Wire brush any foreign material from the frame edges within 15 mm (0.59 in) of the repair joint.

21. NOTE: Make note of the orientation of the sleeve (front and top) for future reference to the sleeve.

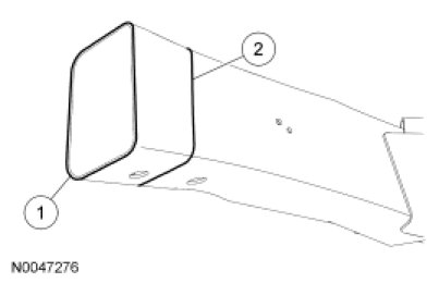
Fabricate a reinforcement sleeve from the leftover portion of the service part. Make a cut just to the rear of cut line 2. This produces a sleeve that is 70 mm (2.75 in) to 75 mm (2.95 in) long, depending on the exact location of the cut made between cut lines 1 and 3.

1. Cut line 1 is 55 mm (2.16 in) from the center of No. 2 crossmember locating hole.

2. Cut line 2 is 10 mm (0.39 in) rearward of the No. 2 crossmember locating hole. Make the cut just to the rear of the cut line.





22. Scribe 4 marks onto each face of the sleeve to aid in drawing scribe lines.
- On the sleeves outside face, measure and scribe a mark 70 mm (2.75 in) up from the bottom surface along both front and rear edges, and 70 mm (2.75 in) down from the top along both front and rear edges. Repeat for the sleeves inside face.

- On the sleeves top face measure and scribe a mark 41.5 mm (1.63 in) out from the inside surface along both front and rear edges, 51 mm (2 in) in from the outside surface along the front edge, and 43.5 mm (1.71 in) in from the outside surface along the rear edge.





23. Connect the scribed marks to form 8 straight lines. Cut the sleeve into 4 L-shaped pieces, checking that the 4 pieces fit inside the existing frame.

24. Install the 4 pieces one at a time into the service replacement rail only. Trim the parts as needed for a flush fit against the inside surface of the rail. If installed on the existing frame first, the geometry of the frame may not allow the service replacement rail to slide over the sleeve.

25. Plug weld the sleeves into place through the 8 holes drilled previously.
- When the sleeves are in place, check the fit and alignment of the service part rail. Insert and support the rail and the sleeve into the vehicle, leaving a 5 mm (0.19 in) gap at the butt joint when measuring the alignment.





26. Check that the No. 2 crossmember aligns with the mounting holes on the frame rails.

27. Check the position of the front body mount on both the left and right hand rails. Measure the diagonal distance from master locator hole A1 to the front body mount and record it. Repeat for master locator hole A2. This distance should be 1,689 mm (66.49 in). The difference between the 2 measurements should not exceed 6 mm (0.23 in).
- If the measurements exceed 6 mm (0.23 in), adjust the frame rail until the No. 2 crossmember mounts correctly and the difference between the diagonal measurements is less than 6 mm (0.23 in).

28. Prepare all bare metal surfaces with metal surface prep. Apply weld-through primer to the immediate heat affected zone of the weld area.

29. Maintaining the 5 mm (0.19 in) gap at the butt joint, plug weld the replacement rail to the existing frame at the eight 10 mm (0.39 in) holes. Recheck the alignment of the frame and adjust as necessary.

30. Stitch-weld along the section joint using a Metal Inert Gas (MIG) welder with 0.9-1.1 mm (0.035-0.045 in) AWS ER70S-3 wire. Make 50 mm (1.96 in) welds on all 4 sides of the rail. Support the service replacement rail (1), and repeat the step to check the alignment of the rail.
- Complete the stitch-weld along the entire section joint. This will create a solid joint with minimal heat distortion.





31. Dress all welds as necessary.

32. Use a dye penetrant to determine if any cracks or large voids exist in the weld joint. If cracks or other defects exist, grind out the defect and repair until the weld is free of defects.
- Clean the repair area with metal surface prep and apply corrosion protection to the inside and outside of the frame.

33. Install the No. 1 crossmember.
- Remove the E-coat from the mating surfaces to be welded, 15 mm (0.59 in) from the edges or holes by grinding or sanding until bare metal is visible.

34. NOTE: Prepare all bare metal surfaces with metal surface cleaner. Apply weld-through primer to the immediate heat affected zone of the weld area.

Install the No. 1 crossmember.

1. Align the No. 1 crossmember on the frame rails. Using the master locator hole in the center of the crossmember for reference.

2. The distance between the left and right front body mount to the master locator hole is 520 mm (20.47 in) ± 3 mm (0.11 in).

3. Using a MIG welder, stitch-weld along the top and bottom 55 mm (2.16 in), where the No. 1 crossmember C-section meets the frame's top and bottom surface. Use 9 mm (0.35 in) AWS ER70S-3 wire.





35. Dress all welds as necessary.

36. Use a dye penetrant to determine if any cracks or large voids exist in the weld joint. If cracks or other defects exist, grind out the defect and repair until the weld is free of defects.
- Clean the repair area with metal surface cleaner and apply anti-corrosion coating to the bare metal areas.

37. Reinstall components removed during disassembly, making sure to tighten all fasteners to correct specification.

38. If equipped with an air suspension system, activate the power supply. This can be accomplished by reconnecting the battery or turning on the air suspension service switch located in the luggage compartment LH side.