LEMON Manuals: Even more car manuals for everyone: 1960-2025
Home >> Ford >> 2011 >> E 150 V8-4.6L >> Repair and Diagnosis >> Maintenance >> Alignment >> Service and Repair >> Ride Height Measurement
April 5, 2026: LEMON Manuals is launched! Read the announcement.

Ride Height Measurement




Ride Height Measurement


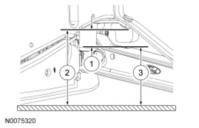
Front Ride Height Measurement










NOTE: Make sure that the vehicle is positioned on a flat, level surface and the tires are inflated to the correct pressure. Vehicle should have a full tank of fuel.

1. Measure the distance between the jounce bumper flange (Item 2) and the top of the axle at the casting parting line (Item 3) to obtain the ride height (Item 1). For additional information, refer to Specifications.


Rear Ride Height Measurement










NOTE: Make sure that the vehicle is positioned on a flat, level surface and the tires are inflated to the correct pressure. Vehicle should have a full tank of fuel.

1. Measure the distance between the frame flange turn down lip at the jounce bumper (Item 2) and the top of the axle tube (Item 3) to obtain the ride height (Item 1). For additional information, refer to Specifications.