LEMON Manuals: Even more car manuals for everyone: 1960-2025
Home >> Ford >> 2011 >> Fiesta L4-1.6L >> Repair and Diagnosis >> Diagrams >> Exploded Views >> Computers and Control Systems >> System Diagram
April 5, 2026: LEMON Manuals is launched! Read the announcement.

System Diagram




Engine Control Components - Exploded View





Camshaft Position (CMP) Sensor

NOTE: Lubricate the O-ring seals with clean engine oil.









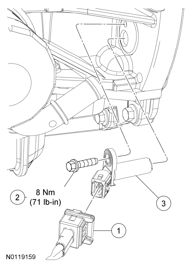
Crankshaft Position (CKP) Sensor









Mass Air Flow (MAF) Sensor









Heated Oxygen Sensor (HO2S) Sensor

NOTE: If necessary, lubricate the HO2S with penetrating and lock lubricant to assist in removal.

NOTE: Apply anti-seize to the threads of the HO2S prior to installing.

NOTE: The correct torque wrench setting must be calculated when using a commercially available exhaust gas sensor socket to install the HO2S.









Catalyst Monitor Sensor (CMS)

NOTE: If necessary, lubricate the CMS with penetrating and lock lubricant to assist in removal.

NOTE: Apply anti-seize to the threads of the CMS prior to installing.

NOTE: The correct torque wrench setting must be calculated when using a commercially available exhaust gas sensor socket to install the CMS.









Knock Sensor (KS)

NOTICE: The RH Knock Sensor (KS) must be installed in the 2 o'clock position and the LH KS must be installed in the 11 o'clock position. Failure to follow these instructions may result in damage to the engine.

NOTE: The intake manifold must be removed to access the KS. For additional information, refer to Engine - 1.6L Service and Repair.









Engine Coolant Temperature (ECT) Sensor

NOTE: The PCM must be removed to access the ECT sensor. For additional information, refer to Powertrain Control Module (PCM) Service and Repair .









Variable Camshaft Timing (VCT) Oil Control Solenoid

NOTE: Intake solenoid shown, exhaust solenoid similar.

NOTE: Lubricate the O-ring seals with clean engine oil.









Clutch Pedal Position (CPP) Switch









1. Refer to the procedures and/or exploded views for any Warnings, Notices, Notes, Materials, Specifications, and Special Tools. Items in the exploded views may not be listed in order of removal.