LEMON Manuals: Even more car manuals for everyone: 1960-2025
Home >> Ford >> 2011 >> Fiesta L4-1.6L >> Repair and Diagnosis >> Windows and Glass >> Windows >> Power Window Switch >> Testing and Inspection >> Master Window Control Switch
April 5, 2026: LEMON Manuals is launched! Read the announcement.

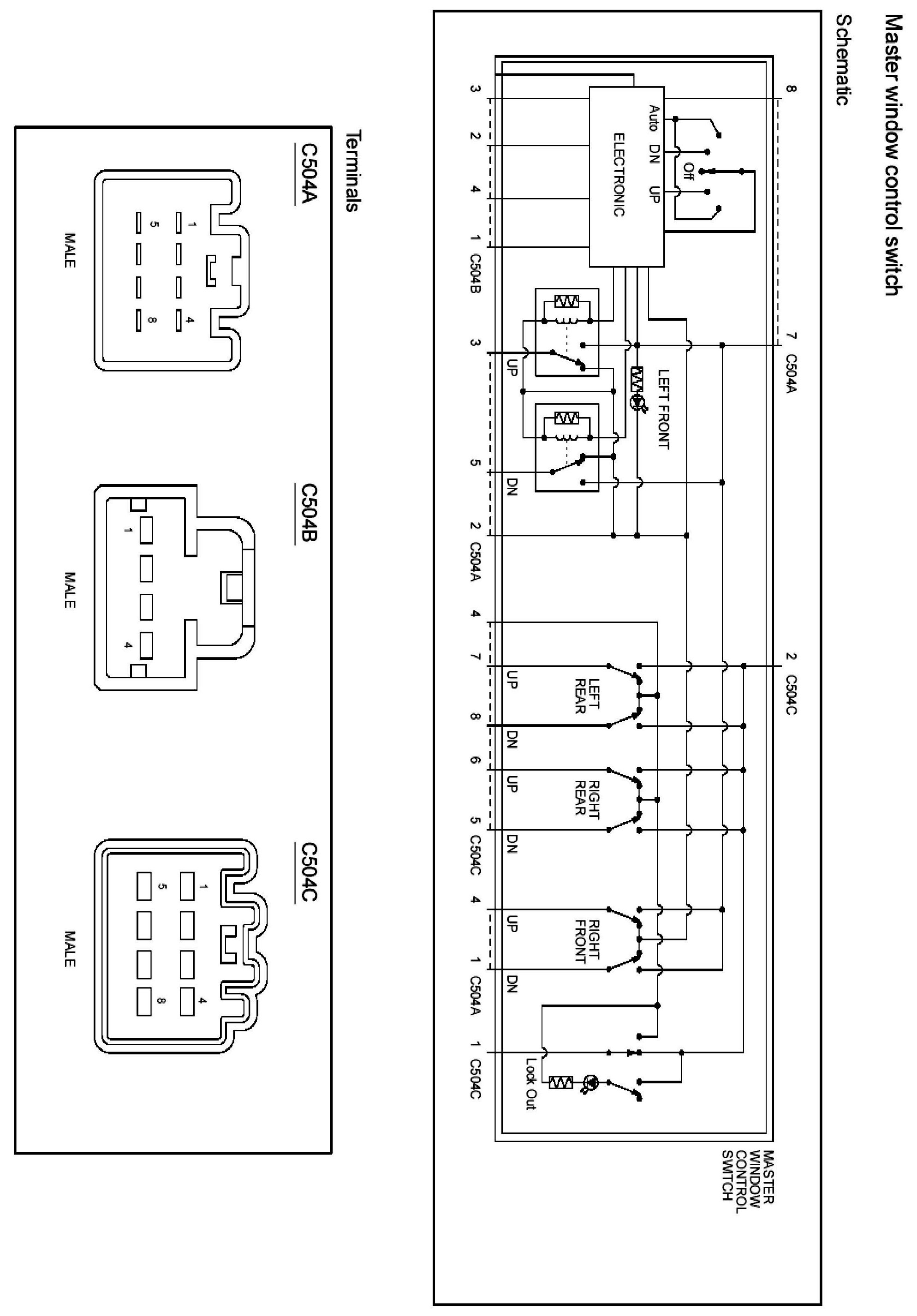
Master Window Control Switch