LEMON Manuals: Even more car manuals for everyone: 1960-2025
Home >> Ford >> 2011 >> Taurus FWD V6-3.5L >> Repair and Diagnosis >> Diagrams >> Connector Views >> Memory Positioning Module >> C341B Driver Seat Module (DSM)
April 5, 2026: LEMON Manuals is launched! Read the announcement.

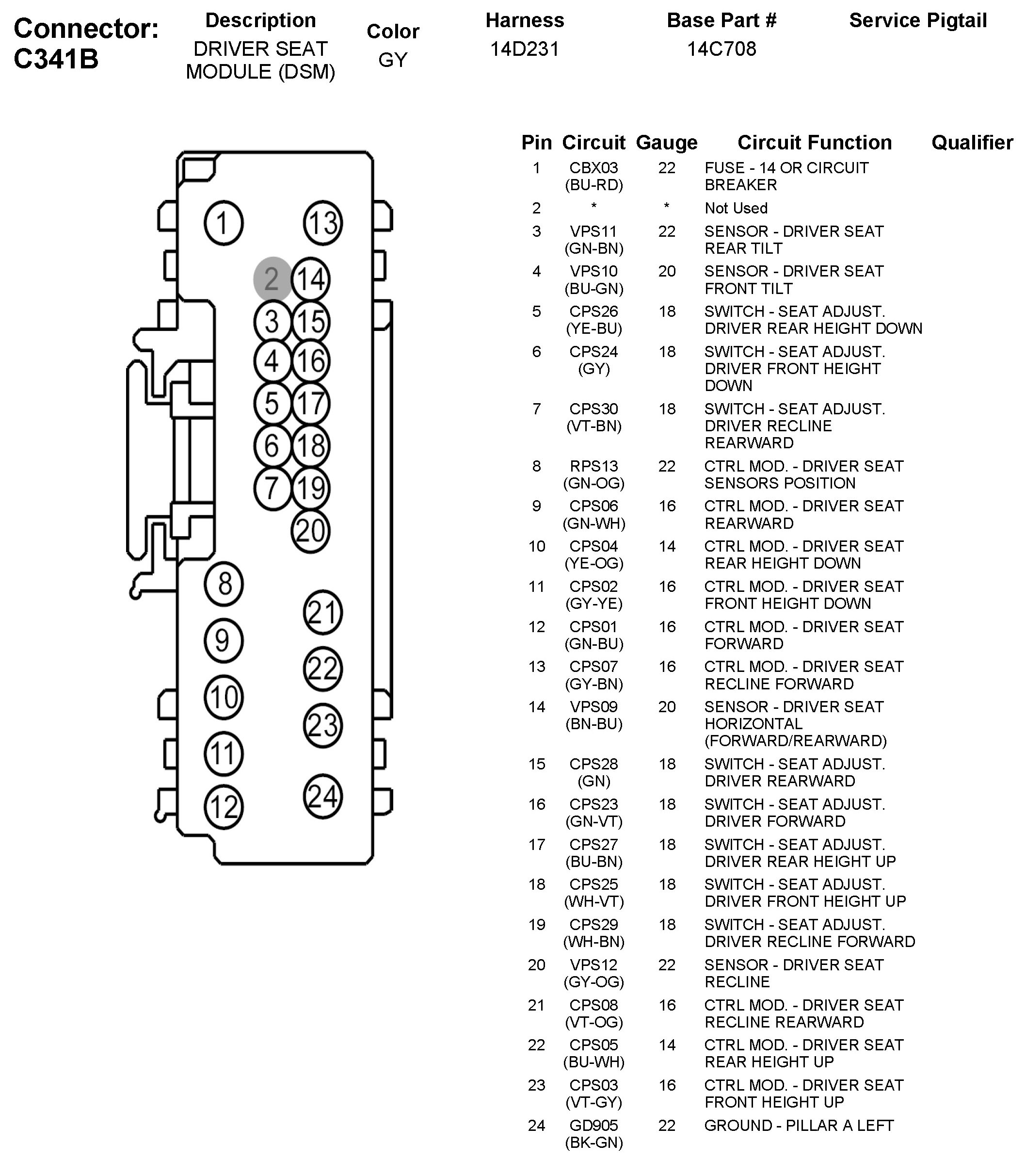
C341B Driver Seat Module (DSM)