LEMON Manuals: Even more car manuals for everyone: 1960-2025
Home >> Ford >> 2012 >> Edge AWD V6-3.5L >> Repair and Diagnosis >> Starting and Charging >> Starting System >> Start / Stop Switch >> Testing and Inspection
April 5, 2026: LEMON Manuals is launched! Read the announcement.

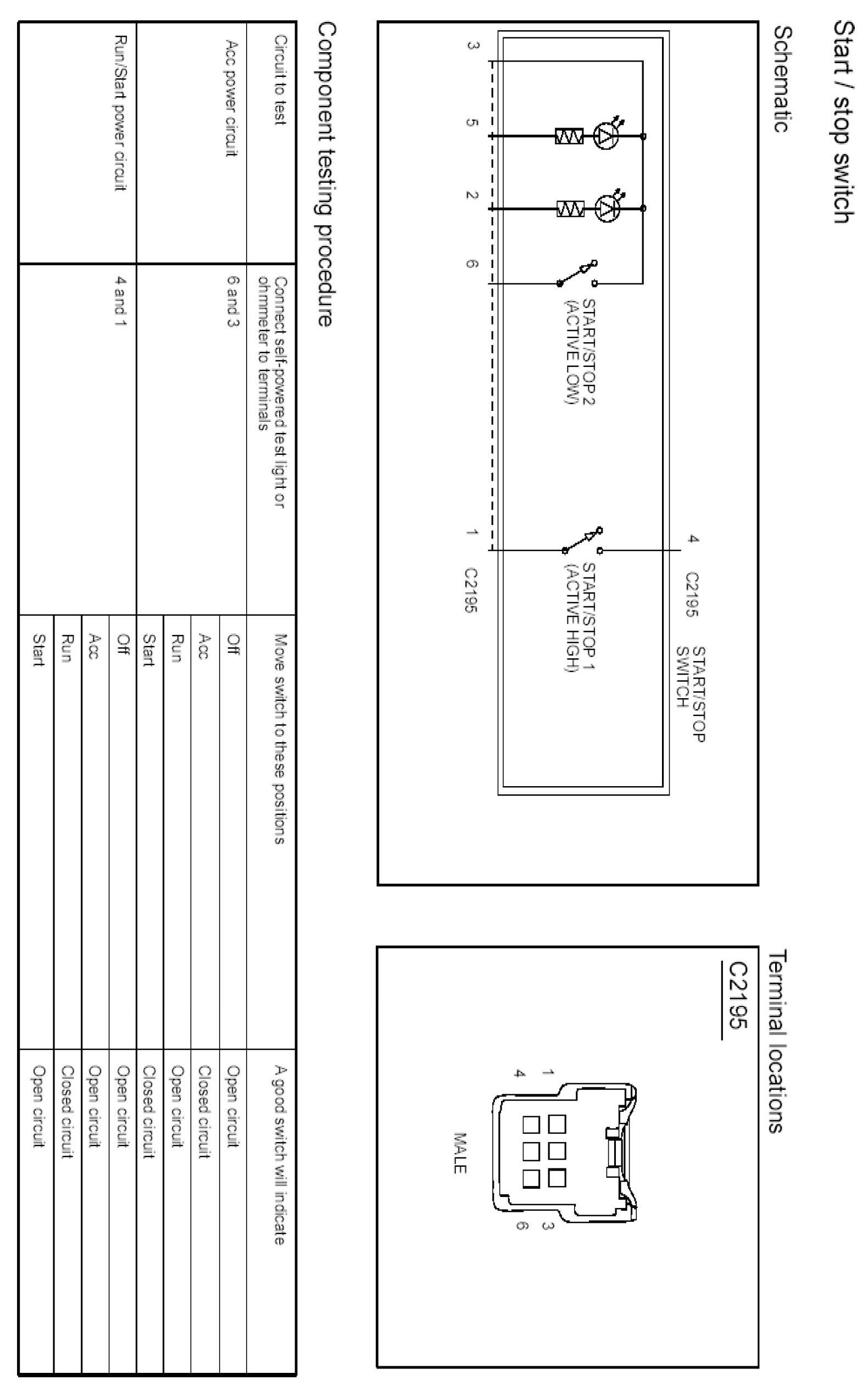
Start / Stop Switch: Testing and Inspection