LEMON Manuals: Even more car manuals for everyone: 1960-2025
Home >> Ford >> 2012 >> Fiesta L4-1.6L >> Repair and Diagnosis >> Diagrams >> Exploded Views >> Computers and Control Systems
April 5, 2026: LEMON Manuals is launched! Read the announcement.

Computers and Control Systems




Engine Control Components - Exploded View





Camshaft Position (CMP) Sensor

NOTE: Lubricate the O-ring seals with clean engine oil.










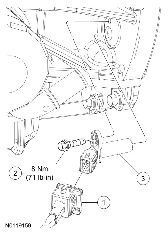
Crankshaft Position (CKP) Sensor










Mass Air Flow (MAF) Sensor










Heated Oxygen Sensor (HO2S) Sensor

NOTE: If necessary, lubricate the HO2S (Heated Oxygen Sensor) with penetrating and lock lubricant to assist in removal.

NOTE: Apply anti-seize to the threads of the HO2S (Heated Oxygen Sensor) prior to installing.

NOTE: The correct torque wrench setting must be calculated when using a commercially available exhaust gas sensor socket to install the HO2S (Heated Oxygen Sensor).










Catalyst Monitor Sensor (CMS)

NOTE: If necessary, lubricate the CMS (Catalyst Monitor Sensor) with penetrating and lock lubricant to assist in removal.

NOTE: Apply anti-seize to the threads of the CMS (Catalyst Monitor Sensor) prior to installing.

NOTE: The correct torque wrench setting must be calculated when using a commercially available exhaust gas sensor socket to install the CMS (Catalyst Monitor Sensor).










Knock Sensor (KS)

NOTICE: The RH Knock Sensor (KS) must be installed in the 4 o'clock position and the LH KS (Knock Sensor) must be installed in the 11 o'clock position. Failure to follow these instructions may result in damage to the engine.

NOTE: The intake manifold must be removed to access the KS (Knock Sensor).










Engine Coolant Temperature (ECT) Sensor

NOTE: Drain the engine cooling system prior to removal of the ECT (Engine Coolant Temperature) sensor.

NOTE: Fill and bleed the engine cooling system after installing the ECT (Engine Coolant Temperature) sensor.

NOTE: The ignition coil must be removed to access the ECT (Engine Coolant Temperature) sensor. For additional information, refer to Ignition System.










Variable Camshaft Timing (VCT) Oil Control Solenoid

NOTE: Intake solenoid shown, exhaust solenoid similar.

NOTE: Lubricate the O-ring seals with clean engine oil.










Clutch Pedal Position (CPP) Switch










1. Refer to the procedures and/or exploded views for any Warnings, Notices, Notes, Materials, Specifications, and Special Tools. Items in the exploded views may not be listed in order of removal.