LEMON Manuals: Even more car manuals for everyone: 1960-2025
Home >> Ford >> 2012 >> Fiesta L4-1.6L >> Repair and Diagnosis >> Maintenance >> Alignment >> Specifications >> Ride Height Measurement
April 5, 2026: LEMON Manuals is launched! Read the announcement.

Ride Height Measurement




Ride Height Measurement

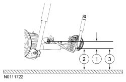
Front Ride Height Measurement










Rear Ride Height Measurement