LEMON Manuals: Even more car manuals for everyone: 1960-2025
Home >> Ford >> 2012 >> Taurus AWD V6-3.5L >> Repair and Diagnosis >> Engine, Cooling and Exhaust >> Engine >> Timing Components >> Timing Chain >> Service and Repair
April 5, 2026: LEMON Manuals is launched! Read the announcement.

Timing Chain: Service and Repair




Timing Drive Components













Removal

NOTICE: During engine repair procedures, cleanliness is extremely important. Any foreign material, including any material created while cleaning gasket surfaces, that enters the oil passages, coolant passages or the oil pan may cause engine failure.

1. Remove the engine front cover. For additional information, refer to Engine Front Cover Service and Repair.

2. Rotate the crankshaft clockwise and align the timing marks on the Variable Camshaft Timing (VCT) assemblies as shown.





3. NOTE: The Camshaft Holding Tool will hold the camshafts in the Top Dead Center (TDC) position.

Install the Camshaft Holding Tool onto the flats of the LH camshafts.






4. NOTE: The Camshaft Holding Tool will hold the camshafts in the TDC (Top Dead Center) position.

Install the Camshaft Holding Tool onto the flats of the RH camshafts.






5. Remove the 3 bolts and the RH VCT (Variable Camshaft Timing) housing.





6. Remove the 3 bolts and the LH VCT (Variable Camshaft Timing) housing.





NOTE: The following 3 steps are for primary timing chains when the colored links are not visible.

7. Mark the timing chain link that aligns with the timing mark on the RH intake VCT (Variable Camshaft Timing) assembly as shown.





8. Mark the timing chain link that aligns with the timing mark on the LH intake VCT (Variable Camshaft Timing) assembly as shown.





9. NOTE: The crankshaft sprocket timing mark should be between the 2 colored links.
Mark the 2 timing chain links that align with the timing mark on the crankshaft sprocket as shown.






10. Remove the 2 bolts and the primary timing chain tensioner.





11. Remove the primary timing chain tensioner arm.





12. Remove the 2 bolts and the lower LH primary timing chain guide.





13. Remove the primary timing chain.





14. Remove the crankshaft timing chain sprocket.





15. Remove the bolt and the upper LH primary timing chain guide.





16. Compress the LH secondary timing chain tensioner and install a suitable lockpin to retain the tensioner in the collapsed position.





17. NOTE: The VCT (Variable Camshaft Timing) bolt and the exhaust camshaft bolt must be discarded and new ones installed. However, the exhaust camshaft washer is reusable.
Remove and discard the LH VCT (Variable Camshaft Timing) assembly bolt and the LH exhaust camshaft sprocket bolt.

- Remove the LH VCT (Variable Camshaft Timing) assembly, secondary timing chain and the LH exhaust camshaft sprocket as an assembly.






18. NOTE: It is necessary to tilt the Camshaft Holding Tool toward the rear of the engine to access the rearmost secondary timing chain tensioner bolt.
Remove the 2 bolts and the LH secondary timing chain tensioner.






19. Compress the RH secondary timing chain tensioner and install a suitable lockpin to retain the tensioner in the collapsed position.





20. NOTE: The VCT (Variable Camshaft Timing) bolt and the exhaust camshaft bolt must be discarded and new ones installed. However, the exhaust camshaft washer is reusable.
Remove and discard the RH VCT (Variable Camshaft Timing) assembly bolt and the RH exhaust camshaft sprocket bolt.

- Remove the RH VCT (Variable Camshaft Timing) assembly, secondary timing chain and the RH exhaust camshaft sprocket as an assembly.






21. NOTE: It is necessary to tilt the Camshaft Holding Tool toward the rear of the engine to access the rearmost secondary timing chain tensioner bolt.
Remove the 2 bolts and the RH secondary timing chain tensioner.






22. Remove the bolt and the RH timing chain guide.





Installation

1. Install the RH timing chain guide and bolt.
- Tighten to 10 Nm (89 lb-in).






2. NOTE: It is necessary to tilt the Camshaft Holding Tool toward the rear of the engine to access the rearmost secondary timing chain tensioner bolt.

Install the RH secondary timing chain tensioner and the 2 bolts.

- Tighten to 10 Nm (89 lb-in).






3. Assemble the RH VCT (Variable Camshaft Timing) assembly, the RH exhaust camshaft sprocket and the RH secondary timing chain.
- Align the colored links with the timing marks.






4. Position the RH secondary timing assembly onto the camshafts.





5. Install the new VCT (Variable Camshaft Timing) bolt and new exhaust camshaft bolt and the original washer. Tighten in 4 stages.
- Stage 1: Tighten to 40 Nm (30 lb-ft).

- Stage 2: Loosen one full turn.

- Stage 3: Tighten to 10 Nm (89 lb-in).

- Stage 4: Tighten 90 degrees.






6. Remove the lockpin from the RH secondary timing chain tensioner.





7. NOTE: It is necessary to tilt the Camshaft Holding Tool toward the rear of the engine to access the rearmost secondary timing chain tensioner bolt.

Install the LH secondary timing chain tensioner and the 2 bolts.

- Tighten to 10 Nm (89 lb-in).






8. Assemble the LH VCT (Variable Camshaft Timing) assembly, the LH exhaust camshaft sprocket and the LH secondary timing chain.
- Align the colored links with the timing marks.






9. Position the LH secondary timing assembly onto the camshafts.





10. Install the new VCT (Variable Camshaft Timing) bolt and new exhaust camshaft bolt and the original washer. Tighten in 4 stages.
- Stage 1: Tighten to 40 Nm (30 lb-ft).

- Stage 2: Loosen one full turn.

- Stage 3: Tighten to 10 Nm (89 lb-in).

- Stage 4: Tighten 90 degrees.






11. Remove the lockpin from the LH secondary timing chain tensioner.





12. Install the crankshaft timing chain sprocket.





13. Install the upper LH primary timing chain guide and the bolt.
- Tighten to 10 Nm (89 lb-in).






14. NOTE: The crankshaft sprocket timing mark should be between the 2 colored links.

Install the primary timing chain with the colored links aligned with the timing marks on the VCT (Variable Camshaft Timing) assemblies and the crankshaft sprocket.






15. Install the lower LH primary timing chain guide and the 2 bolts.
- Tighten to 10 Nm (89 lb-in).






16. Install the primary timing chain tensioner arm.





17. Reset the primary timing chain tensioner.
1. Release the ratchet detent.

2. Using a soft-jawed vise, compress the ratchet plunger.

3. Align the hole in the ratchet plunger with the hole in the tensioner housing and install a suitable lockpin.






18. NOTE: It may be necessary to rotate the crankshaft slightly to remove slack from the timing chain and install the tensioner.

Install the primary tensioner and the 2 bolts.

- Tighten to 10 Nm (89 lb-in).

- Remove the lockpin.






19. As a post-check, verify correct alignment of all timing marks.
- There are 48 links between the RH intake VCT (Variable Camshaft Timing) assembly colored link (1) and the LH intake VCT (Variable Camshaft Timing) assembly colored link (2).

- There are 35 links between the LH intake VCT (Variable Camshaft Timing) assembly colored link (2) and the 2 crankshaft sprockets colored links (3).






20. Inspect the VCT (Variable Camshaft Timing) housing seals for damage and replace as necessary.





21. NOTE: RH shown, LH similar.

NOTE: During removal, the O-ring seal may remain on the cylinder head. If so, remove the O-ring seal from the cylinder head, inspect the seal (replace as necessary) and install the O-ring seal on the VCT (Variable Camshaft Timing) housing.

Inspect the VCT (Variable Camshaft Timing) housing-to-cylinder head O-ring seals for damage and replace as necessary.






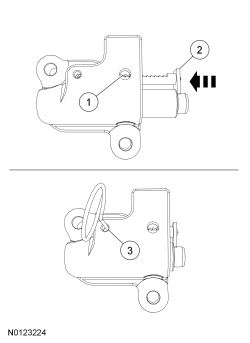
22. NOTICE: Make sure the dowels on the Variable Camshaft Timing (VCT) housing are fully engaged in the cylinder head prior to tightening the bolts. Failure to follow this process will result in severe engine damage.

Install the LH VCT (Variable Camshaft Timing) housing and the 3 bolts.
- Tighten in the sequence shown to 10 Nm (89 lb-in).






23. NOTICE: Make sure the dowels on the Variable Camshaft Timing (VCT) housing are fully engaged in the cylinder head prior to tightening the bolts. Failure to follow this process will result in severe engine damage.

Install the RH VCT (Variable Camshaft Timing) housing and the 3 bolts.
- Tighten in the sequence shown to 10 Nm (89 lb-in).






24. Install the engine front cover. For additional information, refer to Engine Front Cover Service and Repair.