LEMON Manuals: Even more car manuals for everyone: 1960-2025
Home >> Ford >> 2012 >> Taurus SE >> Repair and Diagnosis >> External Pages >> Different car >> Section 937 (Anti-Lock Brake System) >> Removal And Installation >> Anti-Lock Brake System (ABS) Module >> Notes
April 5, 2026: LEMON Manuals is launched! Read the announcement.

Anti-Lock Brake System (ABS) Module: Notes

WARNING: This page is about a different car, the 2007 Ford Ranger. However, it is still accessible from the selected car via links, so may be relevant.
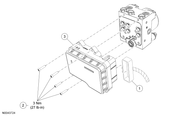
Fig 1: Exploded View Of Anti-Lock Brake System (ABS) Module With Torque Specification
GF0009937Courtesy of FORD MOTOR CO.
Item Part Number Description
1 - Anti-lock brake system (ABS) module electrical connector
2 - ABS module bolts (4 required) (part of 2C065)
3 2C065 ABS module