LEMON Manuals: Even more car manuals for everyone: 1960-2025
Home >> Freightliner >> 2008 >> Sprinter 2500 V6-3.0L DSL Turbo >> Repair and Diagnosis >> Specifications >> Mechanical Specifications >> Engine >> Cylinder Block Assembly >> System Specifications
April 5, 2026: LEMON Manuals is launched! Read the announcement.

System Specifications







ENGINE SPECIFICATIONS














































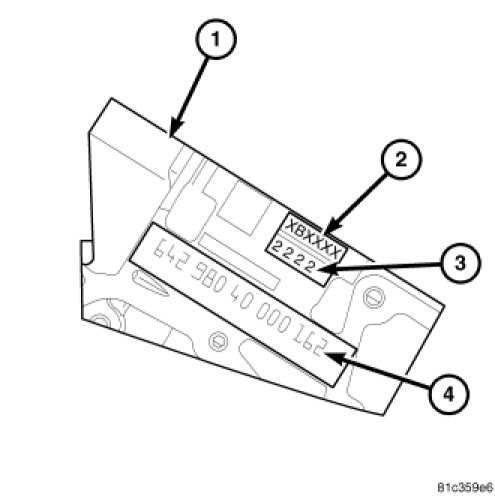
MAIN BEARING SIZE CODES





Each color-coded bearing is matched to its respective journal for the best fit possible (select fit). In production, the select fit is obtained by matching the color-coded bearings to grade identification marks on the cylinder block and crankshaft. Letters marked on the cylinder block identify the color of each upper-half main bearing, while letters marked on the front end of the crankshaft indicate the color of each lower-half main bearing. A group of four letters located on the machined surface of the cylinder block, above the engine identification number, identifies the upper-half main bearings installed.

- The letter "B" indicates a blue bearing
- The letter "G" indicates a yellow bearing
- The letter "R" indicates a red bearing





The front end of the crankshaft is engraved using laser marking technology. A group of letters identifies the color of each lower-half main bearing.

- The letter "B" indicates a blue bearing
- The letter "G" indicates a yellow bearing
- The letter "R" indicates a red bearing
- The letter "W" indicates a white bearing
- The letter "V" indicates a violet bearing

Check the grade identification marks on the cylinder block and crankshaft to properly select the main bearings. For example, if the crankshaft has the letter "B" in position No.2 and the cylinder block has the letter "R" in position No.2, the proper select bearing color code is red for the upper main bearing and blue for the lower main bearing.

CRANKSHAFT TORQUE AND SEQUENCE





NOTE: Do not reuse the main bearing cap bolts. Always install new bolts.

NOTE: Add a light coating of oil to the crankshaft side of the bearing.

1. Lubricate bolts on the thread and bolt head contact surfaces with engine oil. Install all crankshaft bearing cap bolts finger tight.
2. Stage 1: In the sequence shown in the graphic, tighten the crankshaft bearing cap bolts (1-13) to 35 Nm (26 ft lbs)
3. Stage 2: Turn crankshaft bearing cap bolts an additional 95 degrees.
4. Stage 3: Turn crankshaft bearing cap bolts an additional 95 degrees.
5. Stage 4: In the sequence shown in the graphic, tighten the lateral (side of the block, 1- 8) crankshaft bearing cap bolts to 53 Nm (39 ft lbs).
6. Make sure that the crankshaft turns freely.

HARMONIC BALANCER TORQUE

Tighten the bolt to 304 Nm, plus 90 degrees (224 ft. lbs. plus 90 degrees).