LEMON Manuals: Even more car manuals for everyone: 1960-2025
Home >> GMC >> 1981 >> Magnavan Standard Trans >> Repair and Diagnosis >> Body & Frame >> Windows >> Power Windows - Side Windows >> Testing >> Window Motor
April 5, 2026: LEMON Manuals is launched! Read the announcement.

Window Motor

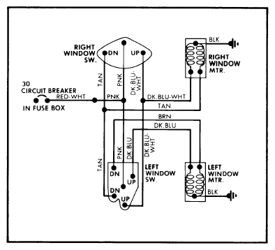
Check Power feed to motor terminals, if power is available, check motor ground. Inspect window regulator and channels for possible binding. Connect a jumper wire to the other motor terminal. Motor should operate window up and down, if not, replace motor.

Fig 1: General Motors Light Truck Power Window Wiring Diagram
G09351870Courtesy of GENERAL MOTORS COMPANY