LEMON Manuals: Even more car manuals for everyone: 1960-2025
Home >> GMC >> 1992 >> C3500 HD 6.5 F, Automatic >> Repair and Diagnosis >> Engine Performance >> System >> Engine Controls - System/Component Tests >> Component Locations
April 5, 2026: LEMON Manuals is launched! Read the announcement.

Component Locations

Fig 1: Component Location For 2.5L (VIN A) S Series
G92H21532Courtesy of GENERAL MOTORS CORP.
Fig 2: Component Location For 2.8L (VIN R) S Series
G91A12187Courtesy of GENERAL MOTORS CORP.
Fig 3: Component Location For 3.1L (VIN D) U Series
G92H22167Courtesy of GENERAL MOTORS CORP.
Fig 4: Component Location For 3.8L (VIN L) U Series
G92I21541Courtesy of GENERAL MOTORS CORP.
Fig 5: Component Location For 4.3L (VIN Z) C & K Series
G118220Courtesy of GENERAL MOTORS CORP.
Fig 6: Component Location For 4.3L (VIN Z) G Series
G90I15758Courtesy of GENERAL MOTORS CORP.
Fig 7: Component Location For 4.3L (VIN W) L & M Series
G92E21539Courtesy of GENERAL MOTORS CORP.
Fig 8: Component Location For 4.3L (VIN Z) L & M Series
G91D12099Courtesy of GENERAL MOTORS CORP.
Fig 9: Component Location For 4.3L (VIN Z) P Series
G92H21540Courtesy of GENERAL MOTORS CORP.
Fig 10: Component Location For 4.3L (VIN Z) S & T Series
G91B12188Courtesy of GENERAL MOTORS CORP.
Fig 11: Component Location For 4.3L CPI (VIN W) S & T Series
G92A21535Courtesy of GENERAL MOTORS CORP.
Fig 12: Component Location For 4.3L Turbo (VIN Z) S & T Series
G92F22157Courtesy of GENERAL MOTORS CORP.
Fig 13: Comp Location For 5.0L (VIN H) & 5.7L (VIN K) C & K Series
G50D06862Courtesy of GENERAL MOTORS CORP.
Fig 14: Component Location For 5.0L (VIN H) & 5.7L (VIN K) G Series
G92J21542Courtesy of GENERAL MOTORS CORP.
Fig 15: Component Location For 5.7L (VIN K) P Series
G92A21543Courtesy of GENERAL MOTORS CORP.
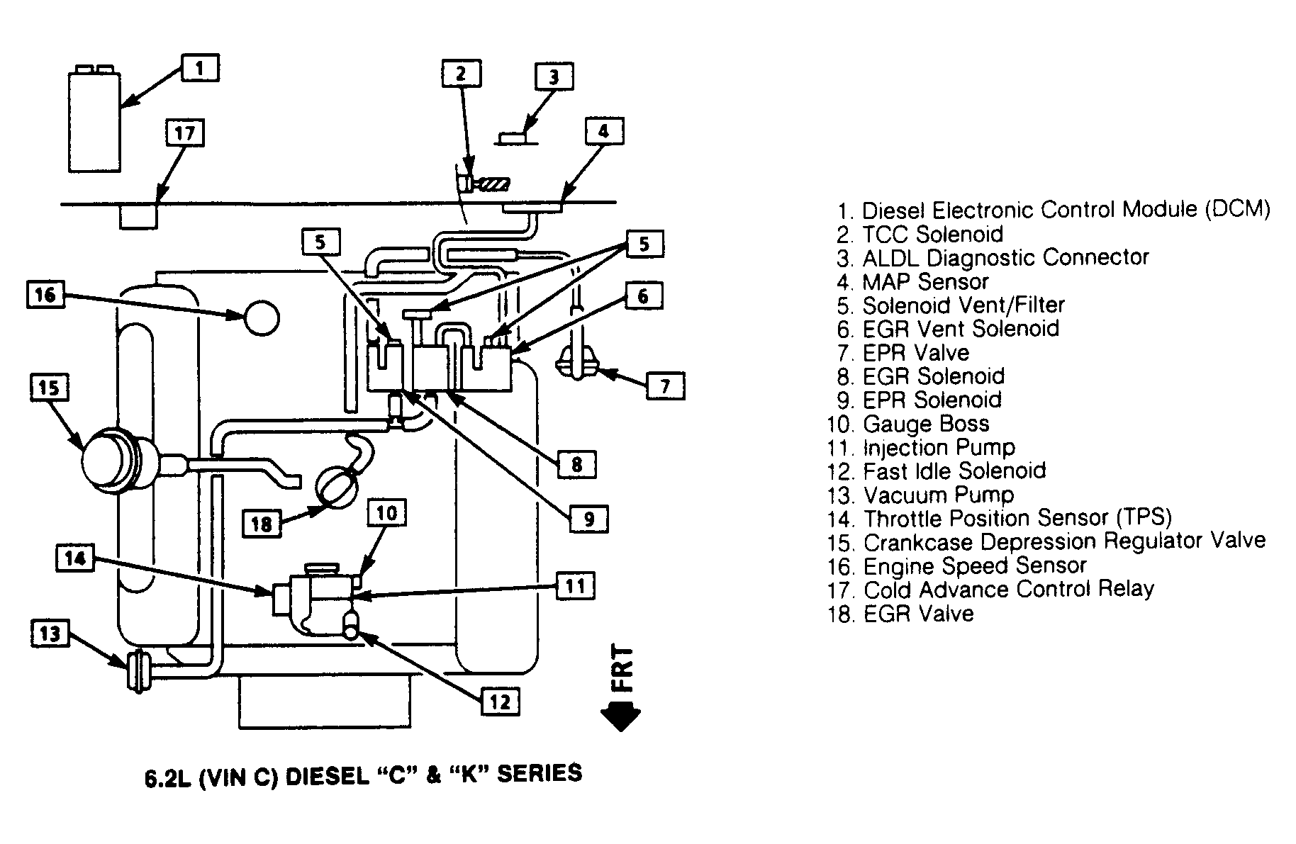
Fig 16: Component Location For 6.2L Diesel (VIN C) C & K Series
G91I12102Courtesy of GENERAL MOTORS CORP.
Fig 17: Component Location For 6.2L Diesel (VIN C) G & P Series
G92G21598Courtesy of GENERAL MOTORS CORP.
Fig 18: Component Location For 7.4L (VIN N) C & K Series
G92B21544Courtesy of GENERAL MOTORS CORP.
Fig 19: Component Location For 7.4L (VIN N) G Series
G92C21545Courtesy of GENERAL MOTORS CORP.
Fig 20: Component Location For 7.4L (VIN N) P Series
G92D21546Courtesy of GENERAL MOTORS CORP.