LEMON Manuals: Even more car manuals for everyone: 1960-2025
Home >> GMC >> 1992 >> Magnavan 5.7 K >> Repair and Diagnosis >> Engine Performance >> System >> Engine Controls - Basic Testing >> Basic Fuel System Checks (Gasoline) >> Field Service Mode Check
April 5, 2026: LEMON Manuals is launched! Read the announcement.

Field Service Mode Check

NOTE: O2 sensor may cool off while engine idles, causing system to enter open loop. To restore closed loop mode, run engine at part throttle several minutes and accelerate from idle to part throttle several times.

This test confirms proper fuel system operation and verifies closed loop operation. Clear codes and perform this test after any repair is completed. When performing this test, always engage parking brake and block DRIVE wheels. Parking brake on FWD models does NOT hold drive wheels.

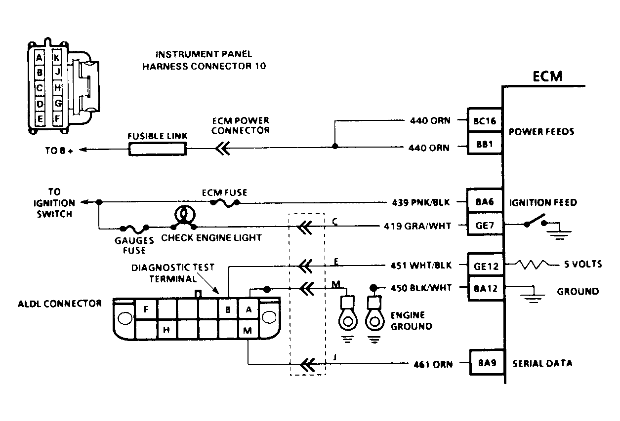
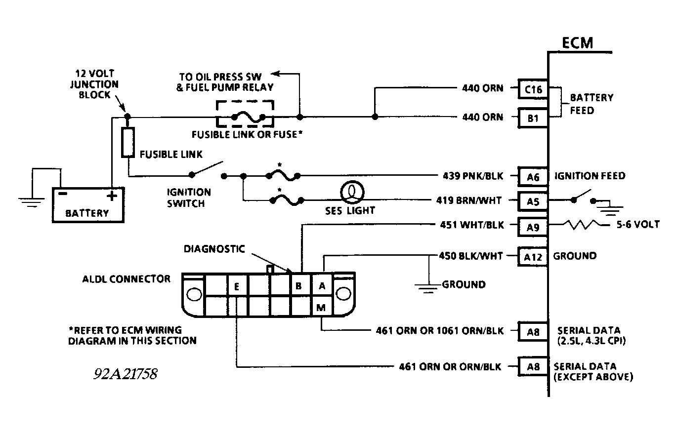
  1. Start engine. With engine running, ground diagnostic test terminal "B" of ALDL. See Figure - Figure . In closed loop mode, SERVICE ENGINE SOON light flashes once per second.
  2. In open loop, light flashes 2.5 times per second. A lean exhaust is indicated if light is usually off. A rich exhaust is indicated if light is usually on.