LEMON Manuals: Even more car manuals for everyone: 1960-2025
Home >> GMC >> 1996 >> C3500 HD 6.5 F, Automatic >> Repair and Diagnosis >> Engine Performance >> System >> Engine Controls - Tests W/Codes - Gasoline >> Diagnostic Trouble Code Tests >> DTC P1381 - Electronic Brake Control Module (EBCM) VCM Serial Data >> Notes
April 5, 2026: LEMON Manuals is launched! Read the announcement.

DTC P1381 - Electronic Brake Control Module (EBCM) VCM Serial Data: Notes

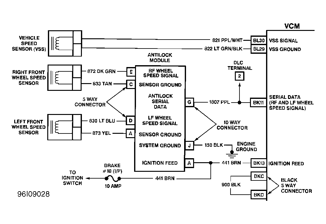
NOTE: For circuit reference, see Figure , DTC P1380 schematic.