LEMON Manuals: Even more car manuals for everyone: 1960-2025
Home >> GMC >> 2000 >> C3500 HD 6.5 F, Automatic >> Repair and Diagnosis >> Engine Performance >> System >> Engine Control System Self-Diagnostics - Diesel >> Specifications >> Connector End Views >> Powertrain Control Module
April 5, 2026: LEMON Manuals is launched! Read the announcement.

Powertrain Control Module

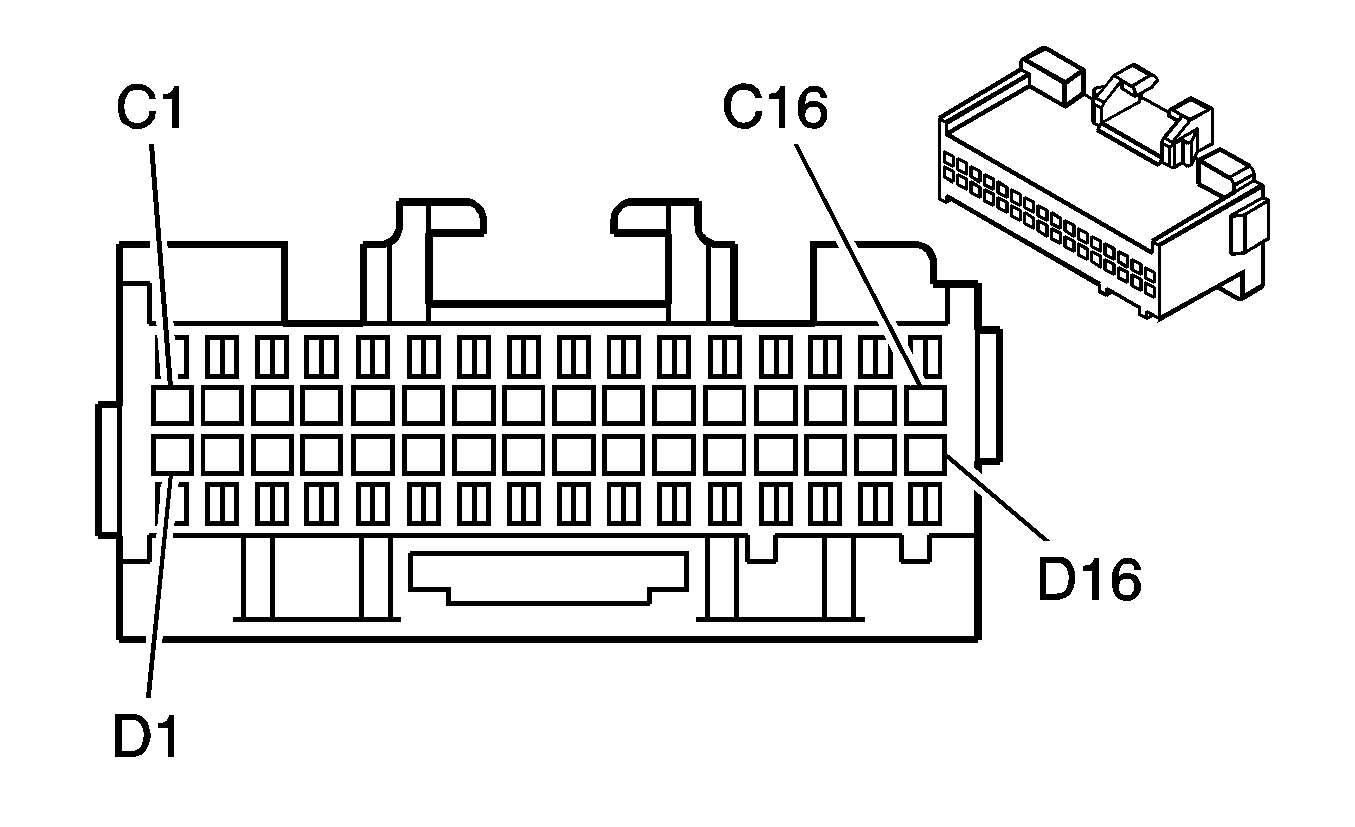
Fig 1: PCM Connector C1 
GM328562
PCM Cnnector C1

Connector Part Information - - * 12160779
- - - * PCM 32 Way BRN (C1) Connector
Pin Wire Color Circuit No. Function -
C1 -- -- Not Used -
C2 DK GRN/WHT 762 A/C Request -
C3 -- -- Not Used -
C4 TAN 472 IAT Signal -
C5 LT BLU 1162 APP (2) Signal -
C6 YEL 505 Glow Plug Relay Control -
C7 RED/BLK 1228 Pressure Control Solenoid Valve (Hi)  
C8 YEL 1578 Fuel Temperature -
C9 YEL/BLK 1227 TFT Sensor -
C10 -- -- Not Used -
C11 YEL 410 ECT Signal -
C12 -- -- Not Used -
C13 RED 313 Closure Signal -
C14 LT GRN 432 Boost Sensor Signal -
C15 LT BLU/WHT 1229 Pressure Control Solenoid Valve (Lo) -
C16 -- -- Not Used -
D1 BLU/WHT 1231 Transmission Input Speed Signal -
D2 GRY/BLK 1694 4WD Low Indicator Signal -
D3 YEL/BLK 1275 APP (3) 5 Volt Ref. -
D4 DK GRN 1163 APP (3) Signal -
D5 GRY 120 Fuel Lift Pump Signal -
D6 GRY 1273 APP (3) Ground -
D7 BRN 104 Glow Plug Signal -
D8 DK GRN/WHT 465 Fuel Lift Pump Control -
D9 PNK/BLK 632 Pump CAM, High Res. and Fuel Temperature Ground -
D10 GRY/BLK 87 Cruise Resume/Accel Request -
D11 RED/BLK 1230 Transmission Input Speed Signal (Lo) -
D12 WHT/BLK 1164 APP (1) 5 Volt Ref. -
D13 GRY 416 Boost, CKP and BARO 5 Volt Ref. -
D14 GRY 474 Pump CAM and High Res. 5 Volt Ref. -
D15-D16 -- -- Not Used -
-   -   -
Fig 2: PCM Connector C2 
GM255037
PCM Connector C2

Connector Part Information * 12160778
* PCM 24 Way BRN (C2) Connector
Pin Wire Color Circuit No. Function
A1 BLK 491 Closure Ground
A2 ORN 1799 High Res. Signal
A3 BRN 437 Transmission Output Speed Signal (OSS)
A4 BRN/WHT 633 Pump CAM Sensor Signal
A5 YEL 573 CKP Sensor Signal
A6 DK GRN 389 VSS Signal
A7 RED/BLK 1031 Injection Timing Stepper Motor (HI)
A8 TAN/BLK 1030 Injection Timing Stepper Motor (LO)
A9 ORN/BLK 1032 Injection Timing Stepper Motor (LO)
A10 YEL/BLK 1033 Injection Timing Stepper Motor (HI)
A11 GRY 397 Cruise ON/OFF Signal
A12 PPL 1272 APP (2) Ground
B1 BRN 1271 APP (1) Ground
B2 DK BLU 1161 APP (1) Signal
B3 BLK/WHT 1695 Front Axle Switch Signal
B4 RED 1226 TR Switch C
B5 DK BLU 1225 TR Switch B
B6 PNK 1224 TR Switch A
B7 -- -- PTO (1360 RPM)
B8 -- -- PTO (1070 RPM)
B9 PPL (A/T) 420 (A/T) Cruise Control Brake Switch (A/T)
BRN/WHT (M/T) 379 (M/T) Brake/CPP Switch (M/T)
B10 WHT 17 Brake Switch
B11 DK BLU 84 Cruise Set/Coast Signal
B12 BLK 452 Sensor Ground (Boost, ECT, IAT, Fuel Temp., TFT and CKP Sensor)
Fig 3: PCM Connector C3 
GM73157
PCM Connector C3

Connector Part Information * 12110207
* PCM 32 Way BLU (C3) Connector
Pin Wire Color Circuit No. Function
C1 -- -- Not Used
C2 TAN 1274 APP (2) 5 Volt Ref.
C3 LT GRN 260 Fuel Inject Control
C4 LT GRN 1222 Shift Solenoid (1-2)
C5 BRN 418 TCC PWM
C6 YEL/BLK 1223 Shift Solenoid (2-3)
C7 DK BLU 507 Wait To Start Lamp Control
C8 PPL 1807 Class 2 Communication
C9-C10 -- -- Not Used
C11 PNK 439 Ignition
C12 PNK 439 Ignition
C13 ORN 440 Battery
C14 BRN/WHT 419 MIL Control
C15 -- -- Not Used
C16 -- -- Not Used
D1-D2 -- -- Not Used
D3 LT GRN/BLK 260 Fuel Inject Control
D4 -- -- Not Used
D5 DK GRN/WHT 459 A/C Enable
D6 BLK/WHT 451 Ground
D7 TAN/WHT 551 Ground
D8-D10 -- -- Not Used
D11 WHT/BLK 176 Service Throttle Soon Lamp Control
D12 -- -- Not Used
D13 ORN 440 Battery
D14 YEL 258 Wastegate Solenoid Control
D15 DK BLU/WHT 259 ESO Solenoid Control
D16 -- -- Not Used