LEMON Manuals: Even more car manuals for everyone: 1960-2025
Home >> GMC >> 2002 >> Jimmy 2D Utility, Part Time, Automatic >> Repair and Diagnosis >> External Pages >> Different car >> Section 1660 (Lighting Systems) >> Component Locator >> Lighting Systems Connector End Views
April 5, 2026: LEMON Manuals is launched! Read the announcement.

Lighting Systems Connector End Views

WARNING: This page is about a different car, the 2002 Oldsmobile Bravada, 2002 GMC Envoy XL, 2002 GMC Envoy, and 2002 Chevrolet TrailBlazer. However, it is still accessible from the selected car via links, so may be relevant.
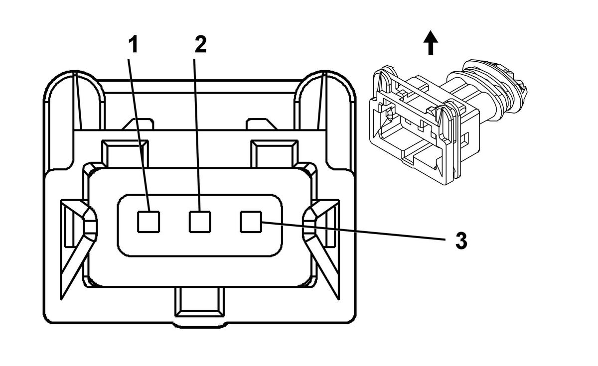
Ambient Light Sensor Connector End View (w/CJ3)

GM82383Courtesy of GENERAL MOTORS CORP.
Connector Part Information
  • 12047662
  • 2-Way F Metri-Pack 150 Series (BLK)
Pin Wire Color Circuit No. Function
A WHT 278 Ambient Light Sensor Signal
B BLK 279 Ambient Light Sensor Low Reference
Backup Lamp Connector End View - Left (GMC)

GM82366Courtesy of GENERAL MOTORS CORP.
Connector Part Information
  • 12092379
  • 3-Way Lamp Socket Wedge Base W3 (NAT)
Pin Wire Color Circuit No. Function
A LT GRN 24 Backup Lamp Supply Voltage
B - - Not Used
G BLK 2450 Ground
Backup Lamp Connector End View - Right (GMC)

GM82366Courtesy of GENERAL MOTORS CORP.
Connector Part Information
  • 12092379
  • 3-Way Lamp Socket Wedge Base W3 (NAT)
Pin Wire Color Circuit No. Function
A LT GRN 24 Backup Lamp Supply Voltage
B - - Not Used
G BLK 2450 Ground
Cargo Lamp Connector End View

GM82383Courtesy of GENERAL MOTORS CORP.
Connector Part Information
  • 12047662
  • 2-Way F Metri-Pack 150 Series (BLK)
Pin Wire Color Circuit No. Function
A BLK 1350 Ground
B GRY/BLK 690 Courtesy Lamp Control
Center High Mounted Stop Lamp Connector End View (CHMSL)

GM35441Courtesy of GENERAL MOTORS CORP.
Connector Part Information
  • 12047663
  • 2-Way M Metri-Pack 150 Series (BLK)
Pin Wire Color Circuit No. Function
A YEL 820 CHMSL Supply Voltage
B BLK 1550 Ground
Cornering Lamp Connector End View - Left

GM744054Courtesy of GENERAL MOTORS CORP.
Connector Part Information
  • 15326291
  • 3-Way Lamp Socket Wedge Base W3 Sealed Right Angle (NAT)
Pin Wire Color Circuit No. Function
A ORN 57 Left Cornering Lamp Supply Voltage
G BLK 350 Ground
Cornering Lamp Connector End View - Right

GM744054Courtesy of GENERAL MOTORS CORP.
Connector Part Information
  • 15326291
  • 3-Way /Lamp Socket Wedge Base W3 Sealed Right Angle (NAT)
Pin Wire Color Circuit No. Function
A BLK 58 Right Cornering Lamp Supply Voltage
G BLK 250 Ground
Courtesy Lamp Connector End View - Left

GM387544Courtesy of GENERAL MOTORS CORP.
Connector Part Information
  • 12084936
  • 2-Way Lamp Socket Components, Bulb Bases, Type W-2, Axial (CLR)
Pin Wire Color Circuit No. Function
A GRY/BLK 690 Courtesy Lamp Low Control
B BLK 2250 Ground
Courtesy/Reading Lamp Connector End View - LF

GM333035Courtesy of GENERAL MOTORS CORP.
Connector Part Information
  • 12047781
  • 3-Way F Metri-Pack 150 Series (BLK)
Pin Wire Color Circuit No. Function
A GRY/BLK 690 Courtesy Lamp Control
B BLK 1350 Ground
C ORN 1732 Courtesy Lamps Supply Voltage
Courtesy/Reading Lamp Connector End View - Left Center (Body Type VIN 6)

GM333035Courtesy of GENERAL MOTORS CORP.
Connector Part Information
  • 12047781
  • 3-Way F Metri-Pack 150 Series (BLK)
Pin Wire Color Circuit No. Function
A GRY/BLK 690 Courtesy Lamp Control
B BLK 1350 Ground
C ORN 1732 Courtesy Lamps Supply Voltage
Courtesy/Reading Lamp Connector End View - LR

GM333035Courtesy of GENERAL MOTORS CORP.
Connector Part Information
  • 12047781
  • 3-Way F Metri-Pack 150 Series (BLK)
Pin Wire Color Circuit No. Function
A GRY/BLK 690 Courtesy Lamp Control
B BLK 1350 Ground
C ORN 1732 Courtesy Lamps Supply Voltage
Courtesy/Reading Lamp Connector End View - RF

GM333035Courtesy of GENERAL MOTORS CORP.
Connector Part Information
  • 12047781
  • 3-Way F Metri-Pack 150 Series (BLK)
Pin Wire Color Circuit No. Function
A GRY/BLK 690 Courtesy Lamp Control
B BLK 1350 Ground
C ORN 1732 Courtesy Lamps Supply Voltage
Courtesy/Reading Lamp Connector End View - Right Center (Body Type VIN 6)

GM333035Courtesy of GENERAL MOTORS CORP.
Connector Part Information
  • 12047781
  • 3-Way F Metri-Pack 150 Series (BLK)
Pin Wire Color Circuit No. Function
A GRY/BLK 690 Courtesy Lamp Control
B BLK 1350 Ground
C ORN 1732 Courtesy Lamps Supply Voltage
Courtesy/Reading Lamp Connector End View - RR

GM333035Courtesy of GENERAL MOTORS CORP.
Connector Part Information
  • 12047781
  • 3-Way F Metri-Pack 150 Series (BLK)
Pin Wire Color Circuit No. Function
A GRY/BLK 690 Courtesy Lamp Control
B BLK 1350 Ground
C ORN 1732 Courtesy Lamps Supply Voltage
Fog Lamp Connector End View - LF

GM646148Courtesy of GENERAL MOTORS CORP.
Connector Part Information
  • 12020599
  • 2-Way F Metri-Pack-280 Series (BLK)
Pin Wire Color Circuit No. Function
A PPL 34 Front Fog Lamps Supply Voltage
B BLK 350 Ground
Fog Lamp Connector End View - RF

GM646148Courtesy of GENERAL MOTORS CORP.
Connector Part Information
  • 12020599
  • 2-Way F Metri-Pack-280 Series (BLK)
Pin Wire Color Circuit No. Function
A PPL 34 Front Fog Lamps Supply Voltage
B BLK 250 Ground
Headlamp Assembly Connector End View - Left

GM697046Courtesy of GENERAL MOTORS CORP.
Connector Part Information
  • 12186568
  • 4-Way F Metri-Pack 150 Series (BLK)
Pin Wire Color Circuit No. Function
A DK GRN/
WHT
711 Left Headlamp High Beam Supply Voltage
B YEL 712 Left Headlamp Low Beam Supply Voltage
C BLK 350 Ground
D BLK 350 Ground
Headlamp Assembly Connector End View - Right

GM697046Courtesy of GENERAL MOTORS CORP.
Connector Part Information
  • 12186568
  • 4-Way F Metri-Pack 150 Series (BLK)
Pin Wire Color Circuit No. Function
A LT GRN/BLK 311 Right Headlamp High Beam Supply Voltage
B TAN/WHT 312 Right Headlamp Low Beam Supply Voltage
C BLK 250 Ground
D BLK 250 Ground
Headlamp Leveling Actuator Connector End View - Left (w/TR6)

GM696988Courtesy of GENERAL MOTORS CORP.
Connector Part Information
  • 12186467
  • 3-Way F (BLK)
Pin Wire Color Circuit No. Function
1 BLK 350 Ground
2 DK GRN 189 Headlamp Leveling Motor Supply Voltage
3 PNK 639 Ignition 1 Voltage
Headlamp Leveling Actuator Connector End View - Right (w/TR6)

GM696988Courtesy of GENERAL MOTORS CORP.
Connector Part Information
  • 12186467
  • 3-Way F (BLK)
Pin Wire Color Circuit No. Function
1 BLK 250 Ground
2 DK GRN 189 Headlamp Leveling Motor Supply Voltage
3 PNK 639 Ignition 1 Voltage
Headlamp Switch Connector End View C1

GM647976Courtesy of GENERAL MOTORS CORP.
Connector Part Information
  • 15332161
  • 12-Way F GT 150 (BLK)
Pin Wire Color Circuit No. Function
A GRY 705 5 Volt Reference
B BRN/WHT 230 Instrument Panel Lamps Dimming Control
C BLK 2250 Ground
D WHT 103 Headlamp Switch Headlamps On Signal
E GRY/BLK 308 Park Lamp Switch On Input
F - - Not Used
G ORN/BLK 2090 Courtesy Lamps Supply Voltage/Dimming Signal
H GRY/BLK 2226 Instrument Panel Lamps Dimmer Switch Low Reference
J DK BLU/WHT 1495 Courtesy Lamp Switch Signal
K PPL/WHT 1382 LED Dimming Signal
L PNK 1348 Headlamp On Indicator Control
M PPL 328 Interior Lamp Defeat Switch Signal
Headlamp Switch Connector End View C2

GM646374Courtesy of GENERAL MOTORS CORP.
Connector Part Information
  • 15332145
  • 8-Way F GT 150 (BLK)
Pin Wire Color Circuit No. Function
A ORN 192 Front Fog Lamp Switch Signal
B LT BLU 187 Rear Fog Lamp Switch Signal
C DK GRN/
WHT
1317 Fog Lamp Relay Control
D YEL 1977 Rear Fog Lamp Relay Control (w/T79)
E - - Not Used
F DK GRN 189 Headlamp Leveling Motor Supply Voltage (w/TR6)
G PNK 639 Ignition 1 Voltage (w/TR6)
H BRN/WHT 1871 Headlamp Washer Switch Signal (w/CE4)
I/P Compartment Lamp Connector End View

GM82383Courtesy of GENERAL MOTORS CORP.
Connector Part Information
  • 12047662
  • 2-Way F Metri-Pack 150 Series (BLK)
Pin Wire Color Circuit No. Function
A ORN 1732 Courtesy Lamps Supply Voltage
B BLK 2250 Ground
License Lamp Connector End View - Left

GM130733Courtesy of GENERAL MOTORS CORP.
Connector Part Information
  • 12146418
  • 2-Way Lamp Socket (LT GRY)
Pin Wire Color Circuit No. Function
A BRN 2509 Rear Park Lamps Supply Voltage
B BLK 1550 Ground
License Lamp Connector End View - Right

GM130733Courtesy of GENERAL MOTORS CORP.
Connector Part Information
  • 12146418
  • 2-Way Lamp Socket (LT GRY)
Pin Wire Color Circuit No. Function
A BRN 2509 Rear Park Lamps Supply Voltage
B BLK 1550 Ground
Marker Lamp Connector End View - LF (Chevrolet)

GM523630Courtesy of GENERAL MOTORS CORP.
Connector Part Information
  • 15326801
  • 2-Way F GT 150 Series (BLK)
Pin Wire Color Circuit No. Function
A BRN 2309 Front Park Lamps Supply Voltage
B LT BLU 2114 Left Turn Signal Lamps Supply Voltage (Domestic)
BLK 350 Ground (Export)
Marker Lamp Connector End View - LF (GMC/Oldsmobile)

GM744036Courtesy of GENERAL MOTORS CORP.
Connector Part Information
  • 12110053
  • 2-Way F/Lamp Socket Wedge Base W2 (LT GRY)
Pin Wire Color Circuit No. Function
A BRN 2309 Front Park Lamps Supply Voltage
B LT BLU 2114 Left Turn Signal Lamps Supply Voltage
Marker Lamp Connector End View - RF (Chevrolet)

GM523630Courtesy of GENERAL MOTORS CORP.
Connector Part Information
  • 15326801
  • 2-Way F GT 150 Series (BLK)
Pin Wire Color Circuit No. Function
A BRN 2309 Front Park Lamps Supply Voltage
B DK BLU 2115 Right Turn Signal Lamps Supply Voltage (Domestic)
BLK 250 Ground (Export)
Marker Lamp Connector End View - RF (GMC/Oldsmobile)

GM744036Courtesy of GENERAL MOTORS CORP.
Connector Part Information
  • 12110053
  • 2-Way F/Lamp Socket Wedge Base W2 (LT GRY)
Pin Wire Color Circuit No. Function
A BRN 2309 Front Park Lamps Supply Voltage
B DK BLU 2115 Right Turn Signal Lamps Supply Voltage
Miniwedge Connector End View (Door Jamb Switch) - Driver

GM684972Courtesy of GENERAL MOTORS CORP.
Connector Part Information
  • 15366025
  • 2-Way F GT 150 Sealed 3.2 X 4.0 (GRY)
Pin Wire Color Circuit No. Function
A - - Not Available
B GRY/BLK 745 Left Front Door Ajar Switch Signal
C - - Not Available
D BRN 1183 Left Front Door Switch Low Reference
Miniwedge Connector End View (Door Jamb Switch) - Front Passenger

GM684974Courtesy of GENERAL MOTORS CORP.
Connector Part Information
  • 15366027
  • 2-Way F GT 150 Sealed 3.2 X 4.0 (BLU)
Pin Wire Color Circuit No. Function
A DK GRN 1178 Right Front Door Switch Low Reference
B - - Not Available
C BLK/WHT 746 Right Front Door Ajar Switch Signal
D - - Not Available
Miniwedge Connector End View (Door Jamb Switch) - LR

GM684972Courtesy of GENERAL MOTORS CORP.
Connector Part Information
  • 15366025
  • 2-Way F GT 150 Sealed 3.2 X 4.0 (GRY)
Pin Wire Color Circuit No. Function
A - - Not Available
B LT BLU/BLK 747 Left Rear Door Ajar Switch Signal
C - - Not Available
D BLK 1350 Ground
Miniwedge Connector End View (Door Jamb Switch) - RR

GM684974Courtesy of GENERAL MOTORS CORP.
Connector Part Information
  • 15366027
  • 2-Way F GT 150 Sealed 3.2 X 4.0 (BLU)
Pin Wire Color Circuit No. Function
A BLK 1450 Ground
B - - Not Available
C LT GRN/BLK 748 Right Rear Door Ajar Switch Signal
D - - Not Available
Miniwedge Connector End View (Door Jamb Switch) - Liftgate

GM684972Courtesy of GENERAL MOTORS CORP.
Connector Part Information
  • 15366027
  • 4-Way F GT 150 Sealed 3.2 X 4.0 (BLK)
Pin Wire Color Circuit No. Function
A - - Not Used
B PNK/BLK 1303 Liftgate Ajar Switch Signal
C DK GRN 1058 Liftgate Ajar Signal
D DK BLU 2201 Liftgate Ajar Switch Low Reference
Park/Turn Signal Lamp Connector End View - LF (Chevrolet)

GM684959Courtesy of GENERAL MOTORS CORP.
Connector Part Information
  • 12160395
  • 3-Way F GT150 (GRY)
Pin Wire Color Circuit No. Function
A LT BLU 2114 Left Turn Signal Lamps Supply Voltage
B BRN 2309 Front Park Lamps Supply Voltage (Domestic)
C BLK 350 Ground
Park/Turn Signal Lamp Connector End View - LF (GMC/Oldsmobile)

GM95769Courtesy of GENERAL MOTORS CORP.
Connector Part Information
  • 12160395
  • 3-Way Lamp Socket Wedge Base W3 Right angle (MD GRY)
Pin Wire Color Circuit No. Function
A LT BLU 2114 Left Turn Signal Lamps Supply Voltage
B BRN 2309 Front Park Lamps Supply Voltage
G BLK 350 Ground
Park/Turn Signal Lamp Connector End View - RF (Chevrolet)

GM684959Courtesy of GENERAL MOTORS CORP.
Connector Part Information
  • 12160395
  • 3-Way F GT150 (GRY)
Pin Wire Color Circuit No. Function
A DK BLU 2115 Left Turn Signal Lamps Supply Voltage
B BRN 2309 Front Park Lamps Supply Voltage (Domestic)
C BLK 350 Ground
Park/Turn Signal Lamp Connector End View - RF (GMC/Oldsmobile)

GM95769Courtesy of GENERAL MOTORS CORP.
Connector Part Information
  • 12160395
  • 3-Way Lamp Socket Wedge Base W3 Right angle (MD GRY)
Pin Wire Color Circuit No. Function
A DK BLU 2115 Right Turn Signal Lamps Supply Voltage
B BRN 2309 Front Park Lamps Supply Voltage
G BLK 250 Ground
Stop Lamp Switch Connector End View

GM62424Courtesy of GENERAL MOTORS CORP.
Connector Part Information
  • 12040551
  • 6-Way F Metri-Pack 480 Series (BLK)
Pin Wire Color Circuit No. Function
A WHT 17 Stop Lamp Supply Voltage
WHT 17 Stop Lamp Supply Voltage
B ORN 1540 Battery Positive Voltage
C PPL 420 TCC Brake/Cruise Control Release Switch Signal
D PNK 639 Ignition 1 Voltage
E DK GRN/
WHT
1135 A/T Shift Lock Control Solenoid Supply Voltage
F LT GRN/BLK 584 A/T Shift Lock Control Switch Supply Voltage
Tail Lamp Assembly Connector End View - Left (W/O T79)

GM684983Courtesy of GENERAL MOTORS CORP.
Connector Part Information
  • 15355207
  • 5-Way F GT 150 Sealed 4.0 (BLK)
Pin Wire Color Circuit No. Function
A BRN 2509 Left Rear Park Lamps Supply Voltage (Chevrolet/Oldsmobile)
LT BLU 1320 CHMSL Supply Voltage (GMC)
B LT BLU 2114 Left Turn Signal Lamps Supply Voltage (Chevrolet/Oldsmobile)
C LT GRN 24 Backup Lamp Supply Voltage (Chevrolet/Oldsmobile)
BRN 2509 Left Rear Park Lamps Supply Voltage (GMC)
D LT BLU 1320 CHMSL Supply Voltage (Chevrolet/Oldsmobile)
LT BLU 2114 Left Turn Signal Lamps Supply Voltage (GMC)
E BLK 1550 Ground
Tail Lamp Assembly Connector End View - Left (w/T79)

GM684956Courtesy of GENERAL MOTORS CORP.
Connector Part Information
  • 15355208
  • 5-Way F GT 150 Sealed 4.0 (BLK)
Pin Wire Color Circuit No. Function
A BRN 2509 Left Rear Park Lamps Supply Voltage
B LT BLU 2114 Left Turn Signal Lamps Supply Voltage
C RED 122 Rear Fog Lamp Supply Voltage
D LT BLU 1320 CHMSL Supply Voltage
E BLK 1550 Ground
Tail Lamp Assembly Connector End View - Right

GM684983Courtesy of GENERAL MOTORS CORP.
Connector Part Information
  • 15355207
  • 5-Way F GT 150 Sealed 4.0 (BLK)
Pin Wire Color Circuit No. Function
A BRN/WHT 2609 Right Rear Park Lamps Supply Voltage (Chevrolet/Oldsmobile)
LT BLU 1320 CHMSL Supply Voltage (GMC)
B DK BLU 2115 Right Turn Signal Lamps Supply Voltage (Chevrolet/Oldsmobile)
C LT GRN 24 Backup Lamp Supply Voltage (Chevrolet/Oldsmobile)
BRN/WHT 2609 Right Rear Park Lamps Supply Voltage (GMC)
D LT BLU 1320 CHMSL Supply Voltage (Chevrolet/Oldsmobile)
DK BLU 2115 Right Turn Signal Lamps Supply Voltage (GMC)
E BLK 1650 Ground
Trailer Connector End View

GM525095Courtesy of GENERAL MOTORS CORP.
Connector Part Information
  • 15354653
  • 7-Way F Metri-Pack 280 Sealed (BLK)
Pin Wire Color Circuit No. Function
A LT GRN 1624 Trailer Backup Lamps Supply Voltage
B WHT 22 Ground
C DK BLU 47 Trailer Auxiliary Supply Voltage
D DK GRN 1619 Trailer Right Rear Turn/Stop Lamp Supply Voltage
E RED 742 Battery Positive Voltage
F BRN 2109 Trailer Park Lamps Supply Voltage
G YEL 1618 Trailer Left Rear Turn/Stop Lamp Supply Voltage
Turn Signal/Multifunction Switch Connector End View C1

GM39746Courtesy of GENERAL MOTORS CORP.
Connector Part Information
  • 12064862
  • 8-Way F Metri-Pack 150 (BLK)
Pin Wire Color Circuit No. Function
A LT GRN 1427 Right Turn Signal Switch Signal
B PNK 639 Ignition 1 Voltage
C DK GRN 1428 Left Turn Signal Switch Signal
D ORN 57 Left Cornering Lamp Supply Voltage
E BRN 2039 Front Park Lamps Supply Voltage
F BLK 58 Right Cornering Lamp Supply Voltage
G BLK/YEL 28 Horn Relay Control
H - - Not Used
Turn Signal/Multifunction Switch Connector End View C2

GM130718Courtesy of GENERAL MOTORS CORP.
Connector Part Information
  • 12059800
  • 5-Way F Metri-Pack 150 (BLK)
Pin Wire Color Circuit No. Function
A TAN 751 Ground
B YEL 307 Flash To Pass Signal
C LT GRN 11 Headlamp Dimmer Switch Signal
D-E - - Not Used
Turn Signal/Multifunction Switch Connector End View C3

GM811190Courtesy of GENERAL MOTORS CORP.
Connector Part Information
  • 15339058
  • 7-Way F Metri-Pack 150 (GRY)
Pin Wire Color Circuit No. Function
G - - Not Used
H PNK 94 Windshield Washer Switch Signal
J GRY 478 Windshield Wiper Switch Supply Voltage
K DK BLU/WHT 477 Windshield Wiper Switch High Signal
L-N - - Not Used
Turn Signal/Multifunction Switch Connector End View C4

GM39661Courtesy of GENERAL MOTORS CORP.
Connector Part Information
  • 12047796
  • 4-Way F Metri-Pack 150 (BLK)
Pin Wire Color Circuit No. Function
A BRN 341 Ignition Voltage
B GRY 397 Cruise Control Switch On/Off Signal
C GRY 87 Cruise Control Resume/Accel Switch Signal
D DK BLU 84 Cruise Control Set/Coast Switch Signal
Turn Signal/Hazard Flasher Module Connector End View

GM697011Courtesy of GENERAL MOTORS CORP.
Connector Part Information
  • 15355303
  • 10 Way F GT 280 (MD GRY)
Pin Wire Color Circuit No. Function
A LT GRN 1427 Right Turn Signal Switch Signal
B WHT 17 Stop Lamp Switch Signal
C YEL 18 Left Rear Stop/Turn Lamp Supply Voltage
D DK GRN 19 Right Rear Stop/Turn Lamp Supply Voltage
E BLK 2250 Ground
F DK GRN 1428 Left Turn Signal Switch Signal
G WHT 111 Hazard Switch Signal
H YEL 685 Left Turn Signal Lamps Supply Voltage
J TAN 686 Right Turn Signal Lamps Supply Voltage
K ORN 140 Battery Positive Voltage
Underhood Lamp Connector End View

GM537107Courtesy of GENERAL MOTORS CORP.
Connector Part Information
  • 12052644
  • 2-Way F Metri-Pack 150 Series Sealed (GRY)
Pin Wire Color Circuit No. Function
A ORN 1732 Courtesy Lamps Supply Voltage
B BLK 850 Ground
Vanity Mirror Lamp Connector End View - LF

GM82383Courtesy of GENERAL MOTORS CORP.
Connector Part Information
  • 12047662
  • 2-Way F Metri-Pack 150 Series (BLK)
Pin Wire Color Circuit No. Function
A ORN 1732 Courtesy Lamps Supply Voltage
B BLK 1350 Ground
Vanity Mirror Lamp Connector End View - RF

GM82383Courtesy of GENERAL MOTORS CORP.
Connector Part Information
  • 12047662
  • 2-Way F Metri-Pack 150 Series (BLK)
Pin Wire Color Circuit No. Function
A ORN 1732 Courtesy Lamps Supply Voltage
B BLK 1350 Ground