LEMON Manuals: Even more car manuals for everyone: 1960-2025
Home >> GMC >> 2004 >> Jimmy 2D Utility, Part Time, Automatic >> Repair and Diagnosis >> Accessories & Equipment >> Communication Devices >> Body Control System >> Schematic and Routing Diagrams >> Body Control System Schematics
April 5, 2026: LEMON Manuals is launched! Read the announcement.

Body Control System Schematics

Fig 1: Power and Ground Schematic
GM755670Courtesy of GENERAL MOTORS CORP.
Fig 2: Controlled/Monitored Subsystem References Schematic
GM755675Courtesy of GENERAL MOTORS CORP.
Fig 3: Interior Lights References Schematic
GM755678Courtesy of GENERAL MOTORS CORP.
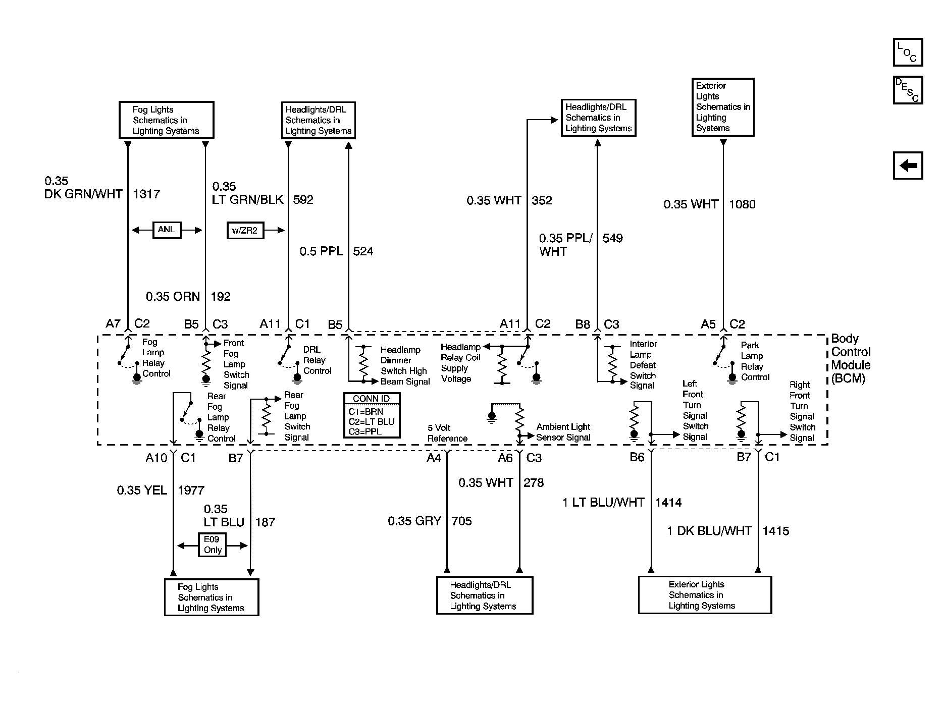
Fig 4: Exterior Lights References Schematic
GM755679Courtesy of GENERAL MOTORS CORP.