LEMON Manuals: Even more car manuals for everyone: 1960-2025
Home >> GMC >> 2004 >> Jimmy 2D Utility, Part Time, Automatic >> Repair and Diagnosis >> Engine Performance >> System >> Engine Control System - 4.3L (Introduction) >> Repair Instructions >> Accelerator Controls Cable Replacement >> Installation Procedure
April 5, 2026: LEMON Manuals is launched! Read the announcement.

Installation Procedure

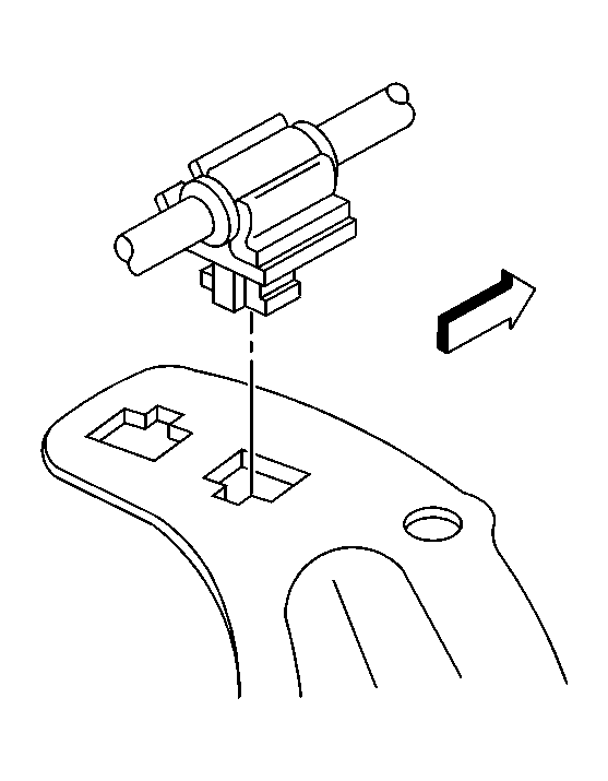
    Fig 1: Locating Accelerator Cable Components
    GM616727Courtesy of GENERAL MOTORS CORP.
  1. Install the accelerator cable (1) through the bulkhead (4).
  2. Install the accelerator cable panel insulator retainer (2) on the accelerator cable (1).
  3. Fig 2: Installing Accelerator Cable To Accelerator Pedal
    GM26784Courtesy of GENERAL MOTORS CORP.
  4. Install the accelerator cable to the accelerator pedal (2).
  5. Fig 3: Locating Accelerator Cable Bracket Clip
    GM616703Courtesy of GENERAL MOTORS CORP.
  6. Connect the accelerator cable (1) to the bracket clip (2).
  7. Fig 4: Identifying Accelerator Cable/Throttle Body Lever
    GM325556Courtesy of GENERAL MOTORS CORP.
  8. Install the accelerator cable onto the throttle body.
  9. Ensure that the cable is fully seated in the pulley groove. The cable must not lie outside of the hook tab.
  10. Fig 5: View Of Accelerator Control Cable Bracket
    GM616725Courtesy of GENERAL MOTORS CORP.
  11. Install the accelerator cable to the accelerator cable control bracket.
  12. Fig 6: View Of Cable Routing Bracket
    GM616709Courtesy of GENERAL MOTORS CORP.
  13. Install the accelerator cable to the cable routing bracket.
  14. Install the air cleaner outlet duct. Refer to Air Cleaner Outlet Resonator Replacement .
  15. IMPORTANT: The accelerator pedal should operate freely without binding between closed and wide open throttle.
  16. Use the following procedure in order to inspect the accelerator pedal operation.
    1. Turn ON the ignition, with the engine OFF.
    2. Using a scan tool, observe the parameter for the throttle position (TP) sensor.
    3. Depress the accelerator pedal to the floor.
    4. Release the accelerator pedal.
    5. Verify the throttle position has gone from 0 percent to 100 percent and back to 0 percent.
  17. Install the left closeout/insulator panel. Refer to Closeout/Insulator Panel Replacement - Left in Instrument Panel, Gauges and Console.