LEMON Manuals: Even more car manuals for everyone: 1960-2025
Home >> GMC >> 2005 >> Jimmy Part Time, Automatic >> Repair and Diagnosis >> Engine Performance >> System >> Engine Controls - (Introduction) >> Repair Instructions >> Accelerator Controls Pedal Replacement >> Installation Procedure
April 5, 2026: LEMON Manuals is launched! Read the announcement.

Installation Procedure

IMPORTANT: The accelerator cable must not be kinked or damaged in any way during installation.
Ensure that the mounting surface between the accelerator pedal assembly and the bulkhead is free of insulation. The carpet and padding in the pedal area must be positioned to lay flat and be free of wrinkles and bunches. Wire, hoses, cables, and other flexible components should not be within 13 mm (0.52 in) of the cable or lever, at any point in their travel.
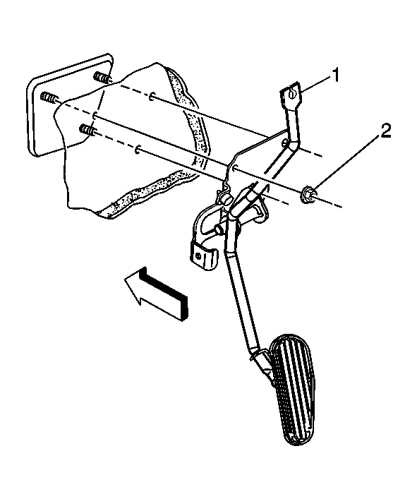
    Fig 1: Locating Accelerator Pedal Assembly Components
    GM350251Courtesy of GENERAL MOTORS CORP.
  1. Place the accelerator pedal assembly over the mounting studs and onto the mounting surface.
  2. NOTE: Refer to Fastener Notice in Cautions and Notices.
  3. Install the accelerator pedal mounting nuts (2).

    Tighten:  Tighten the accelerator pedal mounting nuts to 9 N.m (80 lb in).

  4. Fig 2: View Of Accelerator Cable At Accelerator Pedal
    GM424544Courtesy of GENERAL MOTORS CORP.
  5. Lift upward on the accelerator pedal.
  6. Insert the cable through the pedal lever slot.
  7. Press the retainer into the lever hole until fully seated.
  8. IMPORTANT: The pedal must operate freely without binding through the full range of pedal movement.
  9. Check the accelerator pedal for free movement by depressing and releasing the pedal several times.
  10. Install the left closeout/insulator panel. Refer to Closeout/Insulator Panel Replacement - Left in Instrument Panel, Gauges, and Console.