LEMON Manuals: Even more car manuals for everyone: 1960-2025
Home >> GMC >> 2005 >> Jimmy Part Time, Standard >> Repair and Diagnosis >> Accessories & Equipment >> Communication Devices >> Computer/Integrating Systems >> Component Locator >> Computer/Integrating Systems Component Views
April 5, 2026: LEMON Manuals is launched! Read the announcement.

Computer/Integrating Systems Component Views

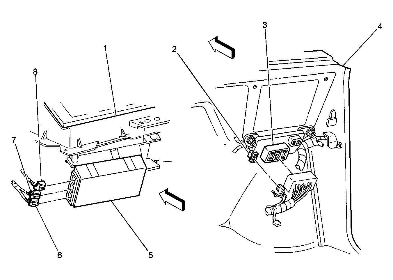
Fig 1: Instrument Panel Details, RH
GM357162Courtesy of GENERAL MOTORS CORP.
Callout Component Name
1 Heater Controls
2 C200
3 C203
4 Instrument Panel (IP)
5 Body Control Module (BCM)
6 Body Control Module (BCM), Connector C1
7 Body Control Module (BCM), Connector C2
8 Body Control Module (BCM), Connector C3
Fig 2: Body Wiring Harness, DLC and RCDLR
GM357151Courtesy of GENERAL MOTORS CORP.
Callout Component Name
1 Remote Control Door Lock Receiver (RCDLR)
2 Data Link Connector (DLC) (Except Base Pickup)
3 Instrument Panel (I/P) Sound Insulator, Left
4 Data Link Connector (DLC) (Base Pickup)