LEMON Manuals: Even more car manuals for everyone: 1960-2025
Home >> GMC >> 2008 >> Sierra Denali AWD V8-6.2L >> Repair and Diagnosis >> Relays and Modules >> Relays and Modules - Powertrain Management >> Relays and Modules - Computers and Control Systems >> Engine Control Module >> Diagrams >> Connector Views
April 5, 2026: LEMON Manuals is launched! Read the announcement.

Connector Views



Component Connector End Views

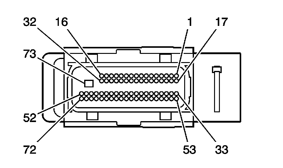
Engine Control Module (ECM) X1 (Gas)









Engine Control Module (ECM) X1 (Gas) (Pin 1 To 30):





Engine Control Module (ECM) X1 (Gas) (Pin 31 To 64):





Engine Control Module (ECM) X1 (Gas) (Pin 65 To 73):






Engine Control Module (ECM) X2 (4.8L/5.3L/6.0L/6.2L)









Engine Control Module (ECM) X2 (4.8L/5.3L/6.0L/6.2L) (Pin 1 To 49):





Engine Control Module (ECM) X2 (4.8L/5.3L/6.0L/6.2L) (Pin 50 To 80):