LEMON Manuals: Even more car manuals for everyone: 1960-2025
Home >> GMC >> 2008 >> Yukon 2WD V8-5.3L >> Repair and Diagnosis >> Powertrain Management >> Computers and Control Systems >> Relays and Modules - Computers and Control Systems >> Engine Control Module >> Diagrams >> Connector Views
April 5, 2026: LEMON Manuals is launched! Read the announcement.

Connector Views



Component Connector End Views

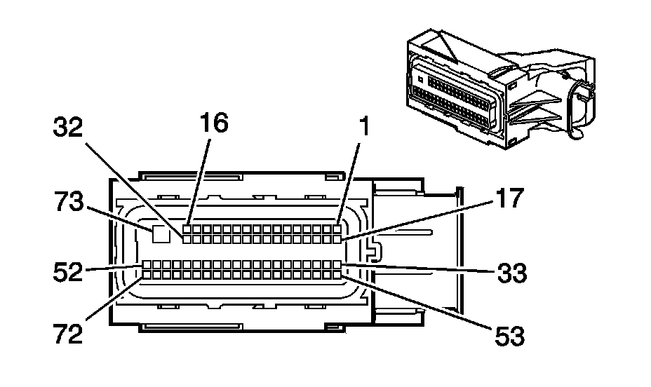
Engine Control Module (ECM) X1









Engine Control Module (ECM) X1 (Pin 1 To 59):





Engine Control Module (ECM) X1 (Pin 60 To 73):






Engine Control Module (ECM) X2









Engine Control Module (ECM) X2 (Pin 1 To 50):





Engine Control Module (ECM) X2 (Pin 51 To 80):