LEMON Manuals: Even more car manuals for everyone: 1960-2025
Home >> GMC >> 2009 >> Sierra Denali AWD V8-6.2L >> Repair and Diagnosis >> Powertrain Management >> Computers and Control Systems >> Fuel Level Sensor >> Service and Repair >> Fuel Level Sensor Replacement (15/25 Reg/Ext/Crw Cab With 34 gal Tank)
April 5, 2026: LEMON Manuals is launched! Read the announcement.

Fuel Level Sensor Replacement (15/25 Reg/Ext/Crw Cab With 34 gal Tank)



Fuel Level Sensor Replacement (15/25 Reg/Ext/Crew Cab w/34 gal Tank)

Removal Procedure





1. Remove the fuel tank module. Refer to Fuel Tank Fuel Pump Module Replacement (25 Ext/Crew Cab w/26 Gal Tank) (Service and Repair)Fuel Tank Fuel Pump Module Replacement (15/25 Reg/Ext/Crew Cab w/34 Gal Tank) (Service and Repair)Fuel Tank Fuel Pump Module Replacement (15 Ext/Crew Cab w/26 Gal Tank) (Service and Repair)Fuel Tank Fuel Pump Module Replacement (15 Reg Cab w/26 Gal Tank) (Service and Repair)Fuel Tank Fuel Pump Module Replacement (35 Reg/Ext/Crew Cab w/34 Gal Tank) (Service and Repair) .
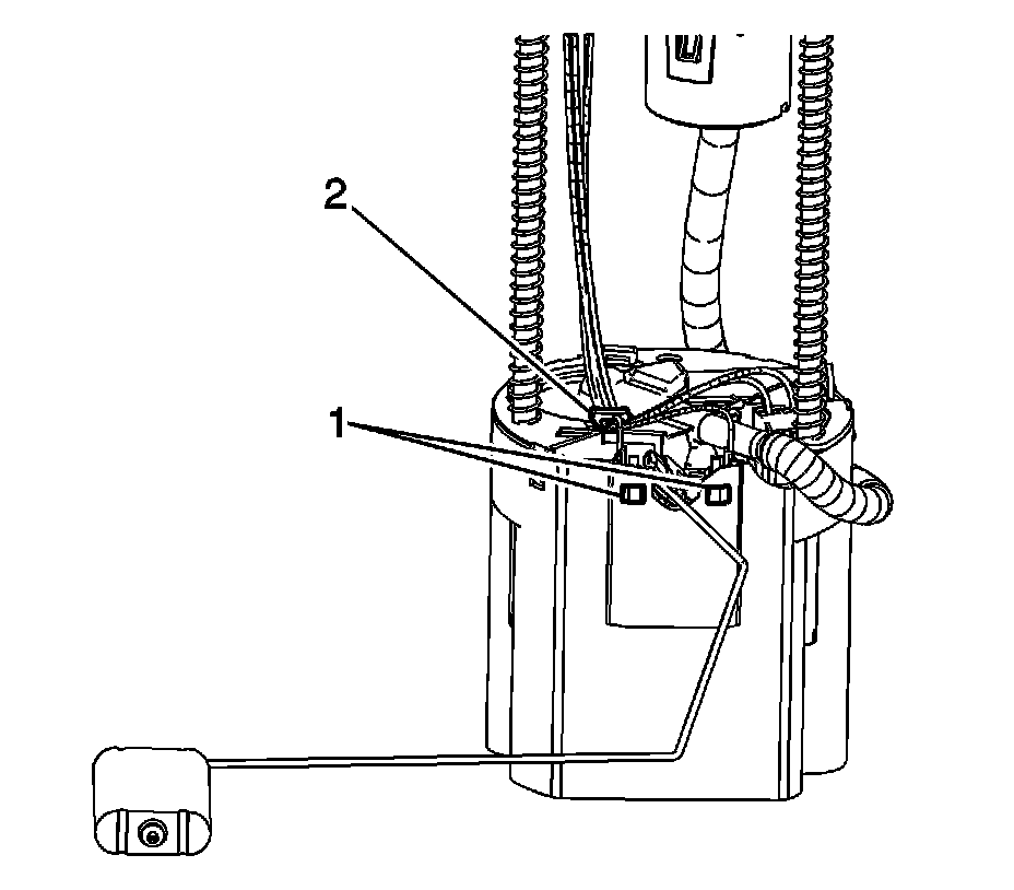
2. Disconnect the fuel level sensor wiring pigtail electrical connector (1) from the module cover.




3. Remove the fuel level sensor wiring pigtail from under the module clip (2).
4. Gently push in the fuel level sensor retainers (1), disengaging them from the module reservoir.




5. Slide the fuel level sensor up, in order to remove the sensor from the module slot.



Installation Procedure





1. Position the fuel level sensor over the slot in the reservoir and slide the sensor down into the slot.




2. Ensure that the fuel level sensor retainers (1) engage the module reservoir.
3. Install the fuel level sensor wiring pigtail under the module clip (2) behind the fuel pump wires.




4. Connect the fuel level sensor wiring pigtail electrical connector (1) to the module cover.
5. Install the fuel tank module. Refer to Fuel Tank Fuel Pump Module Replacement (25 Ext/Crew Cab w/26 Gal Tank) (Service and Repair)Fuel Tank Fuel Pump Module Replacement (15/25 Reg/Ext/Crew Cab w/34 Gal Tank) (Service and Repair)Fuel Tank Fuel Pump Module Replacement (15 Ext/Crew Cab w/26 Gal Tank) (Service and Repair)Fuel Tank Fuel Pump Module Replacement (15 Reg Cab w/26 Gal Tank) (Service and Repair)Fuel Tank Fuel Pump Module Replacement (35 Reg/Ext/Crew Cab w/34 Gal Tank) (Service and Repair) .