LEMON Manuals: Even more car manuals for everyone: 1960-2025
Home >> GMC >> 2012 >> Terrain FWD L4-2.4L >> Repair and Diagnosis >> Diagrams >> Connector Views >> Central Control Module >> Telematics Communication Interface Control Module X2 (UE1)
April 5, 2026: LEMON Manuals is launched! Read the announcement.

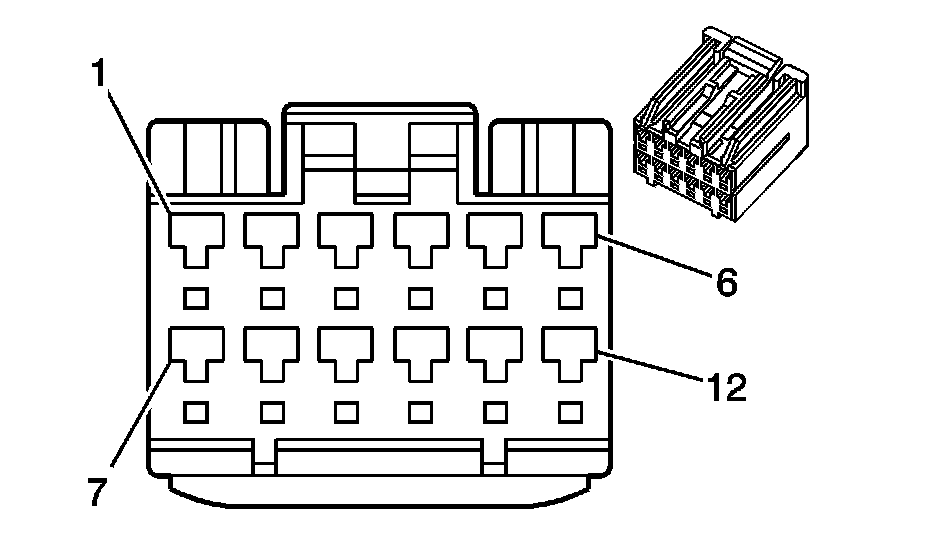
Telematics Communication Interface Control Module X2 (UE1)




Component Connector End Views

K73 Telematics Communication Interface Control Module X2 (UE1)