LEMON Manuals: Even more car manuals for everyone: 1960-2025
Home >> GMC >> 2013 >> Yukon Denali, AWD >> Repair and Diagnosis >> External Pages >> Different car >> Section 2010 (Wiring Systems And Power Management - Component Connector End Views - Electronic Compass Module To Memory Seat Module (X4)) >> Component Connector End Views >> Inflatable Restraint Front End Sensor- Left
April 5, 2026: LEMON Manuals is launched! Read the announcement.

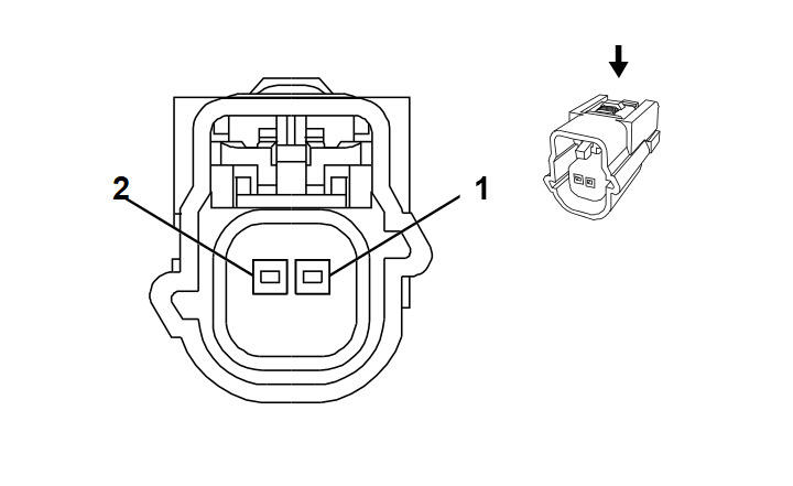
Inflatable Restraint Front End Sensor- Left

WARNING: This page does not describe the selected car, but rather 8 other vehicles, including the 2012 GMC Yukon XL, 2012 GMC Yukon, 2012 Chevrolet Tahoe, 2012 Chevrolet Suburban, and 2012 Chevrolet Avalanche. However, it is still accessible from the selected car via links, so may be relevant.
GM2179777Courtesy of
Connector Part Information
  • Harness Type: Forward Lamp
  • OEM Connector: 13593078
  • Service Connector: 13577629
  • Description: 2-Way F Kaizen 0.64 Series, Sealed (L-GY)
Terminal Part Information
  • Terminated Lead: Service by Connector Assembly- 13577629
  • Release Tool: Not Available
  • Diagnostic Test Probe: J-35616-64B (L-BU)
  • Terminal/Tray: Not Available
  • Core/Insulation Crimp: Not Available
Inflatable Restraint Front End Sensor- Left

Pin Wire Circuit Function
1 0.5 YE 354 Discriminating Sensor- Signal
2 0.5 TN/OG 5045 Low Reference