LEMON Manuals: Even more car manuals for everyone: 1960-2025
Home >> Genesis >> 2021 >> GV80 2.5T Advanced, AWD >> Repair and Diagnosis >> Accessories & Equipment >> Memory Modules >> Integrated Memory System (IMS) >> IMS Control Switch >> Repair Procedures >> Inspection
April 5, 2026: LEMON Manuals is launched! Read the announcement.

Repair Procedures: Inspection

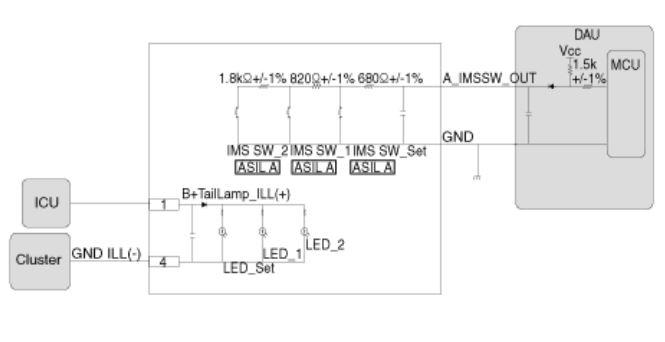
  1. Disconnect the IMS control switch connector.
    G14723852Courtesy of HYUNDAI MOTOR AMERICA
  2. With the power IMS control switch in each position, make sure that continuity exists between the terminals below. If continuity is not as specified, replace the IMS control switch.
    G14723853Courtesy of HYUNDAI MOTOR AMERICA