LEMON Manuals: Even more car manuals for everyone: 1960-2025
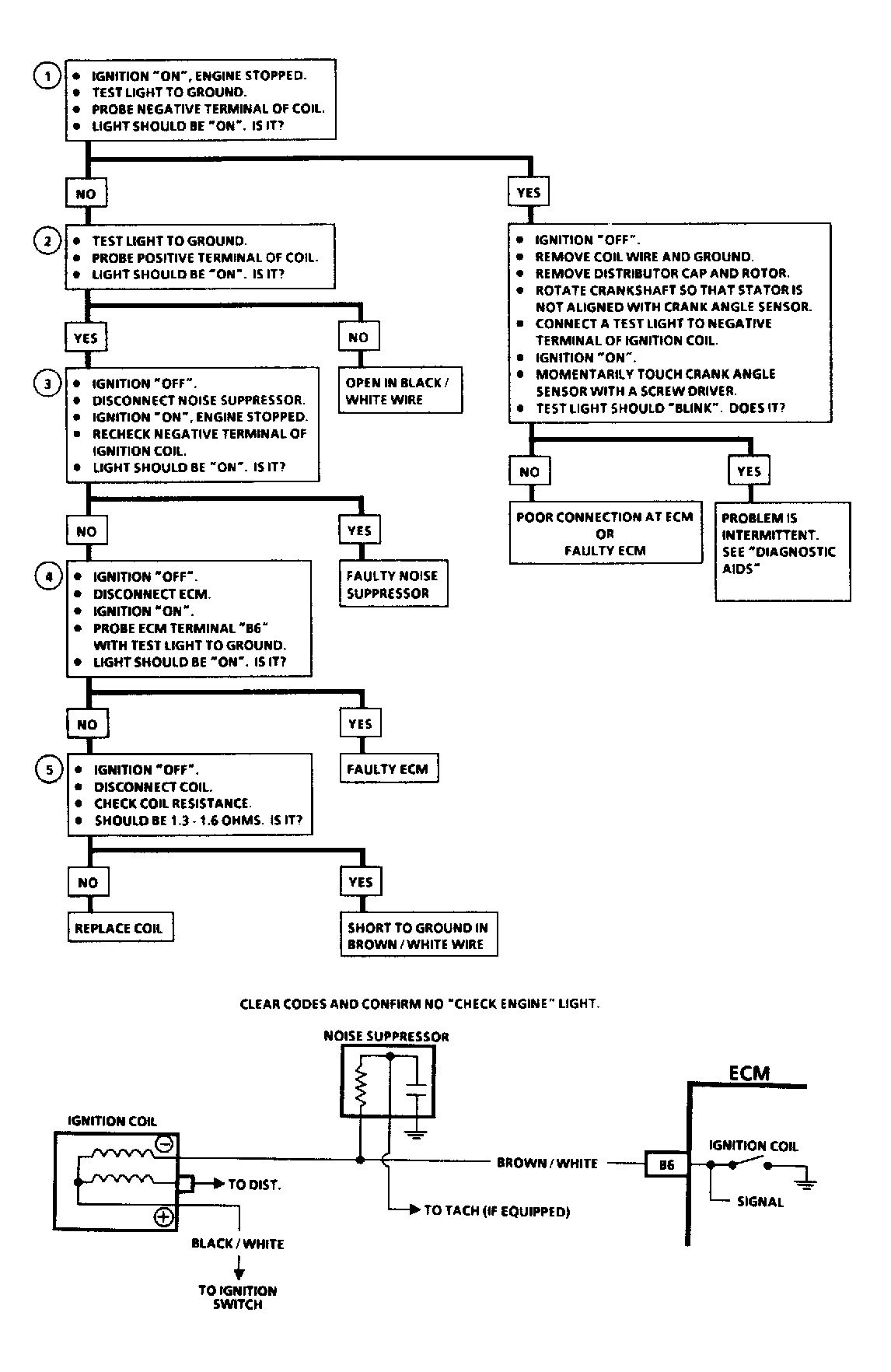
Home >> Geo >> 1990 >> Metro Base, 2D Hatchback, Automatic >> Repair and Diagnosis (Single Page) >> Engine Performance >> System >> Engine Controls - Tests W/Codes >> Code 41, Ignition Signal Circuit No Signal ESA Ignition System >> Engine Controls - Tests W/Codes >> Diagnostic Aids
April 5, 2026: LEMON Manuals is launched! Read the announcement.

Diagnostic Aids

An intermittent may be caused by rubbed through insulation or a wire broken inside the insulation. Check ECM harness connectors for backed out or damaged terminals. If code is intermittent, refer to the TESTS W/O CODES article.

Fig 1: Code 41 Circuit Diagram & Flow Chart
G121626