LEMON Manuals: Even more car manuals for everyone: 1960-2025
Home >> Geo >> 1992 >> Metro L3-61 1.0L >> Repair and Diagnosis >> Powertrain Management >> Computers and Control Systems >> Relays and Modules - Computers and Control Systems >> Idle/Throttle Speed Control Unit >> Description and Operation >> Idle Speed Control (ISC)
April 5, 2026: LEMON Manuals is launched! Read the announcement.

Idle Speed Control (ISC)

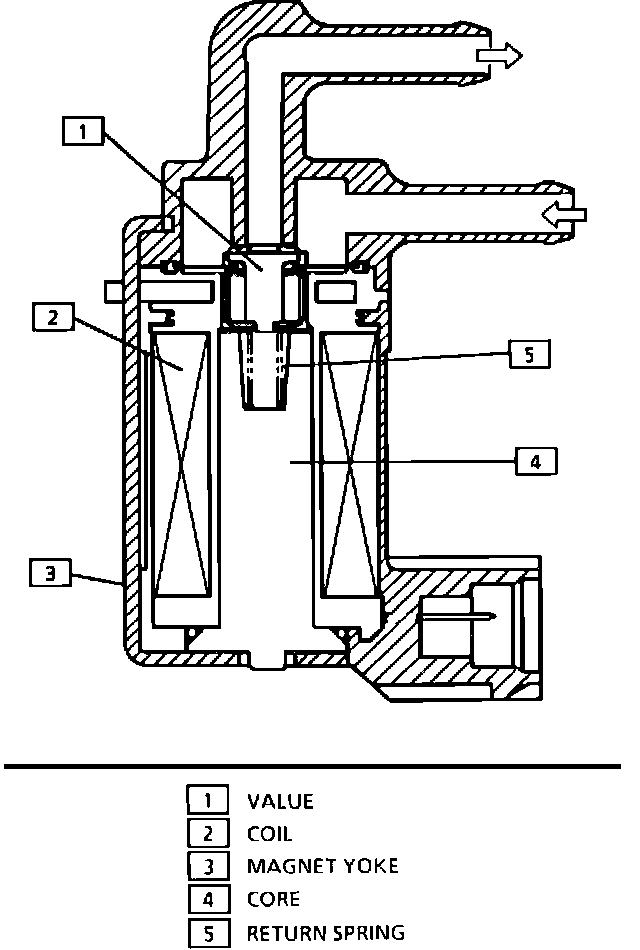
ISC Solenoid Valve Cross-Section:






Engine idle speed is controlled by the ECM through the idle speed control (ISC) solenoid valve which allows more/less air to bypass the throttle valve. The reasons for idle speed control are:

^ To keep the engine idle speed as specified at all times. The engine idle speed can vary due to the following reasons:

- Load applied to engine (when electric load is applied, automatic transmission is shifted to "R," "D," "2" or "L" range, air-conditioner is turned "ON," etc.)
- Variation in atmospheric pressure.
- Change in engine itself with passage of time.
- Other factors causing idle speed to change.

^ To improve starting performance of engine.

^ To compensate air/fuel mixture ratio when decelerating (dash-pot effect).

The ISC solenoid valve opens the bypass air passage when it is turned "ON" by ECM and closes it when turned "OFF." The ECM detects the engine condition by using signals from various sensors and switches and while repeating "ON" and "OFF" cycle of ISC solenoid valve at a certain rate (12 times a second), it controls bypass air flow by increasing and decreasing its "ON" time within a cycle. While the engine is cranking, the ECM keeps ISC solenoid valve "ON" so as to obtain better start of the engine. After the engine has started, it reduces "ON" time gradually to maintain the idle speed as specified.

When the accelerator pedal is depressed (throttle valve is at other than idle), the ECM keeps the ISC solenoid valve "ON." When decelerating, on the other hand, it reduces its "ON" time gradually (thereby reducing the bypass air now gradually) to adjust air/fuel mixture to an optimum ratio for combustion. When the car is at a stop, the throttle valve is at the idle position and the engine is running, ECM controls the bypass air flow by increasing or decreasing "ON" time of the ISC solenoid valve so that the engine speed is kept at a specified idle speed. With an air-conditioner equipped car, when the air-conditioner is "ON," a certain amount of the bypass air is supplied by the air-conditioner Vacuum Switching Valve (A/C VSV) independently of the ISC valve bypass air circuit. The A/C VSV bypass air is used for fine control of engine idle speed.

The A/C Vacuum Switching Valve automatically adjusts the engine idle speed to specification by means of the ECM. If such specified idle speed is not available, it is necessary to adjust the basic idle speed with the idle speed adjusting screw. See "Idle Speed/A/C VSV Adjustment Procedure" under "ADJUSTMENT PROCEDURES."