LEMON Manuals: Even more car manuals for everyone: 1960-2025
Home >> Geo >> 1992 >> Prizm Base, Automatic >> Repair and Diagnosis (Single Page) >> Engine Performance >> System >> Engine Controls - Tests W/Codes >> Diagnostic Code Charts (Except GSI) >> Code 31, Map Sensor, Open Or Shorted Circuit >> Diagnostic Aids
April 5, 2026: LEMON Manuals is launched! Read the announcement.

Diagnostic Aids

Intermittent condition may be caused by rubbed-through insulation or a wire broken inside insulation. Check ECM harness connectors for backed-out or damaged terminals. If code is intermittent, see TESTS W/O CODES article in this section.

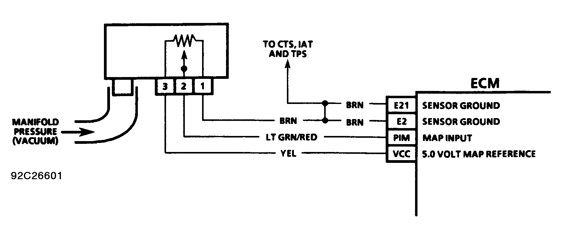
Fig 1: Code 31 Schematic (Except GSi), MAP Sensor Open Or Shorted Circuit
G92C26601
Fig 2: Code 31 Flow Chart (Except GSi), MAP Sensor Open Or Shorted Circuit
G92D26602