LEMON Manuals: Even more car manuals for everyone: 1960-2025
Home >> Geo >> 1993 >> Prizm Base, Automatic >> Repair and Diagnosis >> Engine Performance >> System >> Engine Controls - Basic Testing >> Fuel System >> Fuel Pressure
April 5, 2026: LEMON Manuals is launched! Read the announcement.

Fuel Pressure

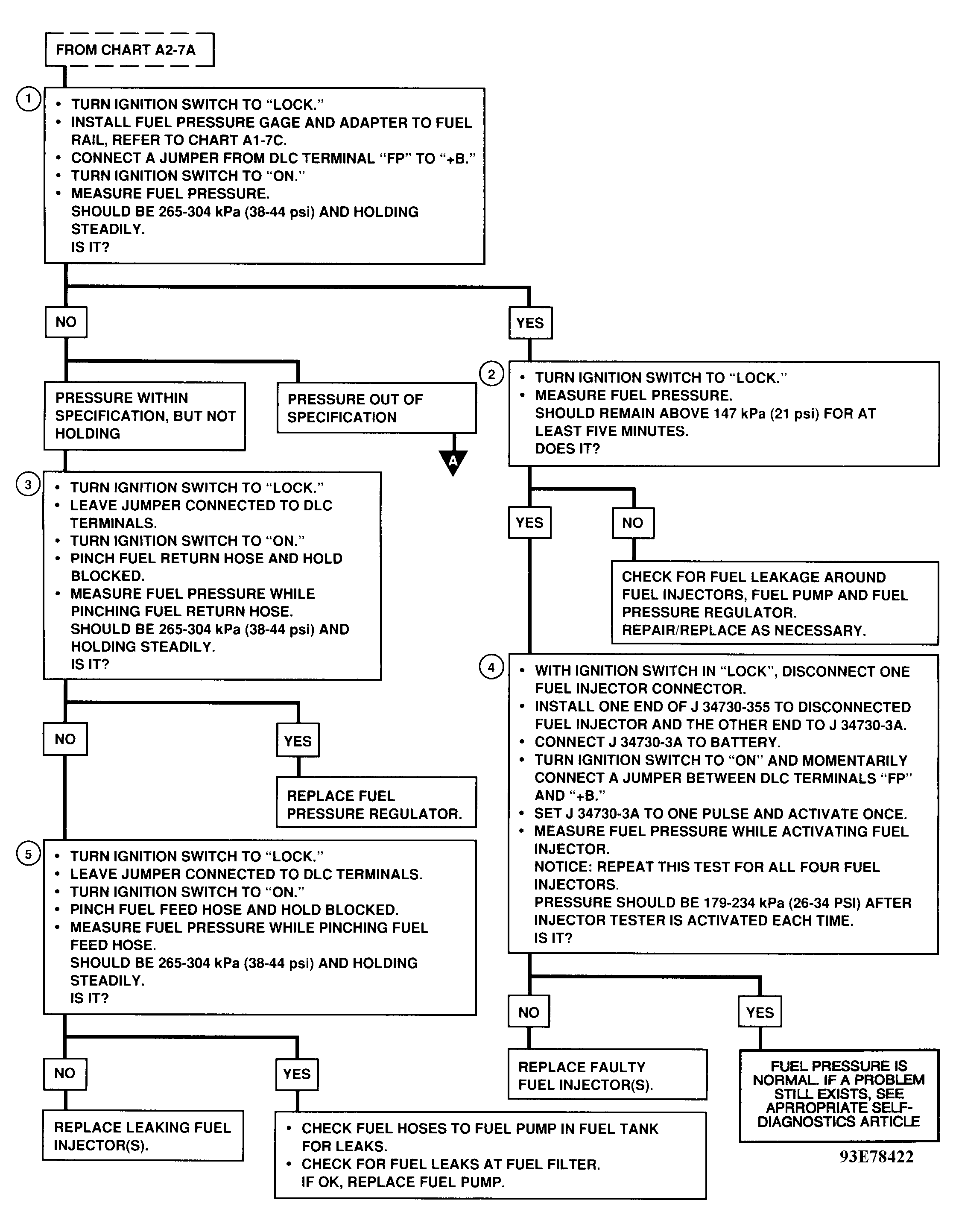
NOTE: For fuel pump specifications, see FUEL PUMP PERFORMANCE  table.
  1. Release fuel pressure. See FUEL PRESSURE RELEASE  . Disconnect negative battery cable. Remove banjo bolt from cold start injector fuel line.
  2. Install Adapter (J-38347) and 2 new gaskets. See Fig 1 . Tighten adapter retaining bolt to 13 ft. lbs. (18 N.m). Install Fuel Pressure Gauge (J-34730-B). Ensure shutoff valve is closed on fuel pressure gauge.
  3. Connect negative battery cable. Turn ignition on. Connect jumper wire between terminal "B+" and fuel pump terminal of diagnostic connector located on left strut tower. Check for fuel leaks.
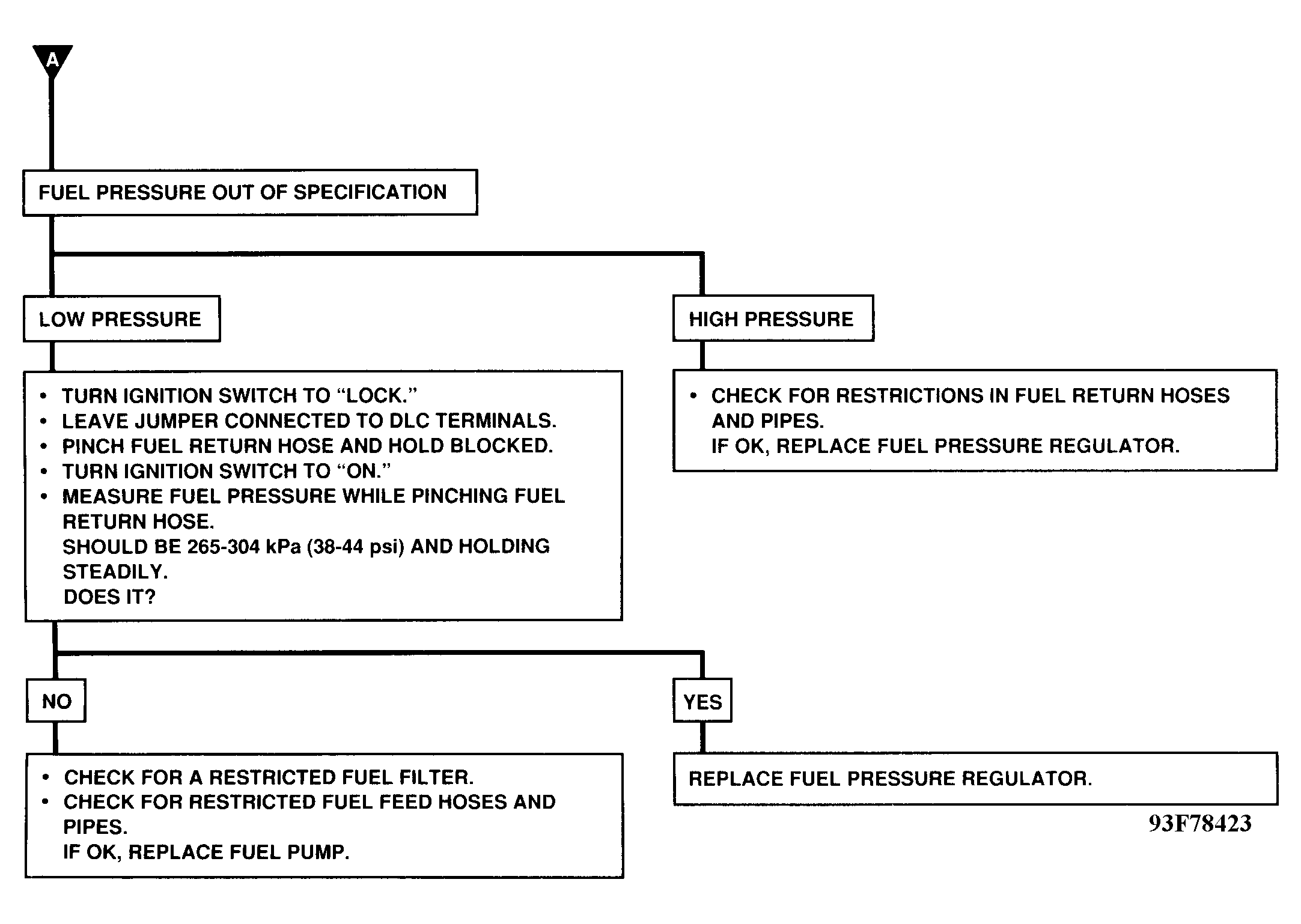
  4. Open fuel pressure gauge shutoff valve. Open fuel pressure gauge air-purge valve to bleed trapped air/fuel into container. Close air-purge valve. Check fuel pressure. See Figure , Figure , and Figure or Figure , Figure and Figure .
  5. Release fuel pressure. Remove fuel pressure gauge. Install cold-start injector banjo bolt, and tighten it to 13 ft. lbs. (18 N.m).
Fig 1: Installing Fuel Pressure Gauge
G93E78471Courtesy of GENERAL MOTORS CORP.
FUEL PUMP PERFORMANCE

Application Pressure: psi (kg/cm2 )
Prizm (1) 40 (2.84)
(1) With ignition on, engine off, pressure regulator vacuum hose disconnected and plugged, and battery voltage applied to terminal FP in diagnostic connector (located on left shock tower).