LEMON Manuals
: Even more car manuals for everyone: 1960-2025
Home
>>
Geo
>>
1993
>>
Storm GSi, Automatic
>>
Repair and Diagnosis
>>
Engine Performance
>>
System
>>
Engine Controls - System/Component Tests
>>
Ignition System
>>
Notes
April 5, 2026:
LEMON Manuals is launched!
Read the announcement.
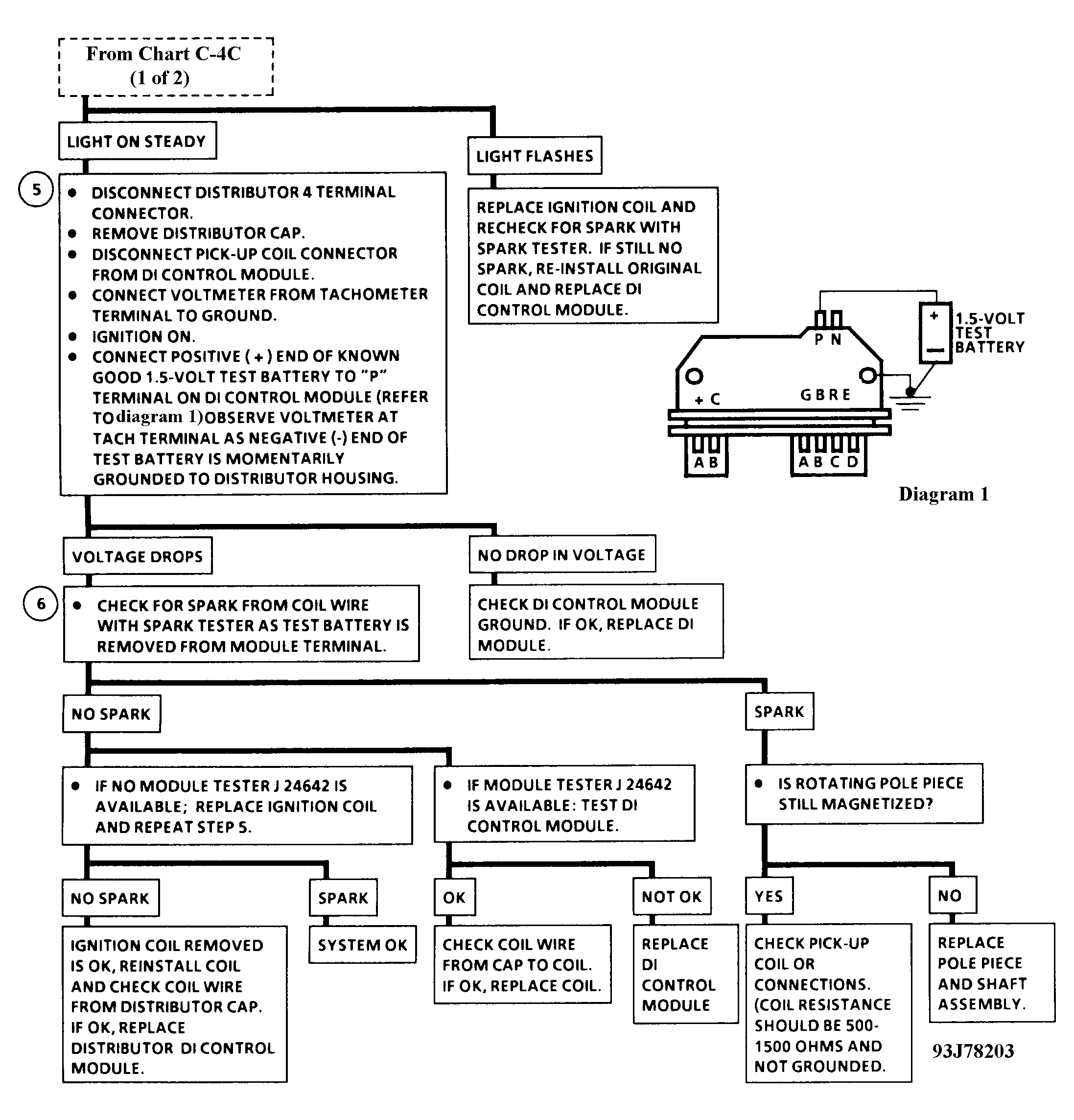
Ignition System: Notes
NOTE:
For basic ignition checks, see BASIC TESTING article in this section. For ignition system testing, see
Figure
,
Figure
, and
Figure
.