LEMON Manuals: Even more car manuals for everyone: 1960-2025
Home >> Honda >> 1987 >> Prelude L4-1955cc 2000 >> Repair and Diagnosis >> Powertrain Management >> Computers and Control Systems >> Relays and Modules - Computers and Control Systems >> Main Relay (Computer/Fuel System) >> Testing and Inspection
April 5, 2026: LEMON Manuals is launched! Read the announcement.

Main Relay (Computer/Fuel System): Testing and Inspection

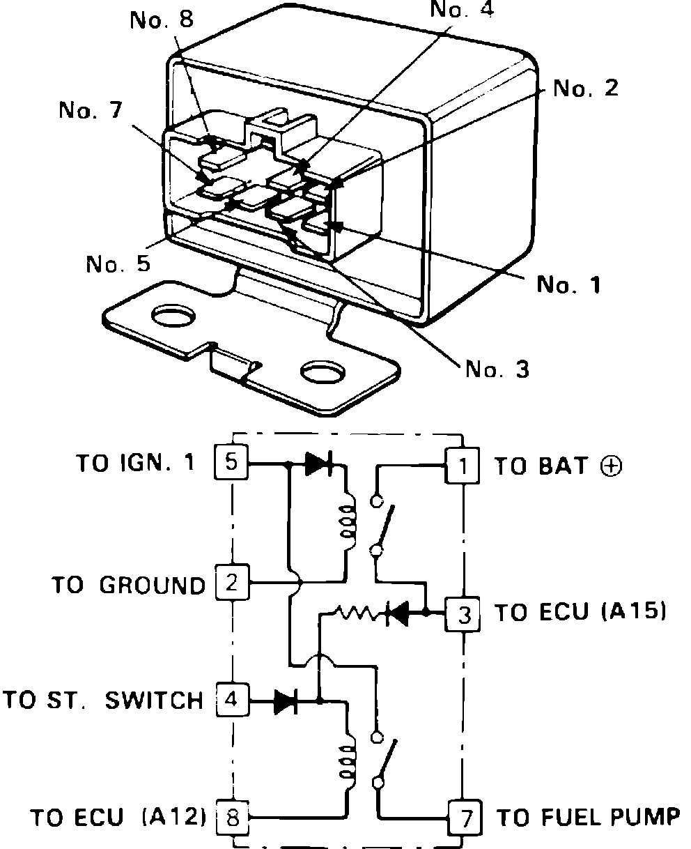
Fig. 34 Main relay terminal identification:





1987---88 ACCORD & PRELUDE
Relay Test
1. Remove main relay, located near under dash fuse box.
2. Attach battery positive terminal to No. 4 terminal, Fig. 34, and battery negative terminal to No. 8 terminal of main relay, then check for continuity between Nos. 5 and 7 terminals.
3. If there is no continuity, replace relay and repeat test.
4. If there is continuity, attach battery positive terminal to No. 5 terminal and battery negative terminal to to No. 2 terminal of main relay, then check for continuity between Nos. 1 and 3 terminals.
5. If there is no continuity, replace relay and repeat test.
6. If there is continuity, attach battery positive terminal to No. 3 terminal and battery negative terminal to No. 8 terminal of main relay, then check continuity between Nos. 5 and 7 terminals.
7. If there is continuity, but fuel pump still does not work, proceed to ``Harness Testing.''
8. If there is no continuity, replace relay and repeat test.



Harness Test
1. With ignition switch in Off position, disconnect main relay connector.
2. Check for continuity between black wire in connector and body ground.
3. Attach positive probe of voltmeter to yellow/blue wire and negative probe to black wire.
4. If there is no voltage, check wiring between battery and main relay as well as No. 1 fuse (10 amp, Accord) or ECU fuse (15 amp, 1987 Prelude; 10 amp, 1988 Prelude) in under hood relay box.
5. Attach positive probe of voltmeter to black/yellow wire and negative probe to black wire.
6. Turn ignition switch to On position.
7. If there is no voltage, check wiring from ignition switch and main relay as well as No. 1 fuse (15 amp, Accord) or regulator fuse (10 amp, Prelude).
8. Attach positive probe of voltmeter to blue/red (Accord, 1988 Prelude) or black/white (1987 Prelude) wire and negative probe to black wire.
9. Turn ignition switch to START position.
10. If there is no voltage, check wiring between ignition switch and main relay as well as No. 10 fuse (7.5 amp, Accord), starter fuse (10 amp, 1987 Prelude) or No. 1 fuse (7.5 amp, 1988 Prelude).
11. Connect jumper wire between black/yellow and yellow (Accord) or yellow/black (Prelude) wires.
12. Turn ignition switch to On position.
13. If fuel pump does not operate, check wiring between battery and fuel pump and wiring from fuel pump to ground.