LEMON Manuals: Even more car manuals for everyone: 1960-2025
Home >> Honda >> 2000 >> Insight >> Repair and Diagnosis >> Brakes >> Traction Control >> Abs (Anti-Lock Brake System) >> System Description >> ABS Control Unit >> Main Control
April 5, 2026: LEMON Manuals is launched! Read the announcement.

Main Control

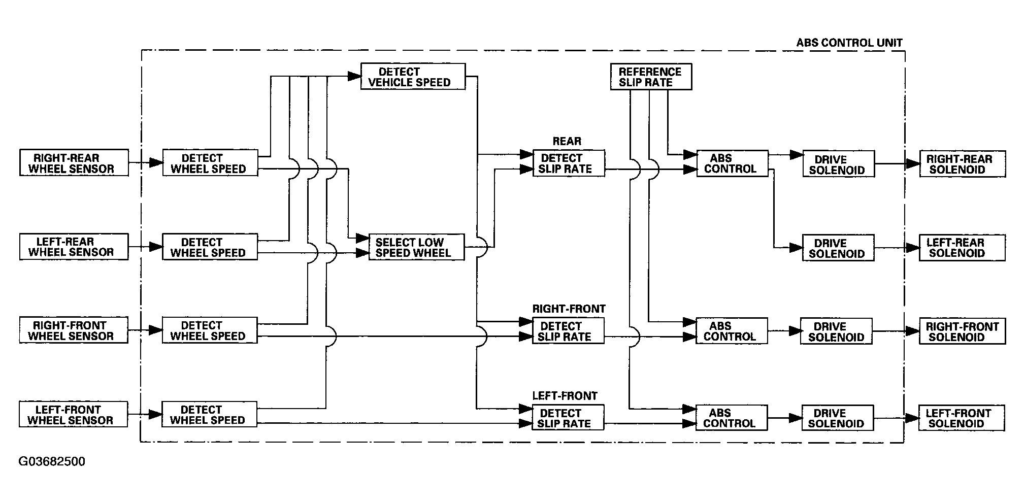
The ABS control unit detects the wheel speed based on the wheel sensor signal it received, then it calculates the vehicle speed based on the detected wheel speed. The ABS control unit detects the vehicle speed during deceleration based on the rate of deceleration.

The ABS control unit calculates the slip rate of each wheel and transmits the control signal to the modulator unit solenoid valve when the slip rate is high.

The pressure reduction control has three modes: Pressure reducing, pressure retaining, and pressure intensifying.

Fig 1: Identifying ABS Control Unit
G03682500Courtesy of AMERICAN HONDA MOTOR CO., INC.