LEMON Manuals: Even more car manuals for everyone: 1960-2025
Home >> Honda >> 2000 >> Odyssey Cargo >> Repair and Diagnosis >> Brakes >> Anti-Lock/Traction Control >> System Description >> TCS Main Control
April 5, 2026: LEMON Manuals is launched! Read the announcement.

TCS Main Control

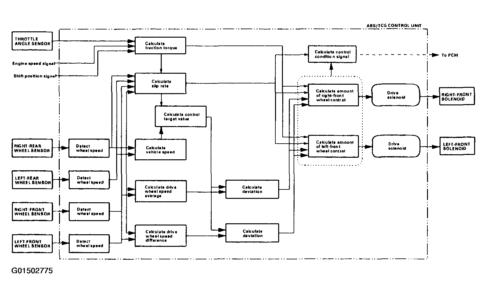
The ABS/TCS control unit controls the TCS based on signal inputs from the throttle position sensor, engine speed sensor, shift position sensor, and the wheel sensors. In addition, the ABS/TCS control unit sends an engine retard request signal to the PCM if necessary. The ABS/TCS control unit uses the modulator unit to control the TCS. The pressure intensifying control has three modes: pressure intensifying, pressure retaining, and pressure reducing.

Fig 1: TCS Main Control Operation Diagram
G01502775Courtesy of AMERICAN HONDA MOTOR CO., INC.