LEMON Manuals: Even more car manuals for everyone: 1960-2025
Home >> Honda >> 2000 >> S2000 >> Repair and Diagnosis >> Body & Frame >> Windows >> Glass >> Glass Replacement Process
April 5, 2026: LEMON Manuals is launched! Read the announcement.

Glass Replacement Process

NOTE:
  • This is general description of the glass replacement process using the windshield as an example. For the location of clips, rubber dams, and other details, go to the part of this article that covers the specific glass you are replacing:
  • Wear gloves to protect your hands.
  • Wear eye protection while cutting glass adhesive with piano wire.
  • Cover interior surfaces to avoid damaging them.
  1. Remove related parts as necessary (see the part of this article that covers the specific glass you are replacing).
  2. Disconnect any connectors from the glass terminals.
  3. Remove the molding (A) from the edge of the glass (B). If necessary, cut the molding with a utility knife.
    Fig 1: Identifying Molding On Edge Of Glass
    G03694579Courtesy of AMERICAN HONDA MOTOR CO., INC.
  4. If the old glass will be reinstalled, make alignment marks across the glass and body with a grease pencil at four points.
  5. Apply protective tape along the edge of the body and related parts.
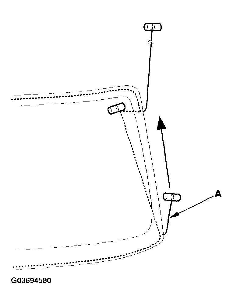
  6. Using an awl, make a hole through the adhesive from inside the vehicle at the corner of the glass.
  7. Push a piece of piano wire through the hole, and wrap each end around a piece of wood.
  8. With a helper on the outside, pull the piano wire (A) back and forth in a sawing motion. Hold the piano wire as close to the windshield as possible to prevent damage to the body and dashboard. Carefully cut through the rubber dam and adhesive around the entire windshield.
    Fig 2: Identifying Piano Wire
    G03694580Courtesy of AMERICAN HONDA MOTOR CO., INC.
  9. Carefully remove the glass.
  10. With a knife, scrape the old adhesive smooth to a thickness of about 2 mm (0.08 in.) on the bonding surface around the entire glass opening flange:
    • Do not scrape down to the painted surface of the body; damaged paint will interfere with proper bonding.
    • Remove any remaining fasteners from the body.
  11. Clean the body bonding surface with a sponge dampened in alcohol. After cleaning, keep oil, grease and water from getting on the clean surface.
  12. If the old glass will be reinstalled, use a putty knife to scrape off all of the old adhesive and any remaining parts from the glass. Clean the inside face of the glass with alcohol where new adhesive will be applied. Make sure the bonding surface is kept free of water, oil and grease.
  13. Attach rubber dams (A), fasteners (B), and other parts to the inside face of the glass (C). Be careful not to touch the glass where adhesive will be applied.
    Fig 3: Identifying Rubber Dams, Fasteners & Other Parts
    G03694581Courtesy of AMERICAN HONDA MOTOR CO., INC.
  14. Attach the molding (A) with adhesive tape (B) to the edge of the glass (C). Be careful not to touch the glass where adhesive will be applied.
    Fig 4: Identifying Molding With Adhesive Tape To Edge Of Glass
    G03694582Courtesy of AMERICAN HONDA MOTOR CO., INC.
  15. Install the fasteners (A) on the body.
    Fig 5: Identifying Fasteners
    G03694583Courtesy of AMERICAN HONDA MOTOR CO., INC.
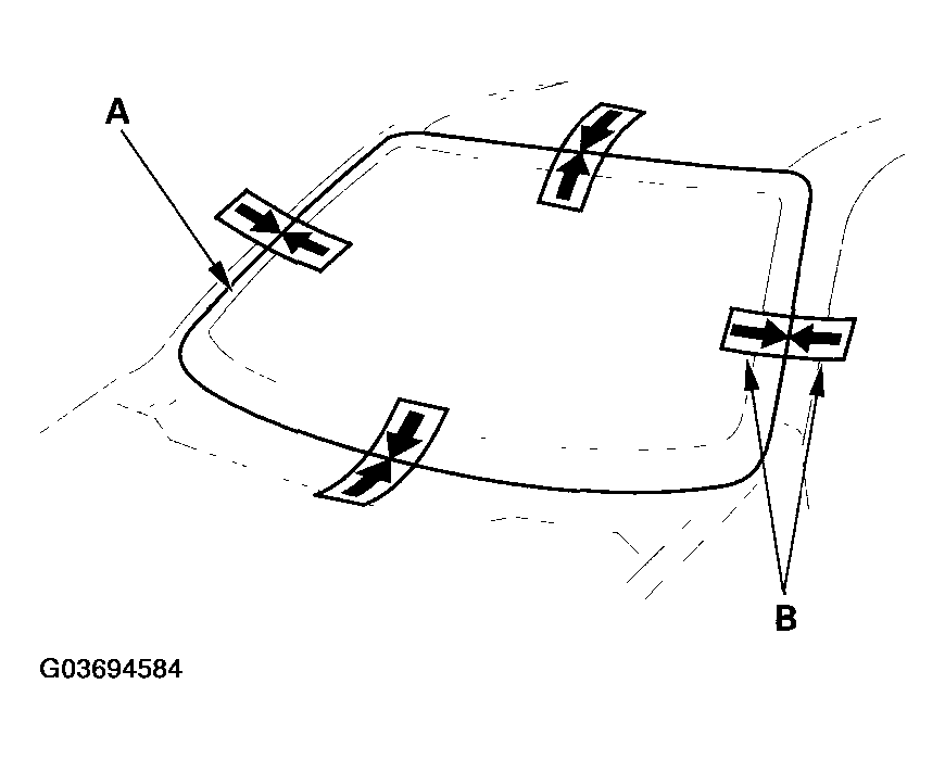
  16. If new glass will be installed, set the glass (A) in the opening, and center it. Make alignment marks (B) across the glass and body with a grease pencil at the four points shown below. Be careful not to touch the glass where adhesive will be applied.
    Fig 6: Setting Glass Applying Marks
    G03694584Courtesy of AMERICAN HONDA MOTOR CO., INC.
  17. Remove the glass.
  18. With a sponge, apply a light coat of glass primer around the edge of the glass (A), then lightly wipe it off with gauze or cheesecloth:
    • Apply glass primer to the molding.
    • Do not apply body primer to the glass, and do not get body and glass primer sponges mixed up.
    • Never touch the primed surfaces with your hands. If you do, the adhesive may not bond to the glass properly, causing a leak after the glass is installed.
    • Keep water, dust, and abrasive materials away from the primed surfaces.
      Fig 7: Applying Glass Primer
      G03694585Courtesy of AMERICAN HONDA MOTOR CO., INC.
  19. With a sponge, carefully apply a light coat of body primer to any exposed paint around the flange where new adhesive will be applied. Let the primer dry for at least 10 minutes:
    • Do NOT apply primer to any remaining original adhesive on the flange.
    • Be careful not to mix up the body and glass primer sponges.
    • Never touch the primed surface with your hands.
  20. Cut a "V" in the end of the nozzle (A) on the adhesive cartridge as shown below.
    Fig 8: Identifying Dimension Cutting Adhesive Cartridge
    G03694586Courtesy of AMERICAN HONDA MOTOR CO., INC.
  21. Put the cartridge in a caulking gun, and run a bead of adhesive (A) around the edge of the glass (B) between the rubber dam (C) and molding (D) as shown. Apply the adhesive within 30 minutes after applying the glass primer. Make a slightly thicker bead at each corner.
    Fig 9: Applying Glass Thicker Bead Each Corner
    G03694587Courtesy of AMERICAN HONDA MOTOR CO., INC.
  22. Use suction cups to hold the glass over the opening, align it with the alignment marks made in step  3 or  16, and set it down on the adhesive. Lightly push on the glass until its edges are fully seated on the adhesive all the way around. Do not open or close the doors until the adhesive is dry.
  23. Scrape or wipe any excess adhesive off with a putty knife or towel. To remove adhesive from a painted surface or the glass, wipe with a soft shop towel dampened with alcohol.
  24. Let the adhesive dry for at least 1 hour, then spray water over the glass and check for leaks. Mark leaking areas, and let the glass dry, then seal with sealant:
    • Let the vehicle stand for at least 4 hours after glass installation. If the vehicle has to be used within the first 4 hours, it must be driven slowly.
    • Keep the glass dry for the first hour after installation.
  25. Reinstall all remaining removed parts. Install the rearview mirror after the adhesive has dried thoroughly.
    NOTE: Advise the customer not to do the following things for 2 to 3 days:
    • Slam the doors with all the windows rolled up.
    • Twist the body excessively (such as when going in and out of driveways at an angle or driving over rough, uneven roads).