LEMON Manuals: Even more car manuals for everyone: 1960-2025
Home >> Honda >> 2003 >> Civic L4-1.7L CNG >> Repair and Diagnosis >> Transmission and Drivetrain >> Continuously Variable Transmission/Transaxle >> Control Module >> Testing and Inspection >> How to Remove the PCM For Testing
April 5, 2026: LEMON Manuals is launched! Read the announcement.

How to Remove the PCM For Testing

How to Remove the PCM for Testing

1. Remove the passenger's dashboard lower cover, the right kick panel, and the glove box.




2. Remove the bolt. Cut the plastic cross brace in the glove box opening with diagonal cutters in the area shown, and discard it.




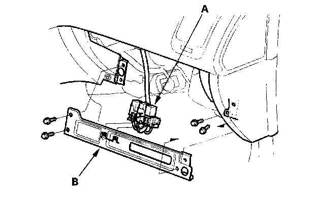
3. Remove the relays (A), then remove the bolts and the glove box frame (B).




4. Remove the gray 20P PCM wire harness connector from the PCM mounting bracket. Remove the PCM mounting bolt (A) and the bracket.
5. Remove the nuts, then remove the PCM (B).
6. Install the PCM in the reverse order of removal.